TOP
|
特許
|
意匠
|
商標
意匠ウォッチ
Twitter
他の意匠を見る
発行日
2025-04-30
公報種別
意匠公報(S)
登録番号
1797301
登録日
2025-04-21
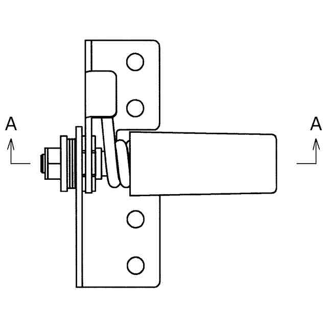
意匠に係る物品
蝶番
意匠分類
M3
-230(ねじ、くぎ、開閉金物、係止具等)
出願番号
2024011046
出願日
2024-05-31
意匠権者
スガツネ工業株式会社
,
SUGATSUNE KOGYO CO.,LTD.
代理人
意匠に係る物品の説明
本物品は、2つの部材が相対回動するものであり、例えば、一方の部材を家具の扉や機械装置の蓋体に取り付け、他方の部材を家具本体や機械装置の本体に取り付けて、扉や蓋体を回動可能に連結するものである。
意匠の説明
この意匠をJ-PlatPat(特許庁公式サイト)で参照する
関連意匠
スガツネ工業株式会社
小物掛け
9か月前
スガツネ工業株式会社
取手
10か月前
スガツネ工業株式会社
取手
10か月前
スガツネ工業株式会社
取手
10か月前
スガツネ工業株式会社
電源プラグ受け
1か月前
スガツネ工業株式会社
取手
10か月前
スガツネ工業株式会社
蝶番
19日前
スガツネ工業株式会社
蝶番
8か月前
スガツネ工業株式会社
パイプクランプ
7か月前
スガツネ工業株式会社
蝶番
5か月前
スガツネ工業株式会社
蝶番
4か月前
スガツネ工業株式会社
棚受
19日前
スガツネ工業株式会社
棚受
19日前
スガツネ工業株式会社
棚受
19日前
スガツネ工業株式会社
蝶番
4か月前
スガツネ工業株式会社
配線孔具
3か月前
スガツネ工業株式会社
配線孔具
3か月前
スガツネ工業株式会社
配線孔具
3か月前
スガツネ工業株式会社
引戸のブラケット用カバー
2か月前
スガツネ工業株式会社
ドアクローザー
3か月前
スガツネ工業株式会社
ドアクローザー
3か月前
スガツネ工業株式会社
扉用回動規制具
8か月前
スガツネ工業株式会社
扉用回動規制具
8か月前
スガツネ工業株式会社
ドアストッパー
3か月前
スガツネ工業株式会社
配線器具用プレート
7か月前
スガツネ工業株式会社
配線器具用プレート
7か月前
スガツネ工業株式会社
ドアクローザー用受け具
3か月前
アブロイ オサケ ユキチュア
錠
11か月前
個人
錠
2か月前
株式会社ヤマシナ
ねじ
12か月前
スガツネ工業株式会社
取手
10か月前
スガツネ工業株式会社
取手
10か月前
スガツネ工業株式会社
取手
10か月前
スガツネ工業株式会社
取手
10か月前
スガツネ工業株式会社
蝶番
5か月前
スガツネ工業株式会社
蝶番
8か月前
続きを見る
他の意匠を見る