TOP
|
特許
|
意匠
|
商標
意匠ウォッチ
Twitter
他の意匠を見る
発行日
2025-09-09
公報種別
意匠公報(S)
登録番号
1808020
登録日
2025-08-29
意匠に係る物品
膜天井支持具
意匠分類
L4
-55(建築用構成品)
出願番号
2025002567
出願日
2025-02-10
意匠権者
有限会社ファインアートかわばた
代理人
個人
,
個人
意匠に係る物品の説明
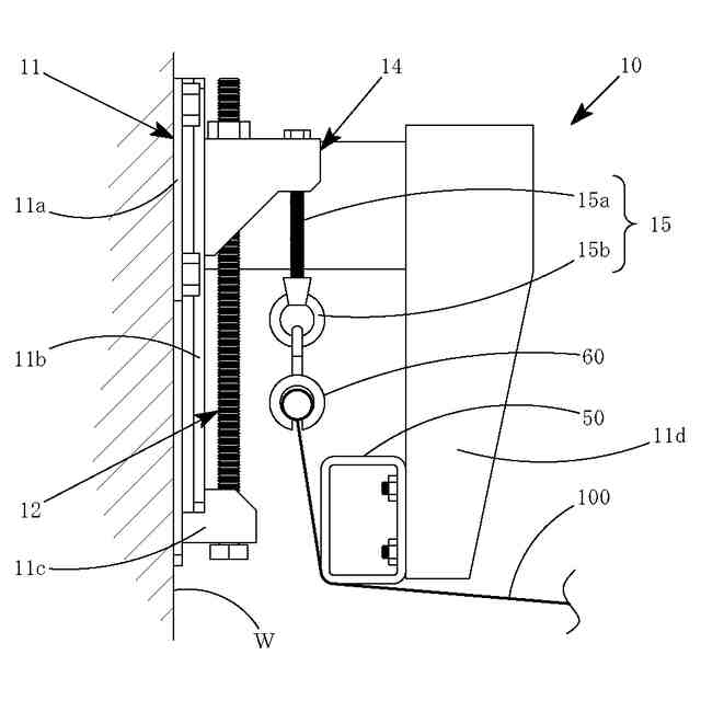
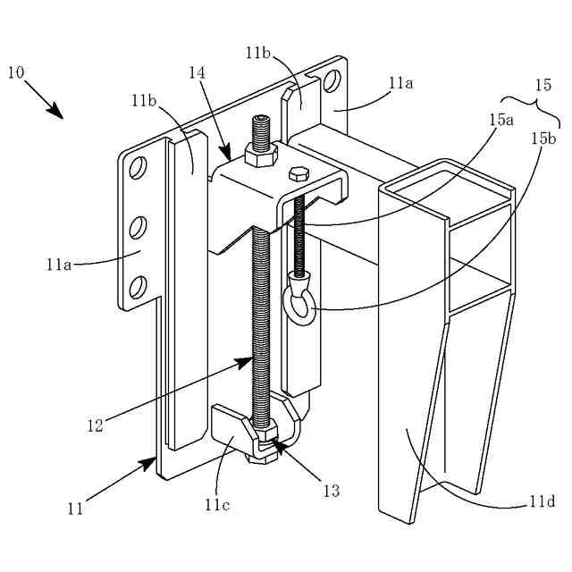
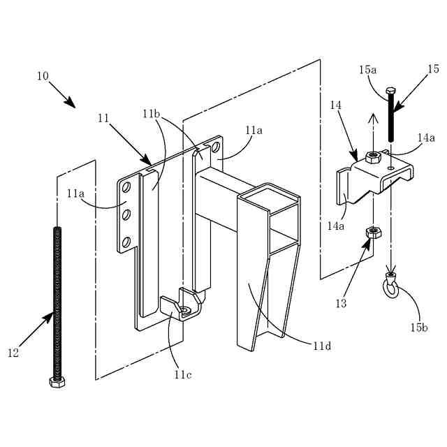
本物品は、建物の構造躯体(壁や梁や柱等)に対して膜天井の端縁部を支持するための膜天井支持具に関する。「各部名称を示す参考斜視図」及び「各部名称を示す参考分解斜視図」に示すように、本物品の膜天井支持具10は、ベース部材11と、高さ調節部材12と、ストッパー部材13と、昇降部材14と、吊下げ部材15とで構成される。ベース部材11は、ベース部材11の平板状部分から左右一対に設けられた被固定部11a,11aと、ベース部材11の平板状部分の前面側に左右一対で上下方向に設けられたガイド部11b,11bと、ベース部材11の平板状部分の前面側下部に設けられた高さ調節部材保持部11cと、ベース部材11の平面状部分から前面側に突出してその先端部が下向きに設けられたアーム部11dとを備えている。被固定部11a,11aは、「使用状態を示す参考図1」及び「使用状態を示す参考図2」に示すように、壁W等の構造躯体に対して、ボルト等の固定具を用いて固定される部分となっている。ガイド部11b,11bは、「各部名称を示す参考斜視図」及び「各部名称を示す参考分解斜視図」に示すように、それぞれ、上下方向に延びる案内溝を有しており、後述する昇降部材14の被ガイド片部14aを挿入することで、昇降部材14を上下方向に案内する部分となっている。高さ調節部材保持部11cは、後述する高さ調節部材12を保持するための部分となっている。アーム部11dは、「使用状態を示す参考図1」及び「使用状態を示す参考図2」に示すように、その下向き部分の先端部(下端部)に案内フレーム50を固定するための部分となっている。また、高さ調節部材12は、「各部名称を示す参考斜視図」及び「各部名称を示す参考分解斜視図」に示すように、ネジ軸部と頭部とを有するボルトとなっており、そのネジ軸部を、ベース部材11の高さ調節部材保持部11cに設けられた貫通孔に対し下側から挿通し、昇降部材14に設けられたネジ孔に螺合した状態とされる。さらに、ストッパー部材13は、ナットとなっており、高さ調節部材12(ボルト)のネジ軸部における頭部付近に螺合することで、高さ調節部材保持部11cの貫通孔に挿通された高さ調節部材12が下側に抜け落ちないようにするためのものとなっている。さらにまた、昇降部材14は、「各部名称を示す参考分解斜視図」に示すように、左右一対の被ガイド片部14a,14aと、上記の高さ調節部材12(ボルト)のネジ軸部を螺合するためのネジ孔と、後述する吊下げ部材15を取り付けるための貫通孔とを有している。そして、吊下げ部材15は、ネジ軸部と頭部とを有するボルト15aと、ボルト15aのネジ軸部の先端部(下端部)に螺合される掛止具15bとで構成され、上記の昇降部材14に設けられた貫通孔にボルト15aのネジ軸部を上側から挿通することによって、昇降部材14から垂れ下がった状態に取り付けられる。本物品の膜天井支持具10は、「使用状態を示す参考図1」に示すように、建物の構造躯体(同図では壁W)における天井付近に、略水平方向に所定間隔を隔てて複数台を並べて固定するとともに、それぞれの膜天井支持具10のアーム部11dに、案内フレーム50(アングル鋼等)を掛け渡した状態で固定して使用される。建物の構造躯体における、これらの膜天井支持具10に対向する箇所(対向する壁等)にも、同様に、膜天井支持具10が固定される。一側の構造躯体(壁W等)に固定された膜天井支持具10と、他側の構造躯体(対向する壁等)に固定された膜天井との間に、膜天井100(「使用状態を示す参考図2」を参照。)を掛け渡した状態とすることによって、膜天井100が施工される。膜天井100は、案内フレーム50の下側に掛け回され、その端縁部を吊り下げ部材15の掛止具15bに掛止される。本実施形態では、膜天井100の端縁部にスライドレール60を取り付けており、そのスライドレール60から上向きに設けたフックを掛止具15bに係止するようにしている。高さ調節部材12(ボルト)の頭部を、スパナや六角レンチ等の工具を用いて下側から操作し、高さ調節部材12(ボルト)を正側に回転させると、高さ調節部材12(ボルト)のネジ軸部に螺合された昇降部材14がガイド部11bに沿って上昇する。これにより、膜天井100を張った状態とすることができる。一方、高さ調節部材12(ボルト)を逆側に回転させると、昇降部材14がガイド部11bに沿って下降する。これにより、膜天井100を弛んだ状態とすることができる。本物品の膜天井支持具は、膜天井の施工を容易にするだけでなく、その施工後において、膜天井の張り具合を容易に調節することが可能なものとなっている。
意匠の説明
この意匠をJ-PlatPat(特許庁公式サイト)で参照する
関連意匠
有限会社ファインアートかわばた
膜天井支持具
3か月前
大建工業株式会社
窓
2か月前
大建工業株式会社
窓
2か月前
個人
階段
8か月前
株式会社LIXIL
網戸
1か月前
YKK AP株式会社
外構壁
5か月前
株式会社大林組
連結具
3か月前
YKK AP株式会社
外構壁
5か月前
ナカ工業株式会社
点検口
4か月前
ナカ工業株式会社
点検口
4か月前
ナカ工業株式会社
点検口
4か月前
YKK AP株式会社
外構壁
5か月前
株式会社橋梁メンテナンス
集水器
5か月前
株式会社橋梁メンテナンス
集水器
5か月前
積水化学工業株式会社
樋継手
2か月前
YKK AP株式会社
外構壁
5か月前
ライフデザイン・カバヤ株式会社
耐力壁
6か月前
株式会社橋梁メンテナンス
集水器
5か月前
ライフデザイン・カバヤ株式会社
耐力壁
6か月前
積水化学工業株式会社
樋継手
2か月前
株式会社タクト
戸当り
9か月前
株式会社タクト
戸当り
9か月前
ナカ工業株式会社
点検口
2か月前
株式会社サカタ製作所
改修金具
2か月前
株式会社LIXIL
建物用戸
11か月前
株式会社サカタ製作所
改修金具
2か月前
株式会社サカタ製作所
改修金具
2か月前
株式会社LIXIL
建物用窓
5か月前
株式会社サンライズテック
雪止め板
2か月前
株式会社長谷川工業所
雪止め具
2か月前
株式会社サカタ製作所
改修金具
2か月前
株式会社タツミ
柱脚金具
3か月前
株式会社サカタ製作所
改修金具
2か月前
株式会社タツミ
柱脚金具
3か月前
株式会社タツミ
柱脚金具
3か月前
アップル インコーポレイテッド
部屋入口
10か月前
続きを見る
他の意匠を見る