TOP
|
特許
|
意匠
|
商標
意匠ウォッチ
Twitter
他の意匠を見る
発行日
2025-11-05
公報種別
意匠公報(S)
登録番号
1728634
登録日
2022-10-21
意匠に係る物品
搬送用レール
意匠分類
G1
-60(運搬、昇降又は貨物取扱い用機械器具)
出願番号
2022002333
出願日
2022-02-07
意匠権者
株式会社 ゼンショーホールディングス
代理人
特許業務法人後藤特許事務所
意匠に係る物品の説明
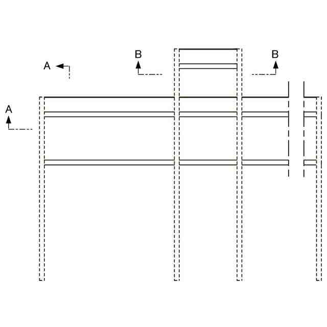
本物品は、例えば飲食店や物流倉庫などにおいて、物品を搬送する移動体の移動を案内するレールである。本物品では、各部の名称を示す参考斜視図に示すように、一対の第1レール、一対の第2レール、一対の第1昇降レール、一対の第3レール、及び一対の第2昇降レールが、正面視で下方から上方に向けて設けられている。車輪を有する移動体は、一対の第1レール、一対の第2レール、及び一対の第3レール上を長手方向に沿って移動することができる。一対の第1昇降レールは、移動体が一対の第1レールと一対の第2レールとの間を昇降移動する際に移動体を支持するためのものである。一対の第2昇降レールは、移動体が一対の第2レールと一対の第3レールとの間を昇降移動する際に移動体を支持するためのものである。移動体が第1レールから第2レールに向けて上昇する場合には、例えば、移動体が第1レール上にある状態(使用状態参考図1)から、荷台を上昇、回転させて第1昇降レールに係止させることで本体が第1昇降レールに支持された状態(使用状態参考図2)とする。そして、本体を回転させることで車輪を第1レール上から離脱させ第2レール間を通過可能な状態(使用状態参考図3)とし、続いて本体を荷台に向けて引き上げて本体に第2レール間を通過させる(使用状態参考図4)。さらに、本体を再び回転させることで第2レール上に位置させ、荷台を回転させることで第1昇降レールからの支持が解除されて、移動体は第2レールへと載置される(使用状態参考図5)。移動体が第2レールから第3レールに向けて上昇する場合には、例えば、平面視で第3レールと交差する部分において第2レール上に移動体が位置した状態(使用状態参考図6)から、荷台を上昇、回転させて第2昇降レールに係止させることで本体が第2昇降レールに支持された状態(使用状態参考図7)とする。そして、本体を回転させることで車輪を第2レール上から離脱させ第1昇降レール間を通過可能な状態(使用状態参考図8)とする。続いて、本体を荷台に向けて引き上げて本体に第1昇降レール間を通過させたのち、本体を再び回転させることで第3レール間を通過可能な状態とする(使用状態参考図9)。この状態からさらに荷台に向けて引き上げて第3レール間を通過させると、本体を回転させることで車輪を第3レール上に位置させ、さらに荷台を回転させることで第2昇降レールからの支持が解除されて、移動体は第3レールへと載置される(使用状態参考図10)。このように、本物品は、移動体を支持する第1昇降レールが設けられることによって第1レールと第2レールとの間を移動体が自動で昇降することができ、移動体を支持する第2昇降レールが設けられることによって第2レールと第3レールとの間を移動体が自動で昇降することができるものである。
意匠の説明
背面図は、正面図と対称に表れるため、省略する。底面図は、平面図と対称に表れるため、省略する。右側面図は、左側面図と対称に表れるため、省略する。破線で表した部分以外の部分が、意匠登録を受けようとする部分である。各図面中の一点鎖線は、中間省略を示し、中間省略した部分は、平面図において上側の部分が図面上81cm、下側の部分が図面上122cmである。
この意匠をJ-PlatPat(特許庁公式サイト)で参照する
関連意匠
株式会社 ゼンショーホールディングス
3日前
株式会社 ゼンショーホールディングス
11か月前
株式会社 ゼンショーホールディングス
11か月前
株式会社 ゼンショーホールディングス
11か月前
株式会社 ゼンショーホールディングス
11か月前
株式会社 ゼンショーホールディングス
11か月前
株式会社 ゼンショーホールディングス
3日前
株式会社 ゼンショーホールディングス
11か月前
株式会社 ゼンショーホールディングス
6か月前
株式会社 ゼンショーホールディングス
6か月前
株式会社 ゼンショーホールディングス
6か月前
株式会社 ゼンショーホールディングス
3か月前
株式会社 ゼンショーホールディングス
3か月前
株式会社 ゼンショーホールディングス
3か月前
株式会社 ゼンショーホールディングス
搬送車
4か月前
株式会社 ゼンショーホールディングス
飲食店用情報端末
2か月前
株式会社 ゼンショーホールディングス
鍋
6か月前
株式会社 ゼンショーホールディングス
搬送用レール
26日前
株式会社 ゼンショーホールディングス
搬送用レール
26日前
株式会社永木精機
掴線器
6か月前
山九株式会社
トロリ
7か月前
株式会社エコシステム販売
フック
6か月前
株式会社永木精機
掴線器
2か月前
株式会社永木精機
掴線器
6か月前
トライウォールジャパン株式会社
運搬用箱
5か月前
トライウォールジャパン株式会社
運搬用箱
5か月前
株式会社積水化成品沖縄
運搬用具
6か月前
常州路達曼智能科技有限公司
スロープ
4か月前
常州路達曼智能科技有限公司
スロープ
4か月前
有限会社 テクノ世紀
コンテナ
6か月前
トライウォールジャパン株式会社
運搬用箱
8か月前
広東順和工業有限公司
コンテナ
2か月前
岐阜プラスチック工業株式会社
運搬用容器
9か月前
岐阜プラスチック工業株式会社
運搬用容器
2か月前
岐阜プラスチック工業株式会社
運搬用容器
9か月前
岐阜プラスチック工業株式会社
運搬用容器
7か月前
続きを見る
他の意匠を見る