TOP
|
特許
|
意匠
|
商標
意匠ウォッチ
Twitter
他の意匠を見る
発行日
2025-10-01
公報種別
意匠公報(S)
登録番号
1725795
登録日
2022-09-16
意匠に係る物品
飲食店用情報端末
意匠分類
N3
-11W()
出願番号
2020025601
出願日
2020-11-27
意匠権者
株式会社 ゼンショーホールディングス
代理人
特許業務法人後藤特許事務所
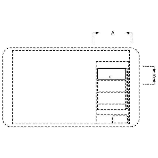
意匠に係る物品の説明
意匠に係る物品は、飲食店において来店客が商品の注文や会計等の操作を行うための飲食店用情報端末である。正面図中央には、画像が表示されるタッチパネル式の表示部が設けられる。本物品は、別の端末(例えば、来店客のスマートホンなど。以下、単に「別の端末」と称する。)と関連付け可能なものであり、本物品と別の端末とが関連付けされることで、来店客は、別の端末を通じても、本物品から注文したのと同じように注文することができる。表示部に表示される画像は、本物品からの注文内容と別の端末を通じた注文内容とを含む注文状況を確認するために用いられる画像である。参考画像図に示すように、本画像は、注文した商品を表す商品ボックスが一又は複数表示される注文表示領域を含む。本画像では、正面図及び参考画像図に示すように、本物品と関連付けられた別の端末から注文されたことを示すための端末アイコンが商品ボックス上に表示される。注文された商品を表す商品ボックス内に端末アイコンが表示されることで、その商品がどの端末から注文されたものであるかを識別することができる。
意匠の説明
実線であらわした部分が、意匠登録を受けようとする部分である。
この意匠をJ-PlatPat(特許庁公式サイト)で参照する
関連意匠
株式会社 ゼンショーホールディングス
3日前
株式会社 ゼンショーホールディングス
11か月前
株式会社 ゼンショーホールディングス
11か月前
株式会社 ゼンショーホールディングス
11か月前
株式会社 ゼンショーホールディングス
11か月前
株式会社 ゼンショーホールディングス
11か月前
株式会社 ゼンショーホールディングス
3日前
株式会社 ゼンショーホールディングス
11か月前
株式会社 ゼンショーホールディングス
6か月前
株式会社 ゼンショーホールディングス
6か月前
株式会社 ゼンショーホールディングス
6か月前
株式会社 ゼンショーホールディングス
3か月前
株式会社 ゼンショーホールディングス
3か月前
株式会社 ゼンショーホールディングス
3か月前
株式会社 ゼンショーホールディングス
搬送車
4か月前
株式会社 ゼンショーホールディングス
飲食店用情報端末
2か月前
株式会社 ゼンショーホールディングス
鍋
6か月前
株式会社 ゼンショーホールディングス
搬送用レール
26日前
株式会社 ゼンショーホールディングス
搬送用レール
26日前
ウォーターズ テクノロジーズ アイルランド リミテッド
GUI
10か月前
アプライド マテリアルズ インコーポレイテッド
GUI
6か月前
三星電子株式会社
GUI
1か月前
三星電子株式会社
GUI
1か月前
華為技術有限公司
GUI
10か月前
華為技術有限公司
GUI
10か月前
華為技術有限公司
GUI
10か月前
エアビーアンドビー インコーポレイテッド
GUI
11か月前
華為技術有限公司
GUI
10か月前
華為技術有限公司
GUI
1か月前
ウォーターズ テクノロジーズ アイルランド リミテッド
GUI
10か月前
アプライド マテリアルズ インコーポレイテッド
GUI
6か月前
ウォーターズ テクノロジーズ アイルランド リミテッド
GUI
10か月前
華為技術有限公司
GUI
10か月前
アプライド マテリアルズ インコーポレイテッド
GUI
6か月前
ウォーターズ テクノロジーズ アイルランド リミテッド
GUI
10か月前
アプライド マテリアルズ インコーポレイテッド
GUI
6か月前
続きを見る
他の意匠を見る