TOP
|
特許
|
意匠
|
商標
特許ウォッチ
Twitter
他の特許を見る
10個以上の画像は省略されています。
公開番号
2025178298
公報種別
公開特許公報(A)
公開日
2025-12-05
出願番号
2025152064,2023181516
出願日
2025-09-12,2016-05-04
発明の名称
情報処理方法、端末及びコンピュータ記憶媒体
出願人
テンセント・テクノロジー・(シェンジェン)・カンパニー・リミテッド
,
TENCENT TECHNOLOGY (SHENZHEN) COMPANY LIMITED
代理人
弁理士法人ITOH
主分類
A63F
13/56 20140101AFI20251128BHJP(スポーツ;ゲーム;娯楽)
要約
【課題】本発明は情報処理方法、端末及びコンピュータ記憶媒体を提供する。
【解決手段】方法は仮想リソースオブジェクトを取得するために、グラフィカルユーザインタフェース内でレンダリングを実行し;スキル操作エリア内に配置された少なくとも1つのスキルオブジェクトについてのスキル操作トリガージェスチャを検出したときに、スキルオブジェクトの解放位置を決定するために、スキル解放トリガージェスチャによるスキルオブジェクトの動きを検出し;解放位置とユーザキャラクタオブジェクトとの間の距離を検出し、距離がスキル解放距離より大きいときに、解放位置に向かって移動させるようにユーザキャラクタオブジェクトを調整し;及び、スキルオブジェクトについてのスキル操作解放ジェスチャを検出したときに、解放位置に基づいて、スキルオブジェクトについてのスキル解放操作を実行することを含む。
【選択図】図2
特許請求の範囲
【請求項1】
グラフィカルユーザインタフェース(GUI)を取得するために、ソフトウェアアプリケーションが端末のプロセッサ上で実行され、レンダリングが前記端末のディスプレイ上で実行され、前記プロセッサ、前記GUI及び前記ソフトウェアアプリケーションがゲームシステム内で実施される情報処理方法であって、
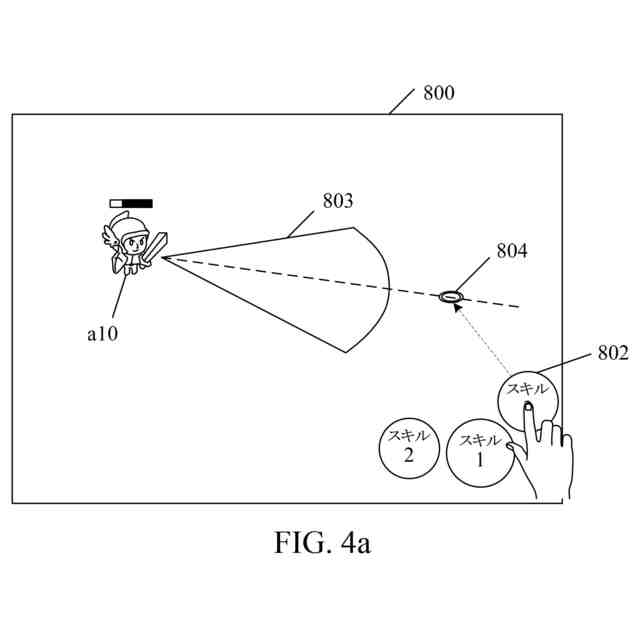
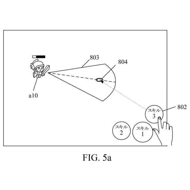
少なくとも1つの仮想リソースオブジェクトを取得するために、前記GUI内でレンダリングを実行するステップであり、前記仮想リソースオブジェクトのうち少なくとも1つは、入力されたユーザコマンドに従って仮想操作を実行するユーザキャラクタオブジェクトとして構成されるステップと、
前記GUI内のスキル操作エリア内に配置された少なくとも1つのスキルオブジェクトについてのスキル操作トリガージェスチャを検出したときに、前記スキルオブジェクトの解放位置を決定するために、スキル解放トリガージェスチャによる前記スキルオブジェクトの動きを検出するステップと、
前記解放位置と前記ユーザキャラクタオブジェクトとの間の距離を検出し、前記距離がスキル解放距離より大きいときに、前記解放位置に向かって移動させるように前記ユーザキャラクタオブジェクトを調整するステップと、
前記スキルオブジェクトについてのスキル操作解放ジェスチャを検出したときに、前記解放位置に基づいて、前記スキルオブジェクトについてのスキル解放操作を実行するステップと
を含む方法。
発明の詳細な説明
【技術分野】
【0001】
本開示は、情報処理技術に関し、特に、情報処理方法、端末及びコンピュータ記憶媒体に関する。
続きを表示(約 3,500 文字)
【背景技術】
【0002】
インターネット技術の急速な発展と、大画面及び超大画面のインテリジェント端末の次第の普及によって、インテリジェント端末のプロセッサは、ますます高い処理能力を有しており、これにより、マンマシン相互作用に基づく制御を実施する多くのアプリケーションが大画面又は超大画面上に現れている。マンマシン相互作用に基づく制御を実施する過程において、多くのユーザは、異なる相互作用結果を取得するために、1対1、1対多及び多対多の形式のグループを作成することにより異なる相互作用モードを実行し得る。例えば、大画面又は超大画面上でのレンダリングを通じて取得されたグラフィカルユーザインタフェース(GUI:graphical user interface)において、複数のユーザが2つの異なるグループにグループ化された後に、マンマシン相互作用における制御処理を用いて、情報交換が異なるグループの間で実行されてもよく、異なる相互作用結果が情報交換に対する応答に従って取得される。マンマシン相互作用における制御処理を用いて、情報交換が同じグループ内のグループメンバの間で更に実行されてもよく、異なる相互作用結果が情報交換に対する応答に従って取得される。
【0003】
既存の技術では、GUIにおいてユーザにより制御される仮想オブジェクトは、一般的に少なくとも1つのスキルを有し、スキル解放を用いて特定の範囲内のターゲットオブジェクトと情報交換を実行することができる。異なる解放スキルは、ターゲットオブジェクトについて異なる相互作用応答結果をもたらす。しかし、スキル解放は、常に特定のエリア範囲内のターゲットオブジェクトについて実行され、その範囲は大きく、ターゲットが絞られていない。特定のエリア範囲内に1つのみのターゲットオブジェクトが存在するか、或いはターゲットオブジェクトの位置が比較的集中しているシナリオでは、このような相互作用方式で取得された相互作用結果は、通常ではユーザの要件を満たすことができない。関係技術では、現在、スキル解放を特定の位置に向けさせるための有効な解決策は依然として存在しない。
【発明の概要】
【0004】
本発明の実施例は、情報交換の過程においてスキル解放を特定の位置に向けさせ、これにより、ユーザ体験を向上させるための情報処理方法、端末及びコンピュータ記憶媒体を提供することを想定する。
【0005】
前述の目的を実現するため、本発明の実施例における技術的解決策は以下のように実施される。
【0006】
本発明の実施例は、GUIを取得するために、ソフトウェアアプリケーションが端末のプロセッサ上で実行され、レンダリングが端末のディスプレイ上で実行され、プロセッサ、GUI及びソフトウェアアプリケーションがゲームシステム内で実施される情報処理方法を提供し、この方法は、
少なくとも1つの仮想リソースオブジェクトを取得するために、GUI内でレンダリングを実行するステップであり、仮想リソースオブジェクトのうち少なくとも1つは、入力されたユーザコマンドに従って仮想操作を実行するユーザキャラクタオブジェクトとして構成されるステップと、
GUI内のスキル操作エリア内に配置された少なくとも1つのスキルオブジェクトについてのスキル操作トリガージェスチャを検出したときに、スキルオブジェクトの解放位置を決定するために、スキル解放トリガージェスチャによるスキルオブジェクトの動きを検出するステップと、
解放位置とユーザキャラクタオブジェクトとの間の距離を検出し、距離がスキル解放距離より大きいときに、解放位置に向かって移動させるようにユーザキャラクタオブジェクトを調整するステップと、
スキルオブジェクトについてのスキル操作解放ジェスチャを検出したときに、解放位置に基づいて、スキルオブジェクトについてのスキル解放操作を実行するステップと
を含む。
【0007】
本発明の実施例は、レンダリング処理ユニットと、検出ユニットと、操作実行ユニットとを含む端末を更に提供し、
レンダリング処理ユニットは、GUIを取得するために、ソフトウェアアプリケーションを実行し、レンダリングを実行し、少なくとも1つの仮想リソースオブジェクトを取得するために、GUI内でレンダリングを実行するように構成され、仮想リソースオブジェクトのうち少なくとも1つは、入力されたユーザコマンドに従って仮想操作を実行するユーザキャラクタオブジェクトとして構成され、
検出ユニットは、GUI内のスキル操作エリア内に配置された少なくとも1つのスキルオブジェクトについてのスキル操作トリガージェスチャを検出したときに、スキルオブジェクトの解放位置を決定するために、スキル解放トリガージェスチャによるスキルオブジェクトの動きを検出するように構成され、解放位置とユーザキャラクタオブジェクトとの間の距離を検出するように更に構成され、スキルオブジェクトについてのスキル操作解放ジェスチャを検出するように更に構成され、
操作実行ユニットは、解放位置とユーザキャラクタオブジェクトとの間の距離がスキル解放距離より大きいことを検出ユニットが検出したときに、解放位置に向かって移動させるようにユーザキャラクタオブジェクトを調整するように構成され、検出ユニットがスキルオブジェクトについてのスキル操作解放ジェスチャを検出したときに、解放位置に基づいて、スキルオブジェクトについてのスキル解放操作を実行するように更に構成される。
【0008】
本発明の実施例は、プロセッサと、ディスプレイとを含み、GUIを取得するために、プロセッサがソフトウェアアプリケーションを実行し、ディスプレイ上でレンダリングを実行するように構成され、プロセッサ、GUI及びソフトウェアアプリケーションがゲームシステム上で実施される端末を更に提供し、
プロセッサは、少なくとも1つの仮想リソースオブジェクトを取得するために、GUI内でレンダリングを実行し、仮想リソースオブジェクトのうち少なくとも1つは、入力されたユーザコマンドに従って仮想操作を実行するユーザキャラクタオブジェクトとして構成され、
GUI内のスキル操作エリア内に配置された少なくとも1つのスキルオブジェクトについてのスキル操作トリガージェスチャを検出したときに、スキルオブジェクトの解放位置を決定するために、スキル解放トリガージェスチャによるスキルオブジェクトの動きを検出し、
解放位置とユーザキャラクタオブジェクトとの間の距離を検出し、距離がスキル解放距離より大きいときに、解放位置に向かって移動させるようにユーザキャラクタオブジェクトを調整し、
スキルオブジェクトについてのスキル操作解放ジェスチャを検出したときに、解放位置に基づいて、スキルオブジェクトについてのスキル解放操作を実行するように更に構成される。
【0009】
本発明の実施例は、コンピュータ記憶媒体を更に提供し、コンピュータ実行可能命令がコンピュータ記憶媒体に記憶され、コンピュータ実行可能命令が本発明の実施例における情報処理方法を実行するように構成される。
【0010】
本発明の実施例における情報処理方法、端末及びコンピュータ記憶媒体によれば、GUI内のスキル操作エリア内に配置された少なくとも1つのスキルオブジェクトについてのスキル操作トリガージェスチャが検出されたときに、スキルオブジェクトの解放位置を決定するために、スキル解放トリガージェスチャによるスキルオブジェクトの動きが検出され、解放位置とユーザキャラクタオブジェクトとの間の距離が検出され、距離がスキル解放距離より大きいときに、ユーザキャラクタオブジェクトが解放位置に向かって移動させるように調整され、スキルオブジェクトについてのスキル操作解放ジェスチャが検出されたときに、解放位置に基づいて、スキルオブジェクトについてのスキル解放操作が実行される。このように、本発明の実施例の技術的解決策を用いて、スキル解放は、特定の位置に向けられるようにされ、これにより、ユーザの操作体験をかなり向上させる。
【図面の簡単な説明】
(【0011】以降は省略されています)
この特許をJ-PlatPat(特許庁公式サイト)で参照する
関連特許
個人
玩具
5か月前
個人
玩具
2か月前
個人
自走玩具
2か月前
個人
運動補助具
4か月前
個人
小型卓球台
1か月前
個人
パズル
1か月前
個人
打撃練習用具
1か月前
株式会社三共
遊技機
5か月前
株式会社三共
遊技機
5か月前
株式会社三共
遊技機
5か月前
株式会社三共
遊技機
5か月前
株式会社三共
遊技機
5か月前
株式会社三共
遊技機
5か月前
株式会社三共
遊技機
5か月前
株式会社三共
遊技機
5か月前
株式会社三共
遊技機
5か月前
株式会社三共
遊技機
5か月前
株式会社三共
遊技機
5か月前
株式会社三共
遊技機
5か月前
株式会社三共
遊技機
5か月前
株式会社三共
遊技機
5か月前
株式会社三共
遊技機
5か月前
株式会社三共
遊技機
5か月前
株式会社三共
遊技機
5か月前
株式会社三共
遊技機
5か月前
株式会社三共
遊技機
5か月前
株式会社三共
遊技機
5か月前
株式会社三共
遊技機
4か月前
株式会社三共
遊技機
4か月前
株式会社三共
遊技機
4か月前
株式会社三共
遊技機
4か月前
株式会社三共
遊技機
4か月前
株式会社三共
遊技機
4か月前
株式会社三共
遊技機
4か月前
株式会社三共
遊技機
5か月前
株式会社三共
遊技機
5か月前
続きを見る
他の特許を見る