TOP
|
特許
|
意匠
|
商標
特許ウォッチ
Twitter
他の特許を見る
10個以上の画像は省略されています。
公開番号
2025163075
公報種別
公開特許公報(A)
公開日
2025-10-28
出願番号
2025124047,2020187817
出願日
2025-07-24,2020-11-11
発明の名称
システム、ユーザ端末、及び方法
出願人
東芝テック株式会社
代理人
弁理士法人鈴榮特許綜合事務所
主分類
H04N
1/00 20060101AFI20251021BHJP(電気通信技術)
要約
【課題】ユーザが効率的に故障状況を把握できるサーバ装置及びその制御プログラムを提供する。
【解決手段】サーバ装置は、通信手段と、情報記憶手段と、出力手段とを備える。通信手段は、シンボルを表示する表示部と、自装置の故障に係る情報を送信する送信部と、を備えた情報処理装置と通信する。情報記憶手段は、情報処理装置から送信された故障に係る情報を記憶する。出力手段は、シンボルで特定されるアクセス先に記憶された故障に係る情報を、シンボルを読み取ったユーザ端末の故障状況画面200へと出力する。
【選択図】図15
特許請求の範囲
【請求項1】
シンボルを表示する表示部と、自装置の故障に係る情報を送信する送信部と、を備えた情報処理装置と通信する通信手段と、
前記情報処理装置から送信された前記故障に係る情報を記憶する情報記憶手段と、
前記シンボルで特定されるアクセス先に記憶された前記故障に係る情報を、前記シンボルを読み取ったユーザ端末へと出力する出力手段と、
を具備するサーバ装置。
続きを表示(約 510 文字)
【請求項2】
前記出力手段は、前記故障に係る情報とともに、当該故障に係る情報の更新通知を受ける宛先を入力するための欄をさらに出力する、
請求項1記載のサーバ装置。
【請求項3】
前記宛先を記憶する宛先記憶手段と、
前記情報処理装置の前記故障に係る情報が更新されると、前記宛先記憶手段で記憶された宛先に更新された故障に係る情報を送信する送信手段と、
をさらに具備する請求項2記載のサーバ装置。
【請求項4】
前記シンボルは、前記故障に係る情報のアクセス先を特定するURLを含む二次元コードである、
請求項1記載のサーバ装置。
【請求項5】
シンボルを表示する表示部と、自装置の故障に係る情報を送信する送信部と、を備えた情報処理装置と通信する通信手段を備えたコンピュータを、
前記情報処理装置から送信された前記故障に係る情報を記憶する情報記憶手段、及び
前記シンボルで特定されるアクセス先に記憶された前記故障に係る情報を、前記シンボルを読み取ったユーザ端末へと出力する出力手段、
として機能させるための制御プログラム。
発明の詳細な説明
【技術分野】
【0001】
本発明の実施形態は、サーバ装置及びその制御プログラムに関する。
続きを表示(約 1,800 文字)
【背景技術】
【0002】
従来のMFP(デジタル複合機(multi-functional peripheral))等の情報処理装置は、故障が発生した場合に故障状況をユーザに通知する機能がある。この機能を利用するためには、ユーザは予め情報処理装置に電子メール等の宛先を登録する必要がある。すなわちユーザは宛先を登録しないと、故障状況を把握することができない。宛先を登録したユーザには、故障状況が逐一通知されることになる。このため、宛先を登録したものの情報処理装置の利用頻度が少ないユーザの中には、故障状況が逐一通知されることでと煩わしさを感じるユーザも存在する。そこで、ユーザが効率的に故障状況を把握できる仕組みが要望されている。
【先行技術文献】
【特許文献】
【0003】
特開2019-212958号公報
【発明の概要】
【発明が解決しようとする課題】
【0004】
本発明が解決しようとする課題は、ユーザが効率的に故障状況を把握できるサーバ装置及びその制御プログラムを提供しようとするものである。
【課題を解決するための手段】
【0005】
サーバ装置は、通信手段と、情報記憶手段と、出力手段とを備える。通信手段は、シンボルを表示する表示部と、自装置の故障に係る情報を送信する送信部と、を備えた情報処理装置と通信する。情報記憶手段は、情報処理装置から送信された故障に係る情報を記憶する。出力手段は、シンボルで特定されるアクセス先に記憶された故障に係る情報を、シンボルを読み取ったユーザ端末へと出力する。
【図面の簡単な説明】
【0006】
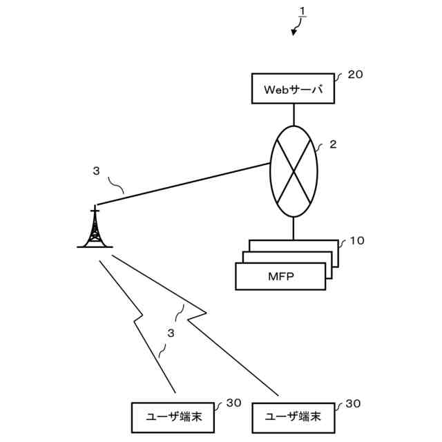
一実施形態に係る情報処理システムの概略構成を示す模式図。
一実施形態に係るMFPの要部回路構成を示すブロック図。
Webサーバの要部回路構成を示すブロック図。
画像テーブルの一例を示す模式図。
管理テーブルの一例を示す模式図。
宛先テーブルの一例を示す模式図。
ユーザ端末の要部回路構成を示すブロック図。
MFPにおけるプロセッサの要部制御手順を示す流れ図。
Webサーバにおけるプロセッサの要部制御手順を示す流れ図。
情報端末におけるプロセッサの要部制御手順を示す流れ図。
Webサーバにおけるプロセッサの要部制御手順を示す流れ図。
Webサーバにおけるプロセッサの要部制御手順を示す流れ図。
Webサーバにおけるプロセッサの要部制御手順を示す流れ図。
アクセス画面の一例を示す模式図。
故障状況画面の一例を示す模式図。
【発明を実施するための形態】
【0007】
以下、一実施形態について、図面を用いて説明する。
【0008】
図1は、一実施形態に係る情報処理システム1の概略構成を示す模式図である。情報処理システム1は、複数のMFP10と、Webサーバ20とを含む。MFP10は、情報処理装置の一例である。Webサーバ20は、MFP10を管理するためのサーバ機器である。MFP10とWebサーバ20とは、専用の通信ネットワーク2に接続されている。専用の通信ネットワーク2は、典型的にはデジタル専用線、ISDN(Integrated Services Digital Network)回線等である。またWebサーバ20は、専用の通信ネットワーク2からインターネット等の広域ネットワーク3を通じて複数のユーザ端末30にサービスを提供する。ユーザ端末30は、MFP10を利用するユーザが所有する端末である。ユーザ端末30は、インターネット対応の周知の携帯型端末である。例えば、スマートフォン、タブレット端末等がユーザ端末30として用いられる。
【0009】
図2は、一実施形態に係るMFP10の概略構成を示すブロック図である。MFP10は、スキャナ11、プリンタ12、制御システム13及び操作パネル14を備える。スキャナ11、プリンタ12及び操作パネル14は、制御システム13に接続される。
【0010】
スキャナ11は、制御システム13から動作指示に応じて原稿の画像を光学的に読み取って画像情報に変換する装置である。スキャナ11は、読み取った原稿の画像情報を制御システム13へ出力する。
(【0011】以降は省略されています)
この特許をJ-PlatPat(特許庁公式サイト)で参照する
関連特許
東芝テック株式会社
プリンタ
1か月前
東芝テック株式会社
画像形成装置
1か月前
東芝テック株式会社
プリンタ装置
5日前
東芝テック株式会社
取引処理システム
1か月前
東芝テック株式会社
取引処理システム
5日前
東芝テック株式会社
ショッピングカート
1か月前
東芝テック株式会社
情報処理装置及び方法
13日前
東芝テック株式会社
チェックアウトシステム
19日前
東芝テック株式会社
サーバ及び画像形成装置
今日
東芝テック株式会社
取引処理装置及びプログラム
5日前
東芝テック株式会社
情報処理装置及びプログラム
1か月前
東芝テック株式会社
情報処理装置及びプログラム
1か月前
東芝テック株式会社
情報処理装置及びプログラム
5日前
東芝テック株式会社
情報処理装置及びプログラム
1か月前
東芝テック株式会社
情報処理装置及びプログラム
1か月前
東芝テック株式会社
制御装置、及び画像形成装置
1か月前
東芝テック株式会社
情報処理装置及びプログラム
1か月前
東芝テック株式会社
インターロックおよびプリンタ
1か月前
東芝テック株式会社
画像形成装置およびプログラム
5日前
東芝テック株式会社
情報処理装置およびプログラム
1か月前
東芝テック株式会社
商品登録装置およびプログラム
1か月前
東芝テック株式会社
情報処理装置及び情報処理方法
1か月前
東芝テック株式会社
会計装置及び情報処理プログラム
5日前
東芝テック株式会社
データ処理装置及びデータ処理方法
1か月前
東芝テック株式会社
販売データ処理装置およびプログラム
1か月前
東芝テック株式会社
情報処理装置及び情報処理プログラム
1か月前
東芝テック株式会社
情報処理装置、及び商品登録システム
28日前
東芝テック株式会社
情報処理装置及び情報処理プログラム
1か月前
東芝テック株式会社
無線タグ通信装置、およびプログラム
5日前
東芝テック株式会社
商品販売データ処理装置及びプログラム
5日前
東芝テック株式会社
商品販売データ処理装置及びプログラム
1か月前
東芝テック株式会社
来店時間案内システムおよびプログラム
1か月前
東芝テック株式会社
デバイス管理装置及び情報処理プログラム
1か月前
東芝テック株式会社
移動体システムおよび移動体収納システム
1か月前
東芝テック株式会社
デバイス管理装置及び情報処理プログラム
1か月前
東芝テック株式会社
システム、情報処理装置、およびプログラム
1か月前
続きを見る
他の特許を見る