TOP
|
特許
|
意匠
|
商標
特許ウォッチ
Twitter
他の特許を見る
10個以上の画像は省略されています。
公開番号
2025159050
公報種別
公開特許公報(A)
公開日
2025-10-17
出願番号
2025131893,2022083611
出願日
2025-08-06,2022-05-23
発明の名称
遊技機
出願人
株式会社三洋物産
代理人
個人
主分類
A63F
5/04 20060101AFI20251009BHJP(スポーツ;ゲーム;娯楽)
要約
【課題】遊技進行の好適化を図ることが可能な遊技機を提供すること。
【解決手段】スロットマシン10では、スタートレバー41が操作されると、ゲームの抽選が行われるとともに各リール32L,32M,32Rの回転が開始され、ストップスイッチ42~44が操作されると、各リール32L,32M,32Rの回転が停止して、有効ラインにゲームの抽選結果に対応する図柄が停止していると、当該結果に対応するメダルが払い出され、その遊技内容に応じたコマンドが主制御装置からサブ制御装置へ出力され、サブ制御装置によって演出が補助表示部65にて行われる。ATモードの残り払出枚数の表示は同期異常中も更新が可能であり、ATモードの獲得枚数は同期異常の解消後に更新が可能となる。
【選択図】 図1117
特許請求の範囲
【請求項1】
複数種の絵柄が周方向に付された複数の周回体と、
各前記周回体について一部の絵柄を視認可能とする表示部と、
各前記周回体の周回を開始するための開始操作が行われる始動操作手段と、
各前記周回体の周回を停止するための停止操作が行われる停止操作手段と、
前記始動操作手段が操作された場合に各前記周回体の周回を開始させる開始駆動制御を実行し、前記停止操作手段が操作された場合に対応する前記周回体の周回を停止させる停止駆動制御を実行する駆動制御手段と、
前記始動操作手段の操作に基づき、遊技者に特典を付与することの抽選を行う抽選手段と、
前記抽選手段による抽選結果が所定の結果である場合に、前記所定の結果に対応する特典を付与可能な特典付与手段と、
を備える遊技機であって、
前記抽選手段による抽選結果として、前記停止操作手段が第1操作態様にて操作された場合に前記表示部を介して視認可能とされる特定位置に第1の絵柄組み合わせが停止可能となる第1結果と、前記停止操作手段が前記第1操作態様とは異なる第2操作態様にて操作された場合に前記特定位置に前記第1の絵柄組み合わせとは異なる第2の絵柄組み合わせが停止可能となる第2結果と、が設定されており、
前記抽選手段による抽選結果に基づいて、前記停止操作手段による操作態様についての第1態様報知を実行可能な第1態様報知手段と、
前記第1態様報知手段とは別途設けられ、前記抽選手段による抽選結果に基づいて、前記停止操作手段による操作態様についての第2態様報知を実行可能な第2態様報知手段と、
を備え、
所定の異常が生じておらず、前記第1態様報知手段による前記第1操作態様についての前記第1態様報知が実行され、前記第2態様報知手段による前記第1操作態様についての前記第2態様報知が実行されている状況において、前記第1操作態様にて前記停止操作手段が操作された場合、前記第1の絵柄組み合わせの停止に基づく特典が付与されることに対応する対応報知を実行可能に構成されており、
前記所定の異常が生じており、前記第1態様報知手段による前記第1操作態様についての前記第1態様報知が実行され、前記第2態様報知手段による前記第2操作態様についての前記第2態様報知が実行されている所定の状況において、前記第1操作態様にて前記停止操作手段が操作された場合であっても、前記対応報知が実行されないように構成されていることを特徴とする遊技機。
発明の詳細な説明
【技術分野】
【0001】
本発明は、遊技機に関するものである。
続きを表示(約 5,200 文字)
【背景技術】
【0002】
遊技機の一種として、パチンコ機やスロットマシン等が知られている。これらの遊技機では、所定の抽選条件が成立したことに基づいて内部抽選が行われ、当該内部抽選の結果に応じて遊技者に特典が付与される構成が知られている。
【0003】
スロットマシンについて具体的には、遊技媒体としてのメダルがベットされている状況でスタートレバーが操作されると、内部抽選が実施されるとともに、リールの回転が開始され、当該リールの回転中にストップスイッチが操作された場合には、リールの回転が停止する。そして、リールの停止結果が内部抽選の結果に対応したものである場合には、結果に応じた特典が付与される(例えば特許文献1参照)。
【先行技術文献】
【特許文献】
【0004】
特開2008-295707号公報
【発明の概要】
【発明が解決しようとする課題】
【0005】
ここで、上記例示等した遊技機においては遊技進行の好適化を図る必要があり、この点について、未だ改良の余地がある。
【0006】
本発明は上記例示した事情等に鑑みてなされたものであり、遊技進行の好適化を図ることが可能な遊技機を提供することを目的とするものである。
【課題を解決するための手段】
【0007】
本発明は、
複数種の絵柄が周方向に付された複数の周回体と、
各前記周回体について一部の絵柄を視認可能とする表示部と、
各前記周回体の周回を開始するための開始操作が行われる始動操作手段と、
各前記周回体の周回を停止するための停止操作が行われる停止操作手段と、
前記始動操作手段が操作された場合に各前記周回体の周回を開始させる開始駆動制御を実行し、前記停止操作手段が操作された場合に対応する前記周回体の周回を停止させる停止駆動制御を実行する駆動制御手段と、
前記始動操作手段の操作に基づき、遊技者に特典を付与することの抽選を行う抽選手段と、
前記抽選手段による抽選結果が所定の結果である場合に、前記所定の結果に対応する特典を付与可能な特典付与手段と、
を備える遊技機であって、
前記抽選手段による抽選結果として、前記停止操作手段が第1操作態様にて操作された場合に前記表示部を介して視認可能とされる特定位置に第1の絵柄組み合わせが停止可能となる第1結果と、前記停止操作手段が前記第1操作態様とは異なる第2操作態様にて操作された場合に前記特定位置に前記第1の絵柄組み合わせとは異なる第2の絵柄組み合わせが停止可能となる第2結果と、が設定されており、
前記抽選手段による抽選結果に基づいて、前記停止操作手段による操作態様についての第1態様報知を実行可能な第1態様報知手段と、
前記第1態様報知手段とは別途設けられ、前記抽選手段による抽選結果に基づいて、前記停止操作手段による操作態様についての第2態様報知を実行可能な第2態様報知手段と、
を備え、
所定の異常が生じておらず、前記第1態様報知手段による前記第1操作態様についての前記第1態様報知が実行され、前記第2態様報知手段による前記第1操作態様についての前記第2態様報知が実行されている状況において、前記第1操作態様にて前記停止操作手段が操作された場合、前記第1の絵柄組み合わせの停止に基づく特典が付与されることに対応する対応報知を実行可能に構成されており、
前記所定の異常が生じており、前記第1態様報知手段による前記第1操作態様についての前記第1態様報知が実行され、前記第2態様報知手段による前記第2操作態様についての前記第2態様報知が実行されている所定の状況において、前記第1操作態様にて前記停止操作手段が操作された場合であっても、前記対応報知が実行されないように構成されていることを特徴とする。
【発明の効果】
【0008】
本発明によれば、遊技進行の好適化を図ることが可能となる。
【図面の簡単な説明】
【0009】
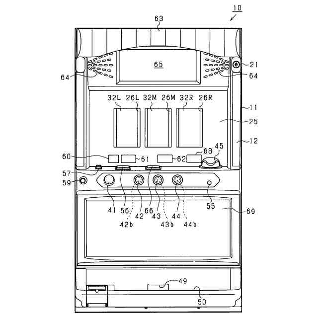
第1aの実施形態αにおけるスロットマシンの正面図である。
前面扉を閉じた状態を示すスロットマシンの斜視図である。
前面扉を開いた状態を示すスロットマシンの斜視図である。
前面扉の背面図である。
筐体の正面図である。
各リールの図柄配列を示す図である。
表示窓から視認可能となる図柄と有効ラインとの関係を示す説明図である。
入賞態様と付与される特典との関係を示す説明図である。
入賞態様と付与される特典との関係を示す説明図である。
入賞態様と付与される特典との関係を示す説明図である。
入賞態様の一例を説明するための図である。
入賞態様の一例を説明するための図である。
入賞態様の一例を説明するための図である。
入賞態様の一例を説明するための図である。
主制御装置の電気的構成を示すブロック図である。
表示制御装置の電気的構成を示すブロック図である。
主制御装置によるタイマ割込み処理を示すフローチャートである。
主制御装置による通常処理を示すフローチャートである。
抽選処理を示すフローチャートである。
3ベット時の通常遊技状態用抽選テーブルの一例を示す図である。
2ベット時の通常遊技状態用抽選テーブルの一例を示す図である。
リール制御処理を示すフローチャートである。
ストップスイッチの操作順序と成立する入賞態様との関係を示す説明図である。
ボーナス状態処理を示すフローチャートである。
ボーナス状態用抽選テーブルの一例を示す図である。
各状態の移行関係を示す説明図である。
抽選結果対応処理を示すフローチャートである。
有利区間移行抽選処理を示すフローチャートである。
各種移行抽選テーブルの一例を示す図である。
AT抽選用処理を示すフローチャートである。
AT上乗せ用処理を示すフローチャートである。
上乗せ抽選テーブルの一例を示す図である。
指示モニタ及び区間表示器の概要を説明するための図である。
補助表示部にて行われる押し順報知演出の概要を示す説明図である。
AT開始報知用処理を示すフローチャートである。
ストップスイッチの操作順序と成立する入賞態様との関係を示す説明図である。
入賞結果対応処理を示すフローチャートである。
前兆モード用処理を示すフローチャートである。
AT種別決定処理を示すフローチャートである。
CZモード用処理を示すフローチャートである。
ATモード用処理を示すフローチャートである。
準備モード用処理を示すフローチャートである。
昇格抽選テーブルの一例を示す図である。
区間表示第1処理を示すフローチャートである。
区間表示第2処理を示すフローチャートである。
サブ側の表示制御装置による演出設定処理を示すフローチャートである。
開始時演出設定処理を示すフローチャートである。
全停止時演出設定処理を示すフローチャートである。
AT開始用処理を示すフローチャートである。
回転演出処理を示すフローチャートである。
回転演出用処理を示すフローチャートである。
補助表示部による表示演出の一例を示す図である。
補助表示部による表示演出の一例を示す図である。
補助表示部による表示演出の一例を示す図である。
補助表示部による表示演出の一例を示す図である。
補助表示部による表示演出の一例を示す図である。
補助表示部による表示演出の一例を示す図である。
各リールによる回転演出の概要を説明するための図である。
外部出力設定第2処理を示すフローチャートである。
外部出力設定第1処理を示すフローチャートである。
タイマ更新処理を示すフローチャートである。
ATモード開始演出と、回転演出及び外部出力のタイミングを説明するためのタイミングチャートである。
ATモード開始演出と、回転演出及び外部出力のタイミングを説明するためのタイミングチャートである。
変形例1における、準備モード用処理を示すフローチャートである。
回転演出処理を示すフローチャートである。
AT開始報知用処理を示すフローチャートである。
外部出力設定第1処理を示すフローチャートである。
ATモード開始演出と、回転演出及び外部出力のタイミングを説明するためのタイミングチャートである。
ATモード開始演出と、回転演出及び外部出力のタイミングを説明するためのタイミングチャートである。
変形例2における、回転演出処理を示すフローチャートである。
(a)はエラー報知用処理を示すフローチャートであり、(b)は補助表示部による表示演出の一例を示す図である。
変形例3における、外部出力設定第1処理を示すフローチャートである。
変形例4における、外部出力設定第2処理を示すフローチャートである。
回転演出処理を示すフローチャートである。
ATモード用処理を示すフローチャートである。
第1aの実施形態βにおける、回転演出処理を示すフローチャートである。
回転演出用処理を示すフローチャートである。
疑似遊技の概要を説明するための図である。
ATモード開始演出と、回転演出及び外部出力のタイミングを、疑似遊技及び疑似遊技中表示との関係から説明するためのタイミングチャートである。
(a)は、変形例1における疑似遊技の実行タイミングの変形例を説明するための図であり、(b)は、変形例2における疑似遊技の実行タイミングの変形例を説明するための図である。
(a)は、回転演出処理の一部を示すフローチャートであり、(b)はリール制御処理の一部を示すフローチャートであり、(c)~(h)は通常遊技中に疑似遊技を実行する場合の遊技の概要を説明するための図である。
変形例3における、疑似遊技中報知の変形例を説明するための図である。
第1aの実施形態γにおける入賞態様と付与される特典との関係等の変更箇所を説明するための図である。
AT開始報知用処理を示すフローチャートである。
準備モード用処理を示すフローチャートである。
(a)は準備モード演出設定処理を示すフローチャートであり、(b)は回避演出設定処理を示すフローチャートである。
補助表示部による表示演出の一例を示す図である。
補助表示部による表示演出の一例等を示す図である。
第1aの実施形態δにおける、AT抽選用処理を示すフローチャートである。
前兆モード用処理を示すフローチャートである。
AT当選報知用処理を示すフローチャートである。
CZモード用処理を示すフローチャートである。
回転演出処理を示すフローチャートである。
タイマ更新処理を示すフローチャートである。
第2bの実施形態αにおける、主制御装置の電気的構成を示すブロック図である。
表示制御装置の電気的構成を示すブロック図である。
主制御装置によるタイマ割込み処理を示すフローチャートである。
主制御装置による通常処理を示すフローチャートである。
抽選処理を示すフローチャートである。
3ベット時の通常遊技状態用抽選テーブルの一例を示す図である。
【発明を実施するための形態】
【0010】
<第1aの実施形態α>
以下、遊技機の一種である回胴式遊技機、具体的にはスロットマシンに適用した場合の一実施の形態を、図面に基づいて詳細に説明する。図1はスロットマシン10の正面図、図2はスロットマシン10の前面扉12を閉じた状態の斜視図、図3はスロットマシン10の前面扉12を開いた状態の斜視図、図4は前面扉12の背面図、図5は筐体11の正面図である。
(【0011】以降は省略されています)
この特許をJ-PlatPat(特許庁公式サイト)で参照する
関連特許
個人
玩具
1か月前
個人
玩具
3か月前
個人
自走玩具
1か月前
個人
ゲーム玩具
5か月前
個人
運動補助具
3か月前
個人
打撃練習用具
13日前
株式会社三共
遊技機
3か月前
株式会社三共
遊技機
3か月前
株式会社三共
遊技機
3か月前
株式会社三共
遊技機
3か月前
株式会社三共
遊技機
3か月前
株式会社三共
遊技機
3か月前
株式会社三共
遊技機
3か月前
株式会社三共
遊技機
3か月前
株式会社三共
遊技機
3か月前
株式会社三共
遊技機
3か月前
株式会社三共
遊技機
6か月前
株式会社三共
遊技機
3か月前
株式会社三共
遊技機
3か月前
株式会社三共
遊技機
3か月前
株式会社三共
遊技機
3か月前
株式会社三共
遊技機
3か月前
株式会社三共
遊技機
3か月前
株式会社三共
遊技機
3か月前
株式会社三共
遊技機
3か月前
株式会社三共
遊技機
3か月前
株式会社三共
遊技機
3か月前
株式会社三共
遊技機
3か月前
株式会社三共
遊技機
3か月前
株式会社三共
遊技機
3か月前
株式会社三共
遊技機
3か月前
株式会社三共
遊技機
3か月前
株式会社三共
遊技機
3か月前
株式会社三共
遊技機
3か月前
株式会社三共
遊技機
26日前
株式会社三共
遊技機
26日前
続きを見る
他の特許を見る