TOP
|
特許
|
意匠
|
商標
特許ウォッチ
Twitter
他の特許を見る
10個以上の画像は省略されています。
公開番号
2025118463
公報種別
公開特許公報(A)
公開日
2025-08-13
出願番号
2024013787
出願日
2024-01-31
発明の名称
ヨーヨー
出願人
株式会社バンダイ
代理人
主分類
A63H
1/30 20060101AFI20250805BHJP(スポーツ;ゲーム;娯楽)
要約
【課題】興趣性を向上させたヨーヨーを提供する。
【解決手段】軸部材30と、軸部材30に支持された紐部材40と、軸部材30の回りに回動可能な第1回動部10と、軸部材30の回りに回動可能且つ第1回動部10と相対回動可能な第2回動部20と、を備え、第2回動部20は、軸部材30の延びる方向において第1回動部10の外側に設けられ、第2回動部20は、第1回動部10の一部の領域を覆っており、当該第2回動部20を介して領域の少なくとも一部を視認可能に構成されているヨーヨー1である。
【選択図】図3
特許請求の範囲
【請求項1】
軸部材と、
前記軸部材に支持された紐部材と、
前記軸部材の回りに回動可能な第1回動部と、
前記軸部材の回りに回動可能且つ前記第1回動部と相対回動可能な第2回動部と、を備え、
前記第2回動部は、前記軸部材の延びる方向において前記第1回動部の外側に設けられ、
前記第2回動部は、前記第1回動部の一部の領域を覆っており、当該第2回動部を介して前記領域の少なくとも一部を視認可能に構成されているヨーヨー。
続きを表示(約 890 文字)
【請求項2】
請求項1に記載のヨーヨーであって、
前記第1回動部は、
前記軸部材に回動可能に支持された本体部と、
前記本体部と前記第2回動部との間に設けられ、当該本体部の回動に連動する連動部材と、を有し、
前記第2回動部は、当該第2回動部を介して前記連動部材の少なくとも一部を視認可能に構成されている、ヨーヨー。
【請求項3】
請求項2に記載のヨーヨーであって、
前記連動部材及び前記第2回動部は、前記本体部を挟む両側の位置に設けられている、ヨーヨー。
【請求項4】
請求項3に記載のヨーヨーであって、
前記連動部材は、前記本体部と前記第2回動部とで囲まれる空間内に配置して設けられている、ヨーヨー。
【請求項5】
請求項2~4の何れか一項に記載のヨーヨーであって、
前記連動部材は、前記軸部材を回転軸として回動可能な薄板状の回動面を有する、ヨーヨー。
【請求項6】
請求項5に記載のヨーヨーであって、
前記回動面は、前記第2回動部に近接して配置される、ヨーヨー。
【請求項7】
請求項5に記載のヨーヨーであって、
前記回動面は、前記軸部材の軸方向の端部に設けられ、
前記第2回動部は、当該第2回動部を介して前記回動面の少なくとも一部を視認可能に構成されている、ヨーヨー。
【請求項8】
請求項7に記載のヨーヨーであって、
前記第2回動部は、当該第2回動部を介して前記連動部材の外周面を視認可能に構成されている、ヨーヨー。
【請求項9】
請求項5に記載のヨーヨーであって、
前記連動部材は、第1情報を表示する第1表示領域を有する、ヨーヨー。
【請求項10】
請求項9に記載のヨーヨーであって、
前記第1表示領域は、前記連動部材の回動時と静止時とで視覚的に異なる情報を表示可能である、ヨーヨー。
(【請求項11】以降は省略されています)
発明の詳細な説明
【技術分野】
【0001】
本発明は、ヨーヨーに関する。
続きを表示(約 1,000 文字)
【背景技術】
【0002】
特許文献1においては、写真等装飾体を円盤形状側体に収納することができるヨーヨーが開示されている。
【先行技術文献】
【特許文献】
【0003】
登録実用新案第3047740号公報
【発明の概要】
【発明が解決しようとする課題】
【0004】
特許文献1においては、写真等装飾体を円盤形状側体に収納することができるヨーヨーが開示されているが、より興趣性の高いヨーヨーが求められている。
【0005】
本発明は、興趣性を向上させたヨーヨーを提供することを目的としている。
【課題を解決するための手段】
【0006】
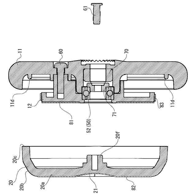
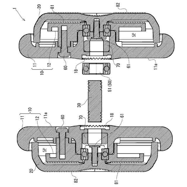
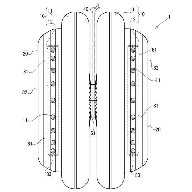
(1)
軸部材と、
上記軸部材に支持された紐部材と、
上記軸部材の回りに回動可能な第1回動部と、
上記軸部材の回りに回動可能且つ上記第1回動部と相対回動可能な第2回動部と、を備え、
上記第2回動部は、上記軸部材の延びる方向において上記第1回動部の外側に設けられ、
上記第2回動部は、上記第1回動部の一部の領域を覆っており、その第2回動部を介して上記領域の少なくとも一部を視認可能に構成されているヨーヨー。
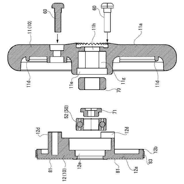
【0007】
(2)
(1)に記載のヨーヨーであって、
上記第1回動部は、
上記軸部材に回動可能に支持された本体部と、
上記本体部と上記第2回動部との間に設けられ、その本体部の回動に連動する連動部材と、を有し、
上記第2回動部は、その第2回動部を介して上記連動部材の少なくとも一部を視認可能に構成されている、ヨーヨー。
【0008】
(3)
(2)に記載のヨーヨーであって、
上記連動部材及び上記第2回動部は、上記本体部を挟む両側の位置に設けられている、ヨーヨー。
【0009】
(4)
(3)に記載のヨーヨーであって、
上記連動部材は、上記本体部と上記第2回動部とで囲まれる空間内に配置して設けられている、ヨーヨー。
【0010】
(5)
(2)~(4)の何れか1つに記載のヨーヨーであって、
上記連動部材は、上記軸部材を回転軸として回動可能な薄板状の回動面を有する、ヨーヨー。
(【0011】以降は省略されています)
特許ウォッチbot のツイートを見る
この特許をJ-PlatPat(特許庁公式サイト)で参照する
関連特許
個人
玩具
1か月前
個人
玩具
3か月前
個人
自走玩具
1か月前
個人
運動補助具
3か月前
個人
ゲーム玩具
5か月前
個人
打撃練習用具
12日前
株式会社三共
遊技機
21日前
株式会社三共
遊技機
21日前
株式会社三共
遊技機
21日前
株式会社三共
遊技機
21日前
株式会社三共
遊技機
21日前
株式会社三共
遊技機
21日前
株式会社三共
遊技機
21日前
株式会社三共
遊技機
21日前
株式会社三共
遊技機
21日前
株式会社三共
遊技機
21日前
株式会社三共
遊技機
3か月前
株式会社三共
遊技機
21日前
株式会社高尾
遊技機
5か月前
株式会社三共
遊技機
21日前
株式会社三共
遊技機
21日前
株式会社三共
遊技機
21日前
株式会社三共
遊技機
21日前
株式会社三共
遊技機
21日前
株式会社三共
遊技機
21日前
株式会社三共
遊技機
21日前
株式会社三共
遊技機
21日前
株式会社三共
遊技機
21日前
株式会社三共
遊技機
3か月前
株式会社三共
遊技機
3か月前
株式会社三共
遊技機
3か月前
株式会社三共
遊技機
3か月前
株式会社三共
遊技機
3か月前
株式会社三共
遊技機
3か月前
株式会社三共
遊技機
3か月前
株式会社三共
遊技機
3か月前
続きを見る
他の特許を見る