TOP
|
特許
|
意匠
|
商標
意匠ウォッチ
Twitter
他の意匠を見る
発行日
2025-11-25
公報種別
意匠公報(S)
登録番号
1813416
登録日
2025-11-14
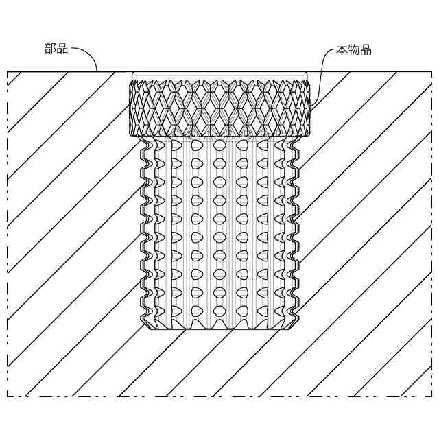
意匠に係る物品
インサートナット
意匠分類
M3
-1130(ねじ、くぎ、開閉金物、係止具等)
出願番号
2025004715
出願日
2025-03-10
意匠権者
第一工業株式会社
代理人
個人
意匠に係る物品の説明
本物品は、インサートナットである。インサートナットである本物品は、[使用状態を示す参考断面図]で示すように、アルミニウムまたは銅などの非鉄金属または樹脂材で構成された部品に形成された下穴内に圧入されて設置、または樹脂材の射出成形加工時に金型内に設置して樹脂材の成形とともに部品内に埋設した状態で設置されて、当該部品における雌ねじとして機能する。
意匠の説明
背面図は正面図と対称に表れるため省略する。左側面図は右側面図と対称に表れるため省略する。各図の表面に表された細線は、アール形状を特定するためにアール形状の境界を示すものである。
この意匠をJ-PlatPat(特許庁公式サイト)で参照する
関連意匠
第一工業株式会社
インサートナット
2日前
個人
錠
4か月前
住友電工ハードメタル株式会社
ねじ
5か月前
スガツネ工業株式会社
蝶番
7か月前
スガツネ工業株式会社
蝶番
9か月前
スガツネ工業株式会社
蝶番
2か月前
株式会社シブタニ
鍵材
1か月前
アイジー工業株式会社
ねじ
9か月前
株式会社シブタニ
鍵材
1か月前
株式会社バンダイ
吸盤
6か月前
株式会社バンダイ
吸盤
6か月前
スガツネ工業株式会社
蝶番
6か月前
スガツネ工業株式会社
蝶番
6か月前
株式会社イマオコーポレーション
締結具
4か月前
個人
ボルト
6か月前
株式会社シブタニ
扉用錠
3か月前
積水樹脂株式会社
ナット
2か月前
積水樹脂株式会社
ナット
2か月前
積水樹脂株式会社
ナット
2か月前
株式会社YOCABITO
留め具
2か月前
株式会社晃和
ナット
9か月前
株式会社カインズ
ハトメ
10か月前
株式会社シブタニ
扉用錠
3か月前
三井住友建設株式会社
止水材
今日
積水樹脂株式会社
ナット
2か月前
ハードロック工業株式会社
ナット
1か月前
積水樹脂株式会社
ナット
1か月前
ハードロック工業株式会社
ナット
1か月前
株式会社向洋技研
スタッド
10か月前
株式会社コスパ
カラビナ
9か月前
有限会社佐野機工
縄留め具
2か月前
株式会社シェルタージャパン
接続金具
8日前
株式会社LIXIL
建具用錠
28日前
小岩金網株式会社
門扉用錠
1か月前
株式会社向洋技研
スタッド
10か月前
三協立山株式会社
建具用錠
28日前
続きを見る
他の意匠を見る