TOP
|
特許
|
意匠
|
商標
意匠ウォッチ
Twitter
他の意匠を見る
発行日
2025-11-20
公報種別
意匠公報(S)
登録番号
1813215
登録日
2025-11-12
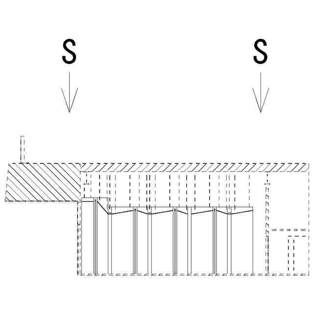
意匠に係る物品
オフィス
意匠分類
L3
-2000(組立て家屋、屋外装備品等)
出願番号
2024024585
出願日
2024-11-27
意匠権者
株式会社大林組
代理人
個人
,
個人
,
個人
意匠に係る物品の説明
意匠の説明
実線で表した部分が、意匠登録を受けようとする部分である。各断面図は内部構造を省略して表し、建築物の床面が各図の下方となる向きに回転して示す。参考透視図Xは、手前のサッシ、柱、風除室を省略して表す。土地の定着物につき底面図を省略する。
この意匠をJ-PlatPat(特許庁公式サイト)で参照する
関連意匠
株式会社大林組
ベンチ
6か月前
株式会社大林組
ベンチ
6か月前
株式会社大林組
ベンチ
8か月前
株式会社大林組
テーブル
6か月前
株式会社大林組
自動走行装置
11か月前
株式会社大林組
テーブル
6か月前
株式会社大林組
自動走行装置本体
11か月前
株式会社大林組
自動走行装置本体
11か月前
株式会社大林組
吊元装置
2か月前
株式会社大林組
吊元装置
2か月前
株式会社大林組
連結具
3か月前
株式会社大林組
柱
2か月前
株式会社大林組
家具用ユニット材
6か月前
株式会社大林組
柱
2か月前
株式会社大林組
柱
5か月前
株式会社大林組
温度調整機能付ベンチ
6か月前
株式会社大林組
柱材
2か月前
株式会社大林組
温度調整機能付ベンチ
6か月前
株式会社大林組
仮囲いパネル
10か月前
株式会社大林組
仮囲いパネル
7か月前
株式会社大林組
仮囲いパネル
7か月前
株式会社大林組
温度調整機能付ベンチ
6か月前
株式会社大林組
照明具
10か月前
株式会社大林組
建築用格子
5か月前
株式会社大林組
鋼管の篏合位置監視用画像
7か月前
株式会社大林組
建築物用構造体
7か月前
株式会社大林組
柵
3か月前
株式会社大林組
銘板
6か月前
株式会社大林組
藻場礁
9か月前
株式会社大林組
藻場礁
9か月前
株式会社大林組
植栽帯
4か月前
株式会社大林組
建築用ルーバー材
8か月前
株式会社大林組
建築用ルーバー材
8か月前
株式会社大林組
共同住宅
4か月前
株式会社大林組
共同住宅
4か月前
株式会社大林組
共同住宅
4か月前
続きを見る
他の意匠を見る