TOP
|
特許
|
意匠
|
商標
意匠ウォッチ
Twitter
他の意匠を見る
発行日
2025-09-24
公報種別
意匠公報(S)
登録番号
1808998
登録日
2025-09-12
意匠に係る物品
音楽ホールの内装
意匠分類
L3
-70(組立て家屋、屋外装備品等)
出願番号
2025003648
出願日
2025-02-26
意匠権者
戸田建設株式会社
代理人
個人
,
個人
,
個人
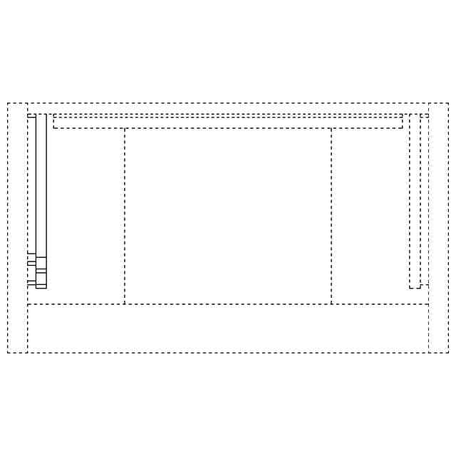
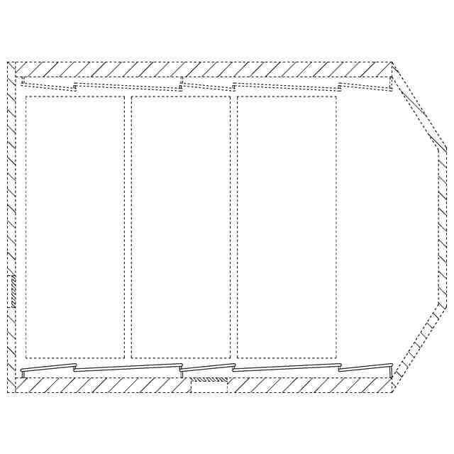
意匠に係る物品の説明
本願意匠は、音楽ホールの内装である。実線で表した部分は、図面中背面側に表された壁に複数枚連続する反射板であり、音が客席に対して均等に降り注ぐような音響空間の実現を目的として設置されている。
意匠の説明
実線で表した部分が、部分意匠として意匠登録を受けようとする部分である。
この意匠をJ-PlatPat(特許庁公式サイト)で参照する
関連意匠
戸田建設株式会社
アイコン用画像
11か月前
戸田建設株式会社
受付カウンター
2か月前
戸田建設株式会社
音響拡散材
2か月前
戸田建設株式会社
ポスター
10か月前
戸田建設株式会社
ロッカー
11か月前
戸田建設株式会社
排気塔
21日前
戸田建設株式会社
工場
2か月前
戸田建設株式会社
地中埋設探査システム管理画面用画像
9か月前
戸田建設株式会社
地中埋設探査システム管理画面用画像
9か月前
戸田建設株式会社
オフィス
9か月前
戸田建設株式会社
共用廊下の内装
2か月前
戸田建設株式会社
複合建築物
9か月前
戸田建設株式会社
音楽ホールの内装
1か月前
戸田建設株式会社
音楽ホールの内装
2か月前
戸田建設株式会社
音楽ホールの内装
2か月前
戸田建設株式会社
コンクリートのインピーダンス計測用装置
5か月前
株式会社LIXIL
門
1か月前
積水樹脂株式会社
柵
13日前
株式会社大林組
柵
2か月前
株式会社LIXIL
門
1か月前
株式会社LIXIL
門
1か月前
株式会社LIXIL
門
1か月前
旭化成ホームズ株式会社
住宅
11か月前
旭化成ホームズ株式会社
住宅
11か月前
旭化成ホームズ株式会社
住宅
11か月前
旭化成ホームズ株式会社
住宅
11か月前
旭化成ホームズ株式会社
住宅
8か月前
積水ハウス株式会社
住宅
1か月前
YKK AP株式会社
門扉
1か月前
住友林業株式会社
住宅
1か月前
YKK AP株式会社
門扉
1か月前
旭化成ホームズ株式会社
住宅
11か月前
戸田建設株式会社
工場
2か月前
積水ハウス株式会社
住宅
9か月前
石友ホーム株式会社
住宅
1か月前
積水ハウス株式会社
住宅
9か月前
続きを見る
他の意匠を見る