TOP
|
特許
|
意匠
|
商標
意匠ウォッチ
Twitter
他の意匠を見る
発行日
2025-03-21
公報種別
意匠公報(S)
登録番号
1794085
登録日
2025-03-12
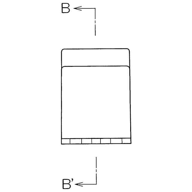
意匠に係る物品
配管固定用サドル
意匠分類
M2
-62(配線・配管用管、管継ぎ手、バルブ等)
出願番号
2024020732
出願日
2024-10-07
意匠権者
株式会社オンダ製作所
,
ONDA MFG.CO.,LTD.
代理人
意匠に係る物品の説明
この意匠に係る物品は、天井や壁面、床等の施工面に配管を固定する際に使用する、配管固定用サドルに関するものである。使用状態を示す参考図により説明すると、本物品に形成された、大きさの異なる2つの保持部により、大きさの異なる2本の配管を保持し、施工面に固定部をビス等で固定する。固定部には、ガス式鋲打機等の工具を案内するためのガイドが設けられている。
意匠の説明
斜視図に現れる稜線(途切れた線)は、形状を特定するための線である。背面図は正面図と対称に表れるため、省略する。
この意匠をJ-PlatPat(特許庁公式サイト)で参照する
関連意匠
株式会社オンダ製作所
配管用マーキング治具
8か月前
株式会社オンダ製作所
浴槽用循環具用施工工具
1か月前
株式会社オンダ製作所
管継手
7か月前
株式会社オンダ製作所
配管カバー
7か月前
株式会社オンダ製作所
浴槽用循環具
10か月前
株式会社オンダ製作所
浴槽用循環具
10か月前
株式会社オンダ製作所
浴槽用循環具
10か月前
株式会社オンダ製作所
浴槽用循環具
10か月前
株式会社オンダ製作所
浴槽用循環具
4か月前
株式会社オンダ製作所
自在管継手
7か月前
株式会社オンダ製作所
配管カバー
7か月前
株式会社オンダ製作所
浴槽用循環具
4か月前
株式会社オンダ製作所
浴槽用循環具
4か月前
株式会社オンダ製作所
浴槽用循環具
4か月前
株式会社オンダ製作所
浴槽用循環具
4か月前
株式会社オンダ製作所
管継手取付板
10か月前
株式会社オンダ製作所
配管固定用サドル
8か月前
株式会社オンダ製作所
管継手保護カバー
6か月前
株式会社オンダ製作所
スペーサリング
7か月前
株式会社オンダ製作所
管継手保護カバー
6か月前
株式会社オンダ製作所
管継手用アダプター
7か月前
株式会社オンダ製作所
樹脂管用着脱式継ぎ手
7か月前
株式会社オンダ製作所
樹脂管用着脱式継ぎ手
7か月前
株式会社オンダ製作所
浴槽用循環具用検査治具
8か月前
株式会社長谷工コーポレーション
水道用メータユニット
7か月前
株式会社長谷工コーポレーション
水道用メータユニット
7か月前
株式会社KVK
水栓
3か月前
株式会社KVK
水栓
3か月前
SANEI株式会社
水栓
8か月前
株式会社タブチ
水栓
8か月前
株式会社タブチ
水栓
8か月前
エバック株式会社
管継手
8か月前
TOTO株式会社
給水栓
7か月前
株式会社タブチ
管継手
8か月前
株式会社タブチ
管継手
8か月前
ニプロ株式会社
結束具
2か月前
続きを見る
他の意匠を見る