TOP
|
特許
|
意匠
|
商標
意匠ウォッチ
Twitter
他の意匠を見る
発行日
2025-12-09
公報種別
意匠公報(S)
登録番号
1814427
登録日
2025-12-01
意匠に係る物品
フェルール
意匠分類
H1
-301(基本的電気素子)
出願番号
2025014917
出願日
2025-07-28
意匠権者
株式会社白山
代理人
弁理士法人クレイア特許事務所
意匠に係る物品の説明
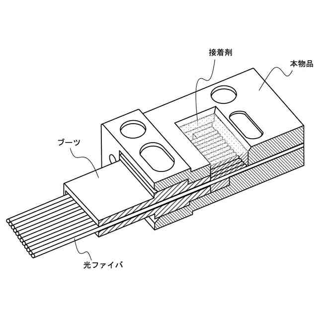
本物品は、光ファイバを接続するために使用されるフェルールである。本物品は、各部の名称を示す参考斜視図および使用状態を示す参考断面図に示すように、フェルール本体の前端面に、光ファイバが挿入される光ファイバ挿入孔と、ガイドピンが挿入されるガイドピン孔とが設けられている。フェルール本体の後端部には、複数のファイバ孔とブーツ挿入孔とを連通する内部空間とが設けられている。さらに、後端面に隣接する面から突出する鍔部を備える。光ファイバ挿着孔およびガイド孔の数、大きさおよび配置は、回路配線の設計または仕様等によって適宜選択される。
意匠の説明
実線で表した部分が、部分意匠として意匠登録を受けようとする部分である。左側面図は、右側面図と対象に表れるため省略する。一点鎖線は部分意匠として意匠登録を受けようとする部分とその他の部分との境界のみを示す線である。
この意匠をJ-PlatPat(特許庁公式サイト)で参照する
関連意匠
株式会社白山
2か月前
株式会社白山
4か月前
株式会社白山
フェルール
3日前
株式会社白山
フェルール
2か月前
株式会社白山
フェルール
2か月前
タイコ エレクトロニクス (シャンハイ) カンパニー リミテッド
端子
8か月前
タイコ エレクトロニクス (シャンハイ) カンパニー リミテッド
端子
8か月前
タイコ エレクトロニクス (シャンハイ) カンパニー リミテッド
端子
8か月前
東莞市諾星電子有限公司
電池
7か月前
東莞市楽点照明科技有限公司
電球
1か月前
深せん市緑巨能科技発展有限公司
電池
5か月前
タイコ エレクトロニクス (シャンハイ) カンパニー リミテッド
端子
8か月前
リーダーソン ライティング カンパニー リミテッド
電球
9か月前
新電元工業株式会社
ボビン
2か月前
新電元工業株式会社
ボビン
6か月前
新電元工業株式会社
ボビン
6か月前
株式会社戸上電機製作所
開閉器
10か月前
株式会社戸上電機製作所
開閉器
10か月前
ハーヴェー ハイドローリック エスイー
電磁石
1か月前
ハーヴェー ハイドローリック エスイー
電磁石
1か月前
テンパール工業株式会社
開閉器
5か月前
株式会社マキタ
蓄電池
2か月前
新電元工業株式会社
コイル
7か月前
テンパール工業株式会社
開閉器
5か月前
テンパール工業株式会社
開閉器
5か月前
洪祿有限公司
ボビン
2か月前
株式会社CIO
充電器
9か月前
日東工業株式会社
端子台
4か月前
日東工業株式会社
端子台
4か月前
日東工業株式会社
端子台
4か月前
安克創新科技股ふん有限公司
充電器
11か月前
安克創新科技股ふん有限公司
充電器
11か月前
深セン安培時代数字能源科技有限公司
蓄電池
7か月前
株式会社マキタ
蓄電池
5か月前
ソニーグループ株式会社
蓄電池
7か月前
株式会社GSユアサ
蓄電池
4日前
続きを見る
他の意匠を見る