TOP
|
特許
|
意匠
|
商標
意匠ウォッチ
Twitter
他の意匠を見る
発行日
2025-04-28
公報種別
意匠公報(S)
登録番号
1713277
登録日
2022-04-13
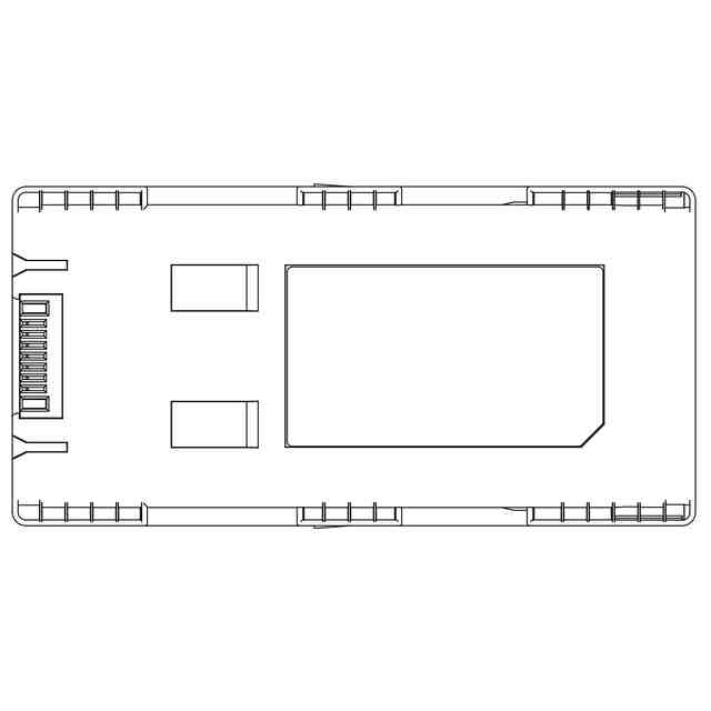
意匠に係る物品
蓄電池
意匠分類
H1
-800(基本的電気素子)
出願番号
2021014747
出願日
2021-07-07
意匠権者
ソニーグループ株式会社
代理人
特許業務法人酒井国際特許事務所
意匠に係る物品の説明
意匠の説明
この意匠をJ-PlatPat(特許庁公式サイト)で参照する
関連意匠
ソニーグループ株式会社
11か月前
ソニーグループ株式会社
11か月前
ソニーグループ株式会社
11か月前
ソニーグループ株式会社
2か月前
ソニーグループ株式会社
11か月前
ソニーグループ株式会社
11か月前
ソニーグループ株式会社
11か月前
ソニーグループ株式会社
6か月前
ソニーグループ株式会社
乗用自動車
12か月前
ソニーグループ株式会社
設定用画像
7か月前
ソニーグループ株式会社
乗用自動車
9か月前
ソニーグループ株式会社
無人航空機
10か月前
ソニーグループ株式会社
選択操作用画像
4か月前
ソニーグループ株式会社
映像撮影用画像
7か月前
ソニーグループ株式会社
無人航空機用画像
11か月前
ソニーグループ株式会社
無人航空機用画像
11か月前
ソニーグループ株式会社
蓄電池
7か月前
ソニーグループ株式会社
乗用自動車
11か月前
ソニーグループ株式会社
データ転送状況表示用画像
6日前
ソニーグループ株式会社
データ転送状況表示用画像
6日前
ソニーグループ株式会社
映像コンテンツ制作用画像
1か月前
ソニーグループ株式会社
イヤホン
8か月前
ソニーグループ株式会社
イヤホン
18日前
ソニーグループ株式会社
イヤホン
2か月前
ソニーグループ株式会社
ヘッドホン
25日前
ソニーグループ株式会社
ヘッドホン
25日前
ソニーグループ株式会社
ヘッドホン
25日前
ソニーグループ株式会社
スピーカー
3か月前
ソニーグループ株式会社
スピーカー
3か月前
ソニーグループ株式会社
スピーカー
10か月前
ソニーグループ株式会社
スピーカー
10か月前
ソニーグループ株式会社
カメラ用レンズキャップ
10か月前
ソニーグループ株式会社
ディスプレイユニット
4か月前
ソニーグループ株式会社
ディスプレイユニット
3か月前
ソニーグループ株式会社
ディスプレイユニット
4か月前
ソニーグループ株式会社
ディスプレイユニット
3か月前
続きを見る
他の意匠を見る