TOP
|
特許
|
意匠
|
商標
意匠ウォッチ
Twitter
他の意匠を見る
発行日
2025-11-27
公報種別
意匠公報(S)
登録番号
1813646
登録日
2025-11-18
意匠に係る物品
通気部材
意匠分類
L6
-1170(建築用内外装材)
出願番号
2025008322
出願日
2025-04-25
意匠権者
ケイミュー株式会社
代理人
弁理士法人北斗特許事務所
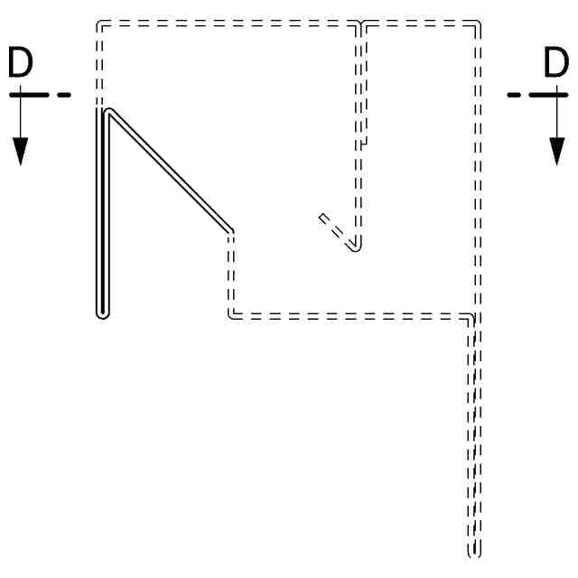
意匠に係る物品の説明
本物品は、建物の通気性を確保するために用いられる通気部材である。使用状態を示す参考図に示すように、本物品が取り付けられた建物は、壁下地と壁板との間の通気層と屋外とで通気を行うことができる。
意匠の説明
実線で表した部分が、意匠登録を受けようとする部分である。一点鎖線は、長尺部分の中間省略を示すものである。二点鎖線は、意匠登録を受けようとする部分と、その他の部分との境界のみを示す線である。左側面図は、右側面図と対称に表れるため省略する。
この意匠をJ-PlatPat(特許庁公式サイト)で参照する
関連意匠
ケイミュー株式会社
壁板
4か月前
ケイミュー株式会社
壁板
5か月前
ケイミュー株式会社
壁板
8日前
ケイミュー株式会社
壁板
1か月前
ケイミュー株式会社
棟包
2か月前
ケイミュー株式会社
壁板
4か月前
ケイミュー株式会社
壁板
4か月前
ケイミュー株式会社
壁板
4か月前
ケイミュー株式会社
壁板
4か月前
ケイミュー株式会社
壁板
4か月前
ケイミュー株式会社
壁板
4か月前
ケイミュー株式会社
壁板
4か月前
ケイミュー株式会社
壁板
5か月前
ケイミュー株式会社
壁板
5か月前
ケイミュー株式会社
屋根材
8か月前
ケイミュー株式会社
通気部材
今日
ケイミュー株式会社
壁用出隅板
8か月前
ケイミュー株式会社
壁用出隅板
8か月前
ケイミュー株式会社
通気部材
今日
ケイミュー株式会社
けらば化粧材
6か月前
ケイミュー株式会社
一組の土木建築用品セット
5か月前
伊山瓦協業組合
瓦
3か月前
ケイミュー株式会社
壁板
4か月前
株式会社ウッドワン
巾木
12か月前
株式会社ウッドワン
巾木
12か月前
ケイミュー株式会社
壁板
4か月前
ケイミュー株式会社
壁板
4か月前
ケイミュー株式会社
壁板
1か月前
天龍木材株式会社
壁板
6か月前
積水化学工業株式会社
床材
2か月前
ケイミュー株式会社
壁板
5か月前
ケイミュー株式会社
壁板
4か月前
積水化学工業株式会社
床材
2か月前
有限会社大村スチール
壁板
5か月前
ケイミュー株式会社
棟包
2か月前
ケイミュー株式会社
壁板
5か月前
続きを見る
他の意匠を見る