TOP
|
特許
|
意匠
|
商標
意匠ウォッチ
Twitter
他の意匠を見る
発行日
2025-11-18
公報種別
意匠公報(S)
登録番号
1813114
登録日
2025-11-10
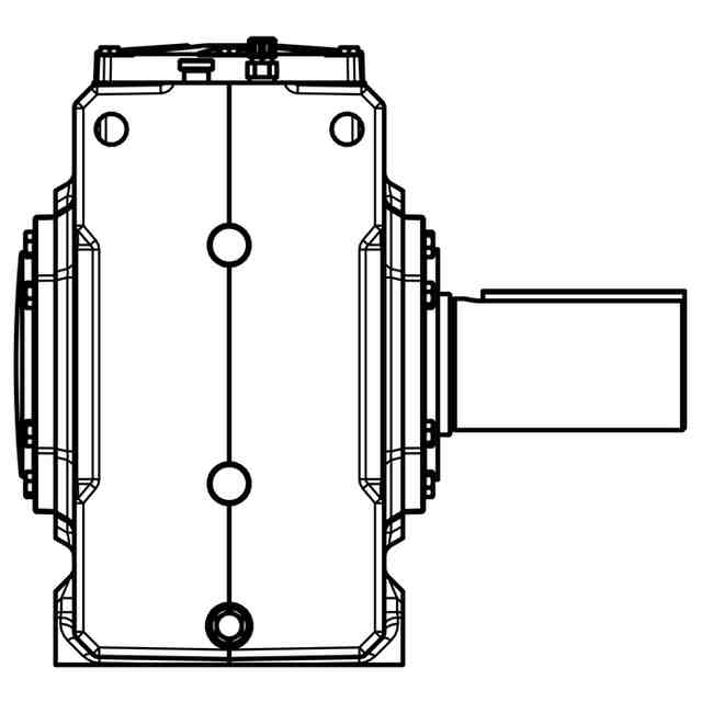
意匠に係る物品
Gear and gearing casing
意匠分類
K9
-18(産業用機械器具汎用部品及び付属品)
出願番号
2024504208,015050255-0004
出願日
意匠権者
Flender Industriegetriebe GmbH
代理人
意匠に係る物品の説明
意匠の説明
The ornamental design for gear and gearing casing as shown and described
この意匠をJ-PlatPat(特許庁公式サイト)で参照する
関連意匠
Flender Industriegetriebe GmbH
Gear and gearing casing
今日
Flender Industriegetriebe GmbH
Gear and gearing casing
27日前
ナブテスコ株式会社
減速機
11か月前
ナブテスコ株式会社
減速機
3か月前
ナブテスコ株式会社
減速機
3か月前
株式会社タイカ
防振具
4か月前
ナブテスコ株式会社
減速機
11か月前
ナブテスコ株式会社
減速機
6か月前
NTN株式会社
玉軸受
9か月前
ナブテスコ株式会社
減速機
11か月前
ナブテスコ株式会社
減速機
5日前
ナブテスコ株式会社
減速機
11か月前
ナブテスコ株式会社
減速機
11か月前
ナブテスコ株式会社
減速機
11か月前
星朋商工株式会社
防振具
8か月前
ナブテスコ株式会社
減速機
11か月前
ナブテスコ株式会社
減速機
5日前
ナブテスコ株式会社
減速機
11か月前
ダンフォス アクチ-セルスカブ
油圧モータ
10か月前
三和テクノ株式会社
シール部材
6か月前
三菱ケミカル・クリンスイ株式会社
フィルター
1か月前
三機工業株式会社
部品保持具
9か月前
ダンフォス アクチ-セルスカブ
油圧モータ
10か月前
ダンフォス アクチ-セルスカブ
油圧モータ
10か月前
株式会社タツノ
ノズル掛け
2か月前
三和テクノ株式会社
シール部材
9か月前
三和テクノ株式会社
シール部材
9か月前
ダンフォス アクチ-セルスカブ
油圧モータ
10か月前
三和テクノ株式会社
シール部材
9か月前
三和テクノ株式会社
シール部材
21日前
未来工業株式会社
耐震用固定具
1か月前
三木プーリ株式会社
電磁ブレーキ
11か月前
片山チエン株式会社
スプロケット
4か月前
アールケー・ジャパン株式会社
シールリング
10か月前
未来工業株式会社
耐震用固定具
9か月前
未来工業株式会社
耐震用固定具
1か月前
続きを見る
他の意匠を見る