TOP
|
特許
|
意匠
|
商標
意匠ウォッチ
Twitter
他の意匠を見る
発行日
2025-11-06
公報種別
意匠公報(S)
登録番号
1812282
登録日
2025-10-28
意匠に係る物品
筒状容器用固定具
意匠分類
D0
-12(D3~D9に属さないその他の住宅設備用品)
出願番号
2025013399
出願日
2025-07-04
意匠権者
未来工業株式会社
,
MIRAI KOGYO KABUSHIKIKAISHA
代理人
弁理士法人東海特許事務所
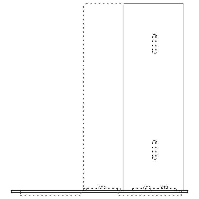
意匠に係る物品の説明
本物品は、床面等に置かれる高圧ガス容器などの筒状容器が地震などにより転倒しないように固定する筒状容器用固定具に関するものである。使用状態参考図により説明すると、本物品は、裏面の貼着シートで床面に貼着され高圧ガス容器であるガスボンベを載置する載置部と、当該載置部から鉛直方向に立設された固定壁を備えてなり、固定部材で前記ガスボンベを前記固定壁に固定することにより、当該ガスボンベの転倒を防止することができる。
意匠の説明
実線で示した部分が部分意匠として意匠登録を受けようとする部分である。A-A線断面図を含めて部分意匠として意匠登録を受けようとする部分を特定している。一点鎖線は部分意匠として意匠登録を受けようとする部分とその他の部分との境界のみを示す線である。左側面図は右側面図と対称に表れる。
この意匠をJ-PlatPat(特許庁公式サイト)で参照する
関連意匠
未来工業株式会社
5か月前
未来工業株式会社
4か月前
未来工業株式会社
3か月前
未来工業株式会社
3か月前
未来工業株式会社
5か月前
未来工業株式会社
3か月前
未来工業株式会社
8か月前
未来工業株式会社
8か月前
未来工業株式会社
8か月前
未来工業株式会社
5か月前
未来工業株式会社
8か月前
未来工業株式会社
5か月前
未来工業株式会社
5か月前
未来工業株式会社
5か月前
未来工業株式会社
7日前
未来工業株式会社
5か月前
未来工業株式会社
5か月前
未来工業株式会社
5か月前
未来工業株式会社
5か月前
未来工業株式会社
3か月前
未来工業株式会社
3か月前
未来工業株式会社
8か月前
未来工業株式会社
7日前
未来工業株式会社
手掌保護具
8か月前
未来工業株式会社
罫書定規
6か月前
未来工業株式会社
穴明け具
4か月前
未来工業株式会社
罫書き用ゲージ
6か月前
未来工業株式会社
罫書き用ゲージ
1か月前
未来工業株式会社
罫書き用ゲージ
1か月前
未来工業株式会社
分水栓
1か月前
未来工業株式会社
分水栓
1か月前
未来工業株式会社
かぶり厚表示シート
5か月前
未来工業株式会社
水口形成具
7か月前
未来工業株式会社
耐震用固定具
9か月前
未来工業株式会社
耐震用固定具
9か月前
未来工業株式会社
耐震用固定具
2か月前
続きを見る
他の意匠を見る