TOP
|
特許
|
意匠
|
商標
意匠ウォッチ
Twitter
他の意匠を見る
発行日
2025-10-15
公報種別
意匠公報(S)
登録番号
1810665
登録日
2025-10-06
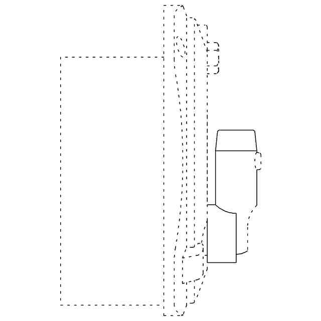
意匠に係る物品
分水栓
意匠分類
L2
-320(土木構造物及び土木用品)
出願番号
2025009563
出願日
2025-05-15
意匠権者
未来工業株式会社
,
MIRAI KOGYO KABUSHIKIKAISHA
代理人
弁理士法人東海特許事務所
,
弁理士法人Vesta国際特許事務所
意匠に係る物品の説明
本物品は、農業用水等の水路から水田等の圃場に水を供給する配水管に取り付けられる分水栓に関するものである。使用状態参考図により説明すると、本物品は、配水管の端部に取り付けられ、蓋を開閉することで前記圃場への配水を制御することができる。また、前記蓋には、操作部材受部が設けられており、当該操作部材受部に棒状体からなる操作部材を挿し込んで、当該操作部材を引き上げたり押し下げたりして前記蓋の開閉を操作することができる。
意匠の説明
実線で示した部分が部分意匠として意匠登録を受けようとする部分である。A-A線断面図を含めて部分意匠として意匠登録を受けようとする部分を特定している。
この意匠をJ-PlatPat(特許庁公式サイト)で参照する
関連意匠
未来工業株式会社
5か月前
未来工業株式会社
4か月前
未来工業株式会社
2か月前
未来工業株式会社
2か月前
未来工業株式会社
5か月前
未来工業株式会社
8か月前
未来工業株式会社
8か月前
未来工業株式会社
4か月前
未来工業株式会社
4か月前
未来工業株式会社
4か月前
未来工業株式会社
2か月前
未来工業株式会社
8か月前
未来工業株式会社
7か月前
未来工業株式会社
4か月前
未来工業株式会社
5か月前
未来工業株式会社
5か月前
未来工業株式会社
5か月前
未来工業株式会社
5か月前
未来工業株式会社
2か月前
未来工業株式会社
8か月前
未来工業株式会社
2か月前
未来工業株式会社
手掌保護具
8か月前
未来工業株式会社
罫書定規
6か月前
未来工業株式会社
穴明け具
4か月前
未来工業株式会社
罫書き用ゲージ
20日前
未来工業株式会社
罫書き用ゲージ
6か月前
未来工業株式会社
罫書き用ゲージ
1か月前
未来工業株式会社
分水栓
1か月前
未来工業株式会社
分水栓
1か月前
未来工業株式会社
かぶり厚表示シート
4か月前
未来工業株式会社
水口形成具
7か月前
未来工業株式会社
管継手
2か月前
未来工業株式会社
配線・配管材支持具用取付具
1か月前
未来工業株式会社
耐震用固定具
9か月前
未来工業株式会社
耐震用固定具
9か月前
未来工業株式会社
耐震用固定具
1か月前
続きを見る
他の意匠を見る