TOP
|
特許
|
意匠
|
商標
意匠ウォッチ
Twitter
他の意匠を見る
発行日
2025-10-15
公報種別
意匠公報(S)
登録番号
1810632
登録日
2025-10-06
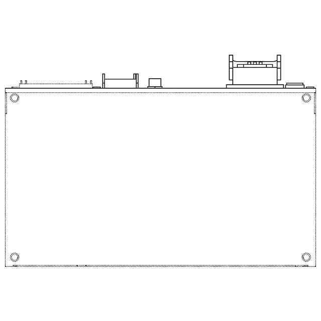
意匠に係る物品
ロボット用制御器
意匠分類
H2
-600(回転電気機械、配電機械器具)
出願番号
2024026611
出願日
2024-12-24
意匠権者
ファナック株式会社
代理人
弁理士法人桐朋
意匠に係る物品の説明
本物品は、スカラロボットなどの産業用ロボットを制御するために用いられる。
意匠の説明
実線で表した部分が、意匠登録を受けようとする部分である。
この意匠をJ-PlatPat(特許庁公式サイト)で参照する
関連意匠
ファナック株式会社
表示画面設定用画像
10か月前
ファナック株式会社
ロボット操作用画像
4か月前
ファナック株式会社
アダプタ
9か月前
ファナック株式会社
ロボット操作器
6か月前
ファナック株式会社
ロボット操作器
6か月前
ファナック株式会社
ロボット操作器
6か月前
ファナック株式会社
ロボット操作器
6か月前
ファナック株式会社
ロボット操作器
6か月前
ファナック株式会社
ロボット操作器
6か月前
ファナック株式会社
ロボット操作器
6か月前
ファナック株式会社
切削加工機
3か月前
ファナック株式会社
切削加工機
3か月前
ファナック株式会社
ロボット用制御器
1か月前
ファナック株式会社
ロボットコントローラ
4か月前
ファナック株式会社
産業用ロボット
7か月前
株式会社CIO
充電器
8か月前
深せん市藍禾技術有限公司
充電器
10か月前
広東麦多多実業有限公司
充電器
5か月前
株式会社JR西日本新幹線テクノス
発電機
5か月前
パナソニックIPマネジメント株式会社
分電盤
5か月前
パナソニックIPマネジメント株式会社
分電盤
5か月前
デンヨー株式会社
発電機
2か月前
安克創新科技股ふん有限公司
充電器
6か月前
パナソニック株式会社
蓄電池
10か月前
株式会社マキタ
充電器
3か月前
株式会社マキタ
充電器
3か月前
株式会社マキタ
充電器
3か月前
深せん市易検車服科技有限公司
放電器
10か月前
パナソニックIPマネジメント株式会社
分電盤
11か月前
株式会社オーディオテクニカ
充電器
7か月前
深セン市緑聯科技股フン有限公司
充電器
8か月前
深セン市緑聯科技股フン有限公司
充電器
2か月前
プライム・スター株式会社
蓄電池
8か月前
株式会社オーディオテクニカ
充電器
8か月前
東莞市安聚電子科技有限公司
充電器
8か月前
東莞市宝らい珀通訊科技有限公司
充電器
9か月前
続きを見る
他の意匠を見る