TOP
|
特許
|
意匠
|
商標
意匠ウォッチ
Twitter
他の意匠を見る
発行日
2025-08-20
公報種別
意匠公報(S)
登録番号
1806488
登録日
2025-08-12
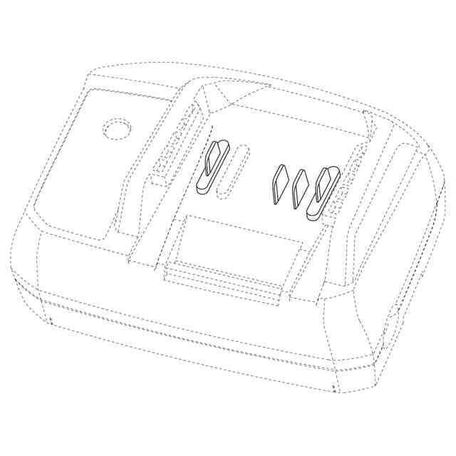
意匠に係る物品
充電器
意匠分類
H2
-2120(回転電気機械、配電機械器具)
出願番号
2024026513
出願日
2024-12-23
意匠権者
株式会社マキタ
,
MAKITA CORPORATION
代理人
弁理士法人酒井国際特許事務所
意匠に係る物品の説明
意匠の説明
実線で表された部分が、部分意匠として登録を受けようとする部分である。
この意匠をJ-PlatPat(特許庁公式サイト)で参照する
関連意匠
株式会社マキタ
7か月前
株式会社マキタ
蓄電池
11日前
株式会社マキタ
蓄電池
3か月前
株式会社マキタ
ヒートガン本体
2か月前
株式会社マキタ
携帯用動力工具本体
2か月前
株式会社マキタ
携帯用電気丸鋸本体
6か月前
株式会社マキタ
携帯用電気レンチ本体
2か月前
株式会社マキタ
電気床磨き機
6か月前
株式会社マキタ
携帯用電気ハンマードリル
7か月前
株式会社マキタ
充電器
1か月前
株式会社マキタ
充電器
1か月前
株式会社マキタ
充電器
1か月前
株式会社マキタ
電気掃除機本体
6か月前
株式会社マキタ
携帯用集塵機本体
2か月前
株式会社マキタ
携帯用電気チェンソー本体
7か月前
株式会社マキタ
携帯用電気ベルトサンダ本体
7か月前
株式会社マキタ
携帯用電気グラインダー本体
2か月前
株式会社マキタ
携帯用電気グラインダー本体
2か月前
株式会社マキタ
携帯用電気ドライバドリル本体
3か月前
株式会社マキタ
洗浄機本体
10か月前
株式会社マキタ
除雪アタッチメント
8か月前
深せん市藍禾技術有限公司
充電器
9か月前
深セン市徐如林電子商務有限公司
充電器
3か月前
広東麦多多実業有限公司
充電器
4か月前
パナソニックIPマネジメント株式会社
蓄電池
10か月前
東莞市安聚電子科技有限公司
充電器
7か月前
株式会社オーディオテクニカ
充電器
7か月前
テンパール工業株式会社
分電盤
11か月前
パナソニック株式会社
蓄電池
9か月前
トヨタ自動車株式会社
充電器
1か月前
深セン市緑聯科技股フン有限公司
充電器
1か月前
深セン市緑聯科技股フン有限公司
充電器
1か月前
プライム・スター株式会社
蓄電池
7か月前
ホシデン株式会社
充電器
1か月前
深セン市緑聯科技股フン有限公司
充電器
7か月前
多摩川精機株式会社
モータ
3か月前
続きを見る
他の意匠を見る