TOP
|
特許
|
意匠
|
商標
意匠ウォッチ
Twitter
他の意匠を見る
発行日
2025-10-14
公報種別
意匠公報(S)
登録番号
1810600
登録日
2025-10-03
意匠に係る物品
木造家屋吊上用金具
意匠分類
G1
-050(運搬、昇降又は貨物取扱い用機械器具)
出願番号
2025002407
出願日
2025-02-07
意匠権者
個人
代理人
個人
意匠に係る物品の説明
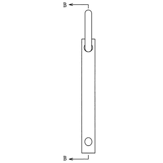
本物品は、木造家屋を吊り上げる際に用いられる木造家屋吊上用金具である。本物品は、各部の名称を示す参考図に示されるように、角パイプによって形成される本体と、本体の上端付近に取り付けられるリングとを備える。本物品の本体およびリングは、金属で形成される。本体の下端付近には、固定棒を挿入するための2組の貫通穴が互いに直交するように設けられている。本物品を用いて吊り上げようとする木造家屋の柱の上端には、使用状態を示す参考図1に示されるように、本体とほぼ同辺長であって、かつ本体の長さよりも浅い角柱形の穴が設けられている。使用状態を示す参考図2は、本物品が角柱形の穴に挿入された状態が示されている。角柱形の穴が本体の長さよりも浅いので、本物品の上部が柱の上端から露出した状態になっている。柱には、本物品が挿入された際に貫通穴が位置する箇所に穴があけられており、これらの穴に固定棒を挿入することによって本物品が脱落しないように固定される。本物品の固定を万全にするために、角柱形の穴および/又は本体の外面に、接着剤を塗布してもよい。木造家屋の吊り上げに際して、使用状態を示す参考図3に示されるように、本物品のリングにシャックルを取り付け、使用状態を示す参考図4に示されるように、シャックルにワイヤを引っ掛けて、ワイヤをクレーンで吊り上げることによって、木造家屋を所望の個所に移動・運搬させることができる。或いは、シャックルを用いずに、本物品のリングにワイヤを直接引っ掛けて、ワイヤをクレーンで吊り上げることによって、木造家屋を所望の個所に移動・運搬させてもよい。
意匠の説明
背面図は正面図と同一にあらわれるので省略する。左側面図は右側面図と同一にあらわれるので省略する。
この意匠をJ-PlatPat(特許庁公式サイト)で参照する
関連意匠
株式会社エコシステム販売
フック
6か月前
山九株式会社
トロリ
7か月前
株式会社永木精機
掴線器
2か月前
株式会社永木精機
掴線器
7か月前
株式会社永木精機
掴線器
7か月前
株式会社積水化成品沖縄
運搬用具
6か月前
広東順和工業有限公司
コンテナ
2か月前
常州路達曼智能科技有限公司
スロープ
4か月前
常州路達曼智能科技有限公司
スロープ
4か月前
トライウォールジャパン株式会社
運搬用箱
5か月前
有限会社 テクノ世紀
コンテナ
6か月前
トライウォールジャパン株式会社
運搬用箱
5か月前
トライウォールジャパン株式会社
運搬用箱
8か月前
三甲株式会社
運搬用容器
7か月前
岐阜プラスチック工業株式会社
運搬用容器
7か月前
岐阜プラスチック工業株式会社
運搬用容器
7か月前
岐阜プラスチック工業株式会社
運搬用容器
7か月前
三甲株式会社
運搬用容器
7か月前
岐阜プラスチック工業株式会社
運搬用容器
9か月前
岐阜プラスチック工業株式会社
運搬用容器
9か月前
岐阜プラスチック工業株式会社
運搬用容器
9か月前
岐阜プラスチック工業株式会社
運搬用容器
9か月前
三甲株式会社
運搬用容器
7か月前
三甲株式会社
運搬用容器
7か月前
岐阜プラスチック工業株式会社
運搬用容器
9か月前
三甲株式会社
運搬用容器
7か月前
三甲株式会社
運搬用容器
7か月前
三甲株式会社
運搬用容器
7か月前
三甲株式会社
運搬用容器
7か月前
岐阜プラスチック工業株式会社
運搬用容器
9か月前
有限会社ちふりや工業
袋体保持具
7か月前
三甲株式会社
運搬用容器
7か月前
岐阜プラスチック工業株式会社
運搬用容器
9か月前
岐阜プラスチック工業株式会社
運搬用容器
9か月前
岐阜プラスチック工業株式会社
運搬用容器
10か月前
三甲株式会社
運搬用容器
6か月前
続きを見る
他の意匠を見る