TOP特許意匠商標
意匠ウォッチ Twitter
発行日2025-10-01
公報種別意匠公報(S)
登録番号1809623
登録日2025-09-22
意匠に係る物品Anti-theft nut
意匠分類M3-1130(ねじ、くぎ、開閉金物、係止具等)
出願番号2024501688,2023306431491
出願日
意匠権者Guangzhou Tufa network technology Co., LTD
代理人個人
意匠に係る物品の説明
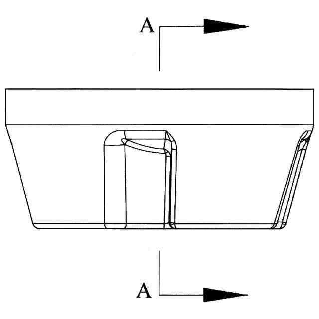
意匠の説明The design is an anti-theft nut. The design product is used for anti-loosening and anti-theft function of the fastening portion of a mechanical component. Fig 1.7 and 1.8 are reference drawings that omit the internal thread illustration. 1.1) Front; 1.2) Right; 1.3) Left; 1.4) Back; 1.5) Top; 1.6) Bottom; 1.7) Perspective; 1.8) Perspective; 1.9) Cross-sectional taken along line A-A in 1.1
この意匠をJ-PlatPat(特許庁公式サイト)で参照する

関連意匠

Guangzhou Tufa network technology Co., LTD
Signal bell
5か月前
Guangzhou Tufa network technology Co., LTD
Scooter frame
6か月前
Guangzhou Tufa network technology Co., LTD
Electric scooter
5か月前
Guangzhou Tufa network technology Co., LTD
Anti-theft nut
2か月前
個人
4か月前
住友電工ハードメタル株式会社
ねじ
5か月前
株式会社シブタニ
鍵材
2か月前
スガツネ工業株式会社
蝶番
10か月前
スガツネ工業株式会社
蝶番
7か月前
スガツネ工業株式会社
蝶番
6か月前
アイジー工業株式会社
ねじ
9か月前
スガツネ工業株式会社
蝶番
2か月前
株式会社バンダイ
吸盤
6か月前
株式会社バンダイ
吸盤
6か月前
株式会社シブタニ
鍵材
2か月前
スガツネ工業株式会社
蝶番
6か月前
株式会社シブタニ
扉用錠
3か月前
積水樹脂株式会社
ナット
1か月前
株式会社イマオコーポレーション
締結具
5か月前
三井住友建設株式会社
止水材
12日前
株式会社晃和
ナット
10か月前
株式会社YOCABITO
留め具
2か月前
ハードロック工業株式会社
ナット
1か月前
積水樹脂株式会社
ナット
3か月前
積水樹脂株式会社
ナット
3か月前
個人
ボルト
6か月前
積水樹脂株式会社
ナット
3か月前
積水樹脂株式会社
ナット
3か月前
株式会社カインズ
ハトメ
10か月前
ハードロック工業株式会社
ナット
1か月前
株式会社シブタニ
扉用錠
3か月前
永大産業株式会社
扉用蝶番
10か月前
有限会社佐野機工
縄留め具
3か月前
株式会社向洋技研
スタッド
11か月前
YKK AP株式会社
ハンドル
11か月前
株式会社シェルタージャパン
接続金具
20日前
続きを見る