TOP
|
特許
|
意匠
|
商標
意匠ウォッチ
Twitter
他の意匠を見る
発行日
2025-09-26
公報種別
意匠公報(S)
登録番号
1809300
登録日
2025-09-17
意匠に係る物品
指針読取装置
意匠分類
J1
-92(計量器、測定機械器具及び測量機械器具)
出願番号
2025005007
出願日
2025-03-13
意匠権者
日酸TANAKA株式会社
代理人
弁理士法人志賀国際特許事務所
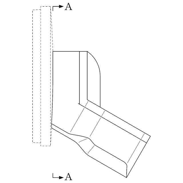
意匠に係る物品の説明
本物品は、「計器に取り付けた状態の各部名称参考図」に示すように、圧力計等の計器の窓に取り付けて使用するものであり、圧力計等の計器の指針の傾きを、内蔵するセンサーで読み取って、計器の示す数値を外部の機器(例えばスマホ等)に送信するための装置である。
意匠の説明
実線で表した部分が、意匠登録を受けようとする部分である。各斜視図及び各断面図を含めて意匠登録を受けようとする部分を特定している。一点鎖線は、意匠登録を受けようとする部分とその他の部分との境界のみを示す線である。各図の表面部に表された細線は、いずれも立体表面の形状を表す線である。「透明部を示す参考図」において水色で着色した箇所(破線で表される薄板)は透明である。
この意匠をJ-PlatPat(特許庁公式サイト)で参照する
関連意匠
日酸TANAKA株式会社
指針読取装置
2か月前
ムラテックKDS株式会社
巻尺
8か月前
新潟精機株式会社
巻尺
8か月前
個人
巻尺
8か月前
ムラテックKDS株式会社
巻尺
8か月前
株式会社フォトジラフ
定規
7か月前
株式会社アトラス
電子秤
6か月前
JUST MATCH株式会社
体温計
6か月前
株式会社小野測器
振動計
11か月前
JUST MATCH株式会社
体温計
6か月前
株式会社小野測器
振動計
11か月前
愛知時計電機株式会社
流量計
6か月前
株式会社アトラス
電子秤
6か月前
個人
載置台
3か月前
広東百事泰医療器械股ふん有限公司
温度計
4か月前
株式会社吉田機工岡山
量水標
1か月前
三和株式会社
温度計
6か月前
シンフォニアテクノロジー株式会社
分注機
1か月前
サーパス工業株式会社
流量計
12か月前
サーパス工業株式会社
流量計
12か月前
サーパス工業株式会社
流量計
12か月前
深せん市森禾実業有限公司
体重計
9か月前
株式会社エビス
水準器
12か月前
株式会社トプコン
測量機
6か月前
ベクトン・ディキンソン・アンド・カンパニー
管配置具
7か月前
ベクトン・ディキンソン・アンド・カンパニー
管配置具
1か月前
有限会社 マグマ冷熱工業
スケール
7か月前
横河電機株式会社
光測定器
8か月前
株式会社フジタ
打診装置
10か月前
メソスコープ テクノロジー カンパニー リミテッド
プローブ
19日前
メソスコープ テクノロジー カンパニー リミテッド
プローブ
19日前
横河電機株式会社
光測定器
11か月前
株式会社エネゲート
電力量計
4日前
株式会社エネゲート
電力量計
4日前
リガク アナリティカル デバイシーズ インコーポレイテッド
分析装置
6か月前
横河電機株式会社
光測定器
11か月前
続きを見る
他の意匠を見る