TOP特許意匠商標
意匠ウォッチ Twitter
発行日2025-09-25
公報種別意匠公報(S)
登録番号1809170
登録日2025-09-16
意匠に係る物品Panel for housing for filters
意匠分類D4-39(暖冷房機又は空調換気機器)
出願番号2023501869,29854402
出願日
意匠権者Camfil AB
代理人園田・小林弁理士法人
意匠に係る物品の説明
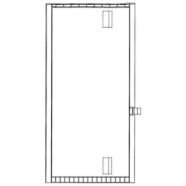
意匠の説明1.1 is a front perspective view of a filter extender panel; 1.2 is a back perspective view of the filter extender panel; 1.3 is a front view of the filter extender panel; 1.4 is a back view of the filter extender panel; 1.5 is a side view of the filter extender panel; 1.6 is a side view of the filter extender panel that is opposite the side shown in 1.5; 1.7 is a top view of the filter extender panel; 1.8 is a bottom view of the filter extender panel; portions of the filter panel shown in dotted lines form no part of the claimed design. 1.1)Perspective; 1.2)Perspective; 1.3)Front; 1.4)Back; 1.5)Side; 1.6)Side; 1.7)Top; 1.8)Bottom.
この意匠をJ-PlatPat(特許庁公式サイト)で参照する

関連意匠

Camfil AB
V-Bank air filter
1か月前
Camfil AB
V-Bank air filter
1か月前
Camfil AB
Housing for filters
9日前
Camfil AB
Housing for filters
9日前
Camfil AB
Housing for filters
1か月前
Camfil AB
Panel for housing for filters
15日前
深セン宝霧科技有限公司
加湿器
6か月前
個人
温風機
8か月前
佛山市土撥鼠智能科技有限公司
扇風機
1か月前
艾美特電器(深せん)有限公司
扇風機
7か月前
深せん市舞翔電子有限公司
扇風機
1か月前
台湾奥利安産業股フン有限公司
除湿機
7か月前
深せん市さん活科技有限公司
扇風機
7か月前
BRUNO株式会社
加湿器
7か月前
東莞市徳前電子科技有限公司
ファン
5か月前
リスカイ株式会社
扇風機
1か月前
リスカイ株式会社
扇風機
1か月前
東洋紡エムシー株式会社
送風機
7か月前
株式会社山善
暖房機
8か月前
GD Midea Environment Appliances MFG Co., Ltd.
Fan
1か月前
三菱電機株式会社
暖房機
1か月前
株式会社山善
暖房機
8か月前
株式会社山善
暖房機
5か月前
株式会社山善
暖房機
8か月前
株式会社山善
暖房機
5か月前
株式会社山善
加湿器
5か月前
個人
加湿器
8か月前
株式会社コロナ
加湿器
2か月前
ユーエス ギンズ インク
除湿機
8か月前
株式会社山善
加湿器
5か月前
広東澳運科技有限公司
扇風機
5か月前
GD Midea Environment Appliances MFG Co., Ltd.
Fan
1か月前
協立エアテック株式会社
制気口
9か月前
アイリスオーヤマ株式会社
扇風機
7か月前
日翔株式会社
カイロ
6か月前
佛山市小熊健康電器有限公司
加湿器
2か月前
続きを見る