TOP
|
特許
|
意匠
|
商標
意匠ウォッチ
Twitter
他の意匠を見る
発行日
2025-09-18
公報種別
意匠公報(S)
登録番号
1808738
登録日
2025-09-09
意匠に係る物品
半導体製造用ウエハ用支持具
意匠分類
K0
-790(K1~K9に属さないその他の産業用機械器具)
出願番号
2025010199
出願日
2025-05-23
意匠権者
エピクルー株式会社
代理人
弁理士法人白坂
意匠に係る物品の説明
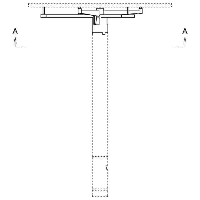
この意匠に係る物品は、半導体製造装置における薄膜結晶成長技術であるエピタキシャル成長装置の反応チャンバ内で用いられる半導体製造用ウエハ用支持具である。半導体製造用ウエハ用支持具はサセプタの上面に半導体ウエハを載置し、半導体ウエハを加熱して半導体ウエハの薄膜を成長させる。半導体製造用ウエハ用支持具は、半導体ウエハが載置される円盤状のサセプタと、サセプタを支持し上下に昇降する3本の短い腕部を有するサポートアームと、サポートアームよりも長い3本の腕部を有しサポートアームの降下時にサポートアームの腕部を収容するスリット部を備えるウエハーリフトと、ウエハーリフトの腕部の先端に当接しサセプタを貫通しサポートアームの降下に伴ってサセプタも降下した際にサセプタ上の半導体ウエハをサセプタの上面から浮かせるリフトピンを有する。
意匠の説明
実線で示した部分が部分意匠として登録を受けようとする部分である。「上方斜視図」および「下方斜視図」は、半導体製造用ウエハ用支持具の外観を斜め方向から見た様子を示す。「A-A線近傍の拡大図1」と「A-A線近傍の拡大図2」は右側面図における部分拡大図であり、「A-A線近傍の拡大図1」はサポートアームの上昇時を示し、「A-A線近傍の拡大図2」はサポートアームの降下時でありリフトピンがサセプタから突出している状態を示す。
この意匠をJ-PlatPat(特許庁公式サイト)で参照する
関連意匠
エピクルー株式会社
半導体製造用ウエハ用支持具
2か月前
東京窯業株式会社
匣鉢
4か月前
東京窯業株式会社
匣鉢
4か月前
東京窯業株式会社
匣鉢
4か月前
東京窯業株式会社
匣鉢
4か月前
三菱鉛筆株式会社
塗装器
10か月前
株式会社ミヤコシ
印刷機
5日前
株式会社プロスタッフ
塗布具
5か月前
ラム リサーチ コーポレーション
シール
3か月前
ラム リサーチ コーポレーション
シール
3か月前
ノードソン コーポレーション
溶融機
6か月前
大蔵工業株式会社
帯掛機
7か月前
大蔵工業株式会社
帯掛機
7か月前
ファインマシーンカタオカ株式会社
乾燥機
8か月前
立晏企業有限公司
支持具
2か月前
大蔵工業株式会社
帯掛機
8か月前
大蔵工業株式会社
帯掛機
8か月前
株式会社ミヤコシ
印刷機
5日前
株式会社KOKUSAI ELECTRIC
反応管
7か月前
ノードソン コーポレーション
溶融機
10日前
株式会社KOKUSAI ELECTRIC
反応管
7か月前
クアーズテック合同会社
透視窓体
6か月前
静岡製機株式会社
ヒーター
7か月前
クアーズテック合同会社
透視窓体
6か月前
黒崎播磨株式会社
スタッド
7か月前
クアーズテック合同会社
透視窓体
6か月前
株式会社ナガセインテグレックス
研磨装置
5か月前
株式会社創朋
破壊装置
7か月前
株式会社創朋
破壊装置
7か月前
ホシザキ株式会社
真空包装機
8か月前
セイコーエプソン株式会社
プリンター
1か月前
ホシザキ株式会社
真空包装機
8か月前
ホシザキ株式会社
真空包装機
8か月前
富士フイルム株式会社
塗布ヘッド
8か月前
日本製鉄株式会社
高炉用羽口
2か月前
ホシザキ株式会社
真空包装機
8か月前
続きを見る
他の意匠を見る