TOP
|
特許
|
意匠
|
商標
意匠ウォッチ
Twitter
他の意匠を見る
発行日
2025-07-08
公報種別
意匠公報(S)
登録番号
1803134
登録日
2025-06-30
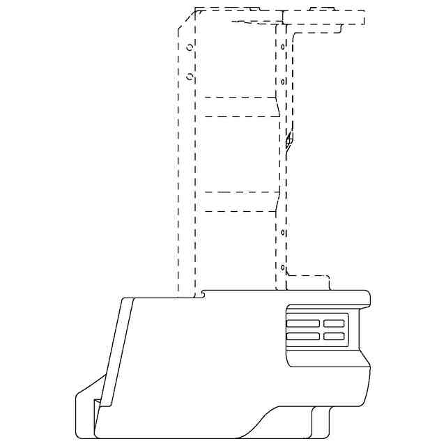
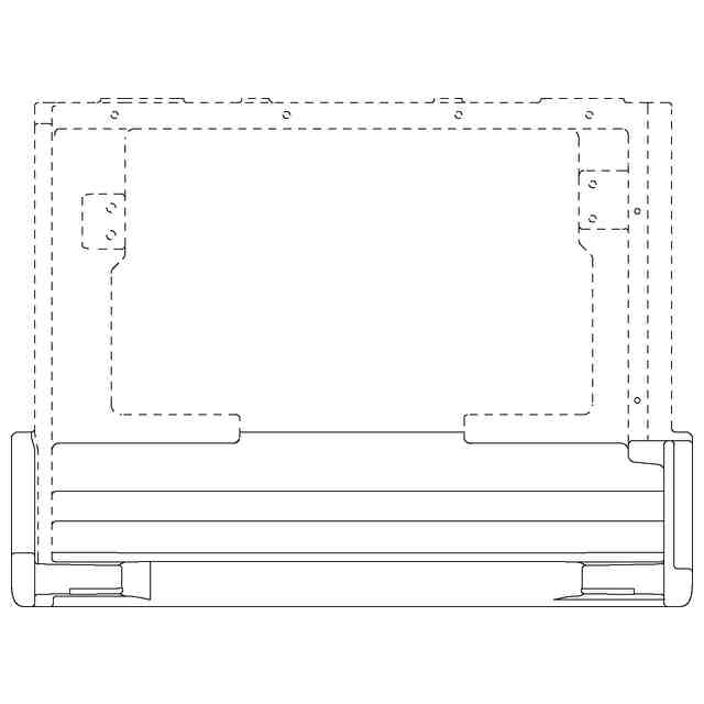
意匠に係る物品
建設機械用カウンタウエイト
意匠分類
K3
-3219(農業用機械器具、鉱山機械、建設機械等)
出願番号
2025000800
出願日
2025-01-16
意匠権者
株式会社加藤製作所
代理人
弁理士法人きさらぎ国際特許事務所
意匠に係る物品の説明
本物品は、例えば油圧ショベル等の建設機械に用いられるカウンタウエイトである。カウンタウエイト正面の下部には、4枚の帯状の反射板が左右にそれぞれ設けられている。
意匠の説明
実線で表した部分が部分意匠として意匠登録を受けようとする部分である。一点鎖線は意匠登録を受けようとする部分とその他の部分との境界のみを示す線である。
この意匠をJ-PlatPat(特許庁公式サイト)で参照する
関連意匠
株式会社加藤製作所
6日前
株式会社加藤製作所
2か月前
株式会社加藤製作所
4か月前
株式会社加藤製作所
操作レバー用グリップ
5か月前
株式会社加藤製作所
内燃機関
2か月前
株式会社加藤製作所
油圧ショベル
4か月前
株式会社加藤製作所
建設機械用コンソール
2か月前
株式会社加藤製作所
建設機械用コンソール
2か月前
株式会社加藤製作所
建設機械用クローラフレーム
2か月前
株式会社加藤製作所
建設機械用カウンタウエイト
4か月前
株式会社加藤製作所
建設機械用カウンタウエイト
4か月前
株式会社コジマ
鎌
4か月前
株式会社キッツメタルワークス
鈴
2か月前
株式会社コジマ
鎌
4か月前
個人
竹杭
2か月前
個人
蹄鉄
10か月前
サイボット株式会社
熊鈴
7か月前
個人
鋤簾
6か月前
個人
竹杭
2か月前
井関農機株式会社
作業車
4か月前
株式会社小松製作所
掘削爪
1か月前
株式会社カインズ
散布器
7か月前
株式会社カインズ
散布器
7か月前
和同産業株式会社
除雪機
4か月前
株式会社エーワン
捕獲網
2か月前
株式会社エーワン
捕獲網
2か月前
個人
植木鉢
10か月前
個人
散布機
2か月前
株式会社アイデック
草取機
4か月前
ニューデルタ工業株式会社
草刈機
10か月前
株式会社ASENSE
植木鉢
10か月前
有限会社東栄技工
植木鉢
10か月前
株式会社石黒金属
除草具
10か月前
株式会社ワイビーエム
攪拌翼
9か月前
旭川機械工業株式会社
磨砕機
9か月前
慈溪市華之杰塑料製品有限公司
把持部
10か月前
続きを見る
他の意匠を見る