TOP
|
特許
|
意匠
|
商標
意匠ウォッチ
Twitter
他の意匠を見る
発行日
2025-08-18
公報種別
意匠公報(S)
登録番号
1721997
登録日
2022-08-01
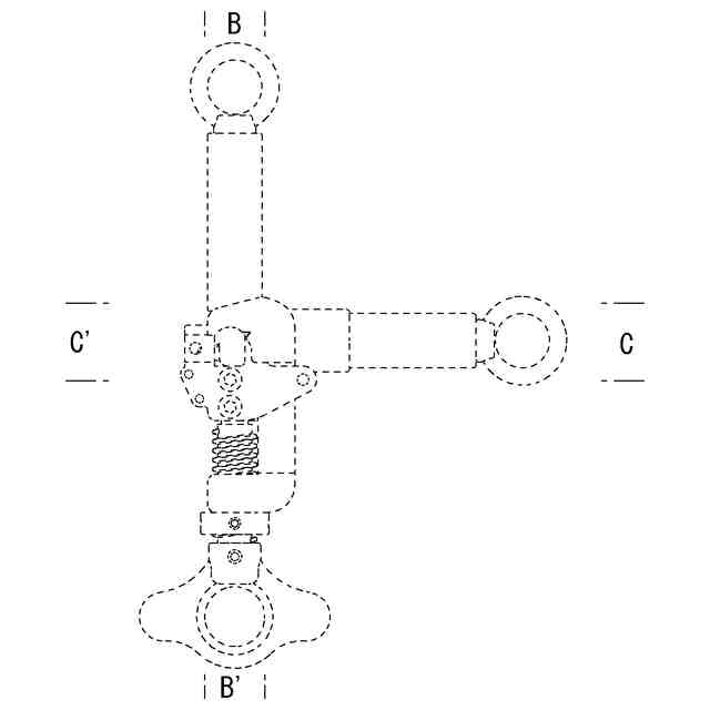
意匠に係る物品
被覆線剥離工具
意匠分類
K1
-227(利器及び工具)
出願番号
2021019894
出願日
2021-09-14
意匠権者
株式会社永木精機
代理人
個人
,
個人
意匠に係る物品の説明
本物品は、使用状態を示す参考図1(本物品の縦断面図)に示すように、剥離工具本体と、剥離工具本体に摺動可能に取り付けられた刃体保持体に設けられた刃体との間に被覆線を把持し、把持された被覆線を軸にして回転させることにより、被覆線の被覆部を剥ぎ取る、被覆線剥離工具である。使用状態を示す参考図2に示すように、本物品は、被覆線剥離工具の把持体に設けられた突条保持部に、被覆線に設けられた突条を嵌め込み、押圧軸を回転させて剥離工具本体と刃体との間に被覆線を把持し、押圧軸の第1の係合部と、第1の腕体の第2の係合部と、第2の腕体の第3の係合部とを使用して被覆線を軸にして被覆線剥離工具を回転させることにより、被覆線の一定領域の被覆部を一度に剥ぎ取ることができる。
意匠の説明
実線で表した部分が部分意匠として意匠登録を受けようとする部分である。
意匠ウォッチbot のツイートを見る
この意匠をJ-PlatPat(特許庁公式サイト)で参照する
関連意匠
株式会社永木精機
8か月前
株式会社永木精機
8か月前
株式会社永木精機
5か月前
株式会社永木精機
8か月前
株式会社永木精機
8か月前
株式会社永木精機
8か月前
株式会社永木精機
8か月前
株式会社永木精機
8か月前
株式会社永木精機
8か月前
株式会社永木精機
被覆線保持体
4か月前
株式会社永木精機
被覆線保持体
4か月前
株式会社永木精機
被覆線保持体
4か月前
株式会社永木精機
被覆線剥離工具
2か月前
株式会社永木精機
電工用ナイフ
5か月前
株式会社永木精機
配線回路基板
1か月前
株式会社永木精機
電工用ナイフ
5か月前
株式会社永木精機
被覆線剥離工具
2か月前
株式会社永木精機
帯状体巻き付け具
7か月前
株式会社永木精機
電線保持具
3か月前
株式会社永木精機
電線保持具
3か月前
株式会社永木精機
遠隔作業工具用操作杆保持具
7か月前
東北電力株式会社
締結工具
12か月前
株式会社永木精機
遠隔作業工具用操作杆保持具
7か月前
株式会社永木精機
掴線器
6か月前
株式会社永木精機
ラチェットレンチの切替爪
1か月前
株式会社永木精機
掴線器
6か月前
株式会社永木精機
掴線器
1か月前
株式会社永木精機
ラチェットレンチのグリップ
1か月前
東北電力株式会社
締結工具のカバー
11か月前
東北電力株式会社
サブブーム用スペーサ
15日前
株式会社ローレル・ジャパン
鋏
5か月前
株式会社ヒカリ
鋏
1か月前
個人
鏝
3か月前
株式会社アマダ
金型
6か月前
株式会社ワークス松下
定規
4か月前
キング砥石株式会社
砥石
6か月前
続きを見る
他の意匠を見る