TOP
|
特許
|
意匠
|
商標
特許ウォッチ
Twitter
他の特許を見る
公開番号
2025135665
公報種別
公開特許公報(A)
公開日
2025-09-19
出願番号
2024033537
出願日
2024-03-06
発明の名称
粒状材料の粒度分布測定システム及び粒度分布測定方法
出願人
西松建設株式会社
代理人
個人
,
個人
主分類
G01N
15/0227 20240101AFI20250911BHJP(測定;試験)
要約
【課題】構造物の構築に使用する粒状材料の粒度分布を迅速かつ精度良く測定できるようにする。
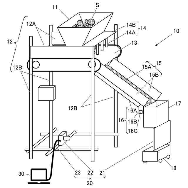
【解決手段】測定対象の粒状材料が投入されるホッパー(11)と、ホッパーの下方に配設され、ホッパーから排出された粒状材料を所定の速度で移送させる移送手段(13)と、移送手段により移送されてくる粒状材料を分散させる分散手段(14)と、移送手段の移送方向前端側の下方に配設され所定値以下の径の粒子を分離可能な機能を有し前方に下り傾斜する傾斜板を有する材料流下手段(15)と、傾斜板の下面側に設けられ分離された粒子を回収する回収手段(16)と、互いに平行な一対の壁体を有し前記傾斜板の前端側の下方に鉛直姿勢で配設された整流手段(17)と、整流手段の下方に設けられた画像撮影装置(20)と、画像撮影装置によって得られた粒状材料の画像に基づいて粒状材料の粒度分布を測定する画像解析装置(30)と、を備えるようにした。
【選択図】図1
特許請求の範囲
【請求項1】
測定対象の粒状材料が投入されるホッパーと、
前記ホッパーの下方に配設され、前記ホッパーの排出口から排出された粒状材料を所定の速度で移送させる移送手段と、
前記移送手段により移送されてくる粒状材料を分散させる分散手段と、
前記移送手段の移送方向前端側の下方に配設され、所定値以下の径の粒子を分離可能な機能を有し前方に下り傾斜する傾斜板を有する材料流下手段と、
前記傾斜板の下面側に設けられ、分離された粒子を回収する回収手段と、
互いに平行な一対の壁体を有し前記傾斜板の前端側の下方に鉛直姿勢で配設された整流手段と、
前記整流手段の下方に設けられた画像撮影装置と、
前記画像撮影装置によって得られた前記粒状材料の画像に基づいて前記粒状材料の粒度分布を測定する画像解析装置と、
を備えることを特徴とする粒度分布測定システム。
続きを表示(約 1,200 文字)
【請求項2】
前記傾斜板は、所定のサイズの目を有するメッシュパネルであり、
前記回収手段は、前記メッシュパネルの下面側に所定の間隔をおいて配設されたシュートおよび前記シュートの下端部に設けられた回収樋を備えていることを特徴とする請求項1に記載の粒度分布測定システム。
【請求項3】
前記分散手段は、所定の間隔を有し互いに平行であって鉛直姿勢にて配設された複数の棒状部材により構成されていることを特徴とする請求項1又は請求項2に記載の粒度分布測定システム。
【請求項4】
前記画像撮影装置は、前記整流手段より層状をなして流下する粒状材料と対向するように配設された撮像手段と、前記撮像手段と対向し流下する前記粒状材料を背後から明るく照らすように配設された面状の照明手段と、を備えていることを特徴とする請求項3に記載の粒度分布測定システム。
【請求項5】
請求項1に記載の粒度分布測定システムを用いた粒度分布測定方法であって、
前記ホッパーの中に所定量の粒状材料を投入する材料投入工程と、
前記移送手段により前記ホッパーから排出された粒状材料を前記傾斜板へ向かって所定の速度で移送する材料移送工程と、
前記傾斜板によって所定値以下の径の粒子を分離しつつ流下させる細粒分離工程と、
前記傾斜板によって分離された細粒分を前記回収手段により回収する細粒回収工程と、
前記傾斜板によって細粒分が分離された粒状材料を前記整流手段により整流する整流工程と、
前記整流工程によって整流され流下する粒状材料を前記画像撮影装置によって撮影する撮影工程と、
前記画像撮影装置によって撮影した前記粒状材料の画像を前記画像解析装置によって解析して前記粒状材料に含まれる粒子の径を測定し暫定粒度分布を算出する画像解析工程と、
前記細粒回収工程によって回収された全細粒分の重量または前記撮影工程で撮影され回収された粒状材料の重量を計測する重量計測工程と、
前記重量計測工程の計測結果より取得した全細粒分の重量に基づいて前記暫定粒度分布を補正し、前記ホッパーに投入された前記所定量の粒状材料の粒度分布を算出する粒度分布算出工程と、
を有することを特徴とする粒度分布測定方法。
【請求項6】
前記粒度分布算出工程においては、
前記重量計測工程の計測結果より取得した全細粒分の重量の、前記ホッパーに投入された全粒状材料の重量に対する比率である細粒分重量比率を算出し、
前記画像解析工程によって算出された前記暫定粒度分布のうち最も粒径の小さな粒子の重量比率を、前記細粒分重量比率だけ嵩上げし、その嵩上げ量に応じて前記暫定粒度分布を示すデータを比例圧縮して全粒状材料についての粒度分布を算出する
ことを特徴とする請求項5に記載の粒度分布測定方法。
発明の詳細な説明
【技術分野】
【0001】
本発明は、画像処理により盛土材料のような粒状材料の粒度分布を測定する粒状材料の粒度分布測定システム及び粒度分布測定方法に関する。
続きを表示(約 2,200 文字)
【背景技術】
【0002】
造成工事における盛土やダム建設におけるコンクリートの製造過程においては、材料として使用する土石の品質管理のために粒度分布を把握する必要がある。従来、材料の粒度分布の把握には、一般に、ふるい分け試験が用いられていたが、計測に多くの人手と時間を要するため、現場管理を担う担当者の負担が大きいとともに、計測結果が得られるまでに時間を要するという課題があった。
【0003】
そこで、盛土材料をカメラで撮影し、得られた画像データを解析して粒度分布を測定する技術が提案されている(例えば特許文献1、2、3)。
このうち、特許文献1には、測定対象の粒状材料を揚送するベルトコンベアと、鉛直方向に対向して配設した一対の板状部材からなり粒状材料を均一に拡散させて流下させるための拡散流下手段と、ベルトコンベアで揚送された粒状材料を拡散流下手段まで搬送するフィーダーと、拡散流下手段により拡散された材料を撮影する撮像手段とを備え、画像解析で材料の粒度分布を算出する品質測定・管理方法およびシステムが開示されている。
【0004】
また、特許文献2には、ベルトコンベアで搬送されて来た材料を上流側から下流側に向けて流下させる傾斜板と、傾斜板の下流側に設けられたスクリーンと、スクリーンを照らす照明部と、スクリーンの表側の空間を通過する材料を撮影する撮影部とを備え、傾斜板の表面には複数の拡散用の突起を画像撮影装置およびそれを用いた粒度分布測定システムが開示されている。
特許文献3には、材料を搬送するベルトコンベアの先端側に、流下する材料を整流する箱状の整流部を設け、この整流部の中に複数の回転するピンを配設して、材料を分散するようにした画像撮影装置および粒度分布測定システムが開示されている。
【先行技術文献】
【特許文献】
【0005】
特許第7267056号公報
特開2012-202757号公報
特開2018-155612号公報
【発明の概要】
【発明が解決しようとする課題】
【0006】
画像解析による粒度測定においては、粒子径を正しく把握するために各粒子の形状を正確に取得する必要があり、粒子同士が重ならないよう、粒子が分散した状態で撮影することが重要となる。しかし、特許文献1に記載されている品質測定・管理方法にあっては、測定対象の粒状材料の流量が多くなった場合に、粒子同士が重なるおそれがあるため、測定精度が低下するという課題がある。
【0007】
これに対し、特許文献2や3に記載されている粒度分布測定システムにおいては、材料を流下させる傾斜板または整流部に複数の拡散用の突起または回転ピンを設けていることにより、材料の重なりを減少させることができる。しかしながら、使用するカメラの解像度等との関係で、画像解析により検出できる材料の粒径には限界があり、細粒の径まで把握することは困難である。また、材料中に細粒が多く含まれていると、細粒同士が重なって径の大きな粒子の撮影を妨げ、影になった粒子の形状の認識が困難になってしまうという課題がある。
【0008】
本発明は、上記課題に着目してなされたもので、盛土やダムなどの構造物の構築に使用する土石のような粒状材料の粒度分布を、迅速かつ精度良く測定できる粒状材料の粒度分布測定システム及び粒度分布測定方法を提供することを目的とする。
【課題を解決するための手段】
【0009】
上記課題を解決するため、本出願に係る粒度分布測定システムは、
測定対象の粒状材料が投入されるホッパーと、
前記ホッパーの下方に配設され、前記ホッパーの排出口から排出された粒状材料を所定の速度で移送させる移送手段と、
前記移送手段により移送されてくる粒状材料を分散させる分散手段と、
前記移送手段の移送方向前端側の下方に配設され、所定値以下の径の粒子を分離可能な機能を有し前方に下り傾斜する傾斜板と、
前記傾斜板の下面側に設けられ、分離された粒子を回収する回収手段と、
互いに平行な一対の壁体を有し前記傾斜板の前端側の下方に鉛直姿勢で配設された整流手段と、
前記整流手段の下方に設けられた画像撮影装置と、
前記画像撮影装置によって得られた前記粒状材料の画像に基づいて前記粒状材料の粒度分布を測定する画像解析装置と、
を備えるようにしたものである。
【0010】
上記構成を有する粒度分布測定システムによれば、ホッパーに測定対象の粒状材料を投入するだけで、画像撮影装置によって粒状材料の画像を取得し、取得した画像を画像解析装置が解析することで粒状材料の粒度分布を、迅速かつ精度良く測定することができる。また、傾斜板によって測定対象の粒状材料に含まれる細粒分を除去することができるため、画像撮影装置により撮影する際に細粒分によって細粒同士が重なって径の大きな粒子の撮影を妨げ、影になった粒子の形状の認識が困難になるのを回避することができる。さらに、粒状材料を分散させる分散手段を設けているため、粒子同士が重なるのを減少させ、測定精度が低下するのを防止することができる。
【発明の効果】
(【0011】以降は省略されています)
この特許をJ-PlatPat(特許庁公式サイト)で参照する
関連特許
西松建設株式会社
情報通信システム
8日前
西松建設株式会社
コア採取用ビットおよびコア採取方法
29日前
西松建設株式会社
空撮映像表示システム、及び、空撮映像表示プログラム
1か月前
西松建設株式会社
粒状材料の粒度分布測定システム及び粒度分布測定方法
1か月前
個人
メジャー文具
1か月前
個人
採尿及び採便具
8日前
日本精機株式会社
検出装置
2日前
個人
高精度同時多点測定装置
23日前
個人
アクセサリー型テスター
24日前
甲神電機株式会社
電流検出装置
2日前
株式会社ミツトヨ
測定器
14日前
ユニパルス株式会社
ロードセル
1か月前
アズビル株式会社
電磁流量計
17日前
トヨタ自動車株式会社
監視装置
29日前
株式会社ヨコオ
ソケット
1か月前
株式会社チノー
放射光測温装置
1か月前
株式会社ヨコオ
ソケット
29日前
ダイキン工業株式会社
監視装置
28日前
長崎県
形状計測方法
24日前
個人
非接触による電磁パルスの測定方法
今日
個人
システム、装置及び実験方法
17日前
ローム株式会社
半導体装置
22日前
ローム株式会社
半導体装置
22日前
愛知時計電機株式会社
ガスメータ
14日前
TDK株式会社
磁気センサ
29日前
日本信号株式会社
距離画像センサ
今日
愛知電機株式会社
軸部材の外観検査装置
11日前
大和製衡株式会社
組合せ計量装置
11日前
双庸電子株式会社
誤配線検査装置
3日前
大和製衡株式会社
組合せ計量装置
11日前
TDK株式会社
ガスセンサ
1か月前
TDK株式会社
電磁波センサ
1か月前
日本特殊陶業株式会社
センサ
14日前
日東精工株式会社
振動波形検査装置
3日前
日本特殊陶業株式会社
センサ
28日前
株式会社不二越
X線測定装置
今日
続きを見る
他の特許を見る