TOP
|
特許
|
意匠
|
商標
特許ウォッチ
Twitter
他の特許を見る
10個以上の画像は省略されています。
公開番号
2025150361
公報種別
公開特許公報(A)
公開日
2025-10-09
出願番号
2024051200
出願日
2024-03-27
発明の名称
コア採取用ビットおよびコア採取方法
出願人
西松建設株式会社
,
フジモリ産業株式会社
代理人
個人
,
個人
主分類
E21B
10/02 20060101AFI20251002BHJP(地中もしくは岩石の削孔;採鉱)
要約
【課題】吹付けコンクリートを好適に採取することを可能にするコア採取用ビットおよびコア採取方法を実現する。
【解決手段】コア採取用ビット1は、切削チップ20が配設されているビット本体10の先端部11を切削対象に向けて反時計回りに回転されることで、切削チップ20が切削対象を好適に切削するようになっているので、このコア採取用ビット1をドリルジャンボ100のロッド101の先端部に取り付けて使用することで、坑内にて施工した吹付けコンクリートを好適に切削して、円柱状のコアを採取することができる。
【選択図】図1
特許請求の範囲
【請求項1】
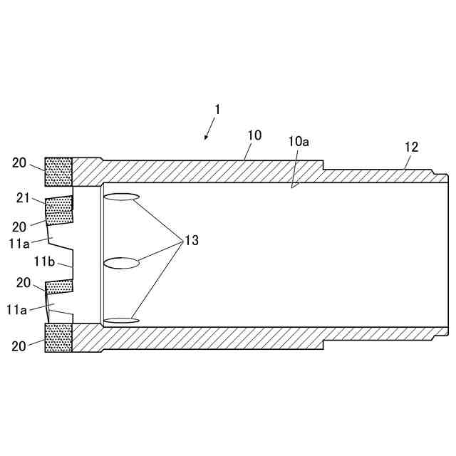
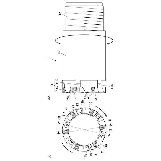
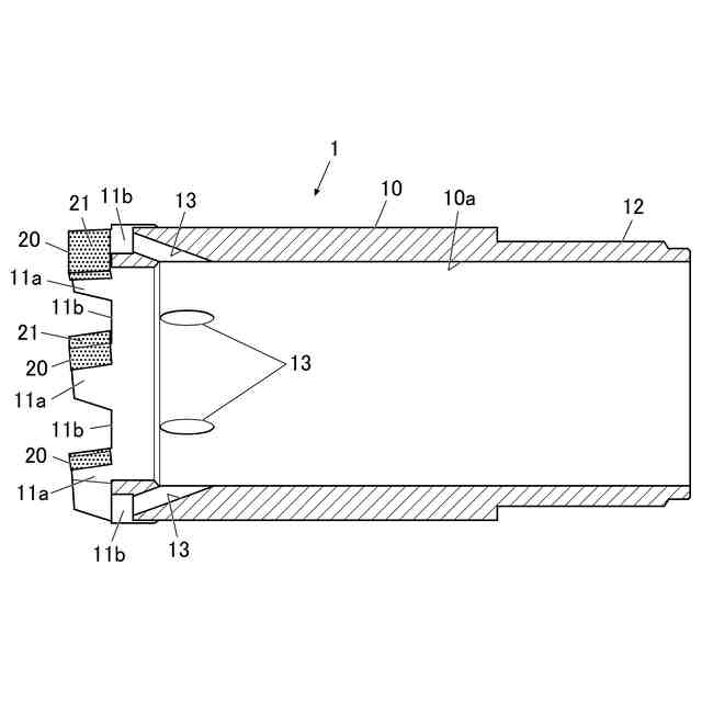
円筒状のビット本体と、前記ビット本体の先端部に所定間隔あけて配設されている複数の切削チップとを備え、前記ビット本体の先端部を切削対象に向けて反時計回りに回転されるように構成されているコア採取用ビットであって、
前記切削チップは、当該コア採取用ビットの回転方向に向ける切削面を有しており、
前記切削チップは、前記切削面の先端縁が前記ビット本体の先端部よりも突出し、前記切削面の先端縁が前記ビット本体側へ傾斜した姿勢で、前記ビット本体の先端部に配設されていることを特徴とするコア採取用ビット。
続きを表示(約 540 文字)
【請求項2】
前記ビット本体には、前記ビット本体の内周面から先端部に貫通した通水孔が設けられており、
前記ビット本体の先端部における前記通水孔の開口が、前記切削面の先端縁よりも前記ビット本体側となる箇所に形成されていることを特徴とする請求項1に記載のコア採取用ビット。
【請求項3】
前記ビット本体の後端部に接続される円筒状のコネクターを備え、
前記コネクターは前記ビット本体に接続された状態で、前記ビット本体の内部空間と連通される収容部を有していることを特徴とする請求項1に記載のコア採取用ビット。
【請求項4】
請求項1~3のいずれか一項に記載のコア採取用ビットを用いたコア採取方法であって、
前記コア採取用ビットをドリルジャンボのロッドの先端部に取り付け、
前記ドリルジャンボによって前記コア採取用ビットを反時計回りに回転させて、坑内にて施工した吹付けコンクリートを切削してコアを採取することを特徴とするコア採取方法。
【請求項5】
前記ドリルジャンボによって前記コア採取用ビットを回転させる際、前記ドリルジャンボによる打撃は加えないことを特徴とする請求項4に記載のコア採取方法。
発明の詳細な説明
【技術分野】
【0001】
本発明は、吹付けコンクリートの品質管理を行うためのコア採取用ビットおよびコア採取方法に関する。
続きを表示(約 1,500 文字)
【背景技術】
【0002】
従来、NATM(New Austrian Tunnelling Method)と称される工法による山岳トンネル工事が実施されており、坑内の現場では施工面へのコンクリートの吹き付けが行われている。
その山岳トンネル工事において吹付けコンクリートの品質管理を行うためには、坑内の現場にて施工面とは別に所定の型枠にコンクリートを吹き付け、その型枠を坑外に搬出した後、コア抜き機でコアを採取する手法がとられており、採取したコアの圧縮強度などが測定されている(例えば、非特許文献1参照。)。
【0003】
また、地盤を掘削してコアを採取するためのコアビットとして、例えば特許文献1~3のようなものが用いられている。
【先行技術文献】
【特許文献】
【0004】
特開2022-12833号公報
特開2017-8502号公報
特開平1-276041号公報
【非特許文献】
【0005】
2018年制定 コンクリート標準示方書[規準編] 土木学会規準および関連規準,P.337-338
【発明の概要】
【発明が解決しようとする課題】
【0006】
しかしながら、上記したコアを採取する手法の場合、型枠の組み立て、型枠の搬入や搬出、坑外でのコア抜き機の設置などといった工程が多く、その作業は煩雑であった。
また、坑内の現場にて施工した吹付けコンクリートを直接採取する原位置試験を試みるも、市販されている一般的なコアビットではコアを採取することが困難であった。
【0007】
そこで、本発明者らは鋭意検討し、坑内の現場において吹付けコンクリートを直接採取するための技術を開発するに至った。
【0008】
本発明の目的は、吹付けコンクリートを好適に採取することを可能にするコア採取用ビットおよびコア採取方法を提供することである。
【課題を解決するための手段】
【0009】
以上の課題を解決するため、請求項1に記載の発明は、
円筒状のビット本体と、前記ビット本体の先端部に所定間隔あけて配設されている複数の切削チップとを備え、前記ビット本体の先端部を切削対象に向けて反時計回りに回転されるように構成されているコア採取用ビットであって、
前記切削チップは、当該コア採取用ビットの回転方向に向ける切削面を有しており、
前記切削チップは、前記切削面の先端縁が前記ビット本体の先端部よりも突出し、前記切削面の先端縁が前記ビット本体側へ傾斜した姿勢で、前記ビット本体の先端部に配設されていることを特徴とする。
なお、「切削面の先端縁がビット本体側へ傾斜した姿勢」を換言する場合、「切削面の先端縁が回転方向の後方となるよう傾斜した姿勢」とすることができる。
【0010】
請求項2に記載の発明は、請求項1に記載のコア採取用ビットにおいて、
前記ビット本体には、前記ビット本体の内周面から先端部に貫通した通水孔が設けられており、
前記ビット本体の先端部における前記通水孔の開口が、前記切削面の先端縁よりも前記ビット本体側となる箇所に形成されていることを特徴とする。
なお、通水孔の開口が形成されている箇所について換言する場合、「切削チップが配設されている位置よりも回転方向の前方となる箇所」とすることができる。
(【0011】以降は省略されています)
この特許をJ-PlatPat(特許庁公式サイト)で参照する
関連特許
西松建設株式会社
耐震補強方法
10日前
西松建設株式会社
情報通信システム
1か月前
西松建設株式会社
コア採取用ビットおよびコア採取方法
2か月前
西松建設株式会社
空撮映像表示システム、及び、空撮映像表示プログラム
2か月前
西松建設株式会社
粒状材料の粒度分布測定システム及び粒度分布測定方法
2か月前
戸田建設株式会社
距離計測器を備えた吹付けノズル装置
18日前
個人
掘削機
5か月前
日特建設株式会社
切断装置
1か月前
株式会社奥村組
地山探査装置
3か月前
株式会社奥村組
地山探査装置
3か月前
株式会社奥村組
地山探査装置
3か月前
株式会社奥村組
地山探査方法
3か月前
株式会社笠原建設
横孔形成方法
7か月前
株式会社奥村組
シールド掘進機
2か月前
日特建設株式会社
削孔システム
18日前
株式会社奥村組
シールド掘進機
6か月前
日特建設株式会社
ボーリング装置
8か月前
岐阜工業株式会社
トンネルセントル
2か月前
花王株式会社
岩盤の掘削方法
5か月前
株式会社熊谷組
天井板撤去装置
7か月前
個人
掘削機、及び、資源回収システム
7か月前
株式会社奥村組
泥土圧シールド掘進機
7か月前
株式会社奥村組
セグメントの組立方法
3か月前
個人
オープンシールド機
3か月前
個人
オープンシールド機
3か月前
個人
箱形ルーフおよびその施工法
2か月前
岐阜工業株式会社
コンクリート分配装置
1か月前
大阪瓦斯株式会社
牽引装置
6か月前
デンカ株式会社
静的破砕方法
3か月前
株式会社金澤製作所
発進坑口のエントランス装置
6か月前
個人
メタンハイドレート等海底鉱物資源の採取方法
4か月前
大阪瓦斯株式会社
切欠開裂治具
7か月前
地中空間開発株式会社
トンネル掘削機
1か月前
岐阜工業株式会社
トンネルセントルの妻板装置
3か月前
株式会社ケー・エフ・シー
トンネル水圧調整装置
2か月前
株式会社奥村組
地山探査装置に用いる地山保持材
3か月前
続きを見る
他の特許を見る