TOP
|
特許
|
意匠
|
商標
特許ウォッチ
Twitter
他の特許を見る
公開番号
2025164555
公報種別
公開特許公報(A)
公開日
2025-10-30
出願番号
2024068606
出願日
2024-04-19
発明の名称
情報通信システム
出願人
西松建設株式会社
代理人
弁理士法人井上国際特許商標事務所
,
個人
,
個人
,
個人
,
個人
主分類
H04W
4/38 20180101AFI20251023BHJP(電気通信技術)
要約
【課題】 エッジデバイスを複数導入する場合であっても、設置する機器が増大することを抑制でき、現場での運用コストの増大も抑制できる情報通信システムを提供する。
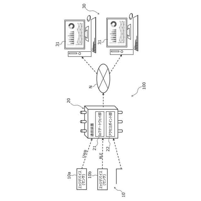
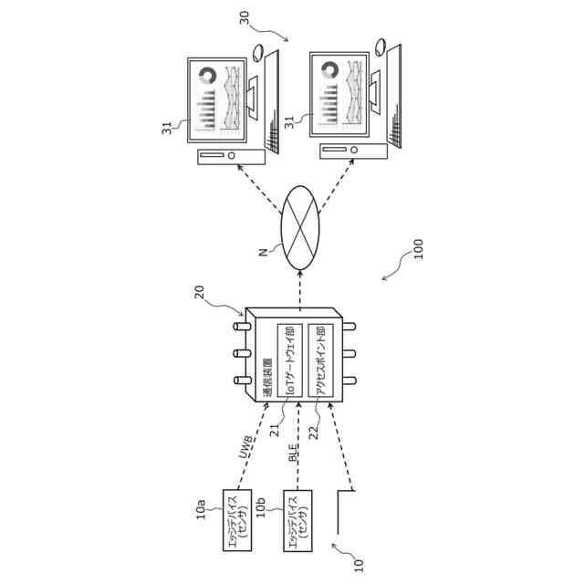
【解決手段】 情報通信システム100は、複数のエッジデバイス10と、エッジデバイス10と情報通信可能に接続され、エッジデバイス10毎に異なる形式の無線通信にて、エッジデバイス10にて取得された情報をそれぞれ受信するIoTゲートウェイ部21、及び、外部通信ネットワークNと情報通信可能に接続され、IoTゲートウェイ部21にて受信された情報を外部通信ネットワークNに送信するアクセスポイント部22、をそれぞれ一体的に備えた通信装置20と、外部通信ネットワークNと情報通信可能に接続され、外部通信ネットワークNを介して通信装置20にて送信された情報を受信し、受信した情報として、エッジデバイス10にて取得された情報を処理して表示する端末装置30と、を備える。
【選択図】 図1
特許請求の範囲
【請求項1】
複数のエッジデバイスと、
前記エッジデバイスと情報通信可能に接続され、前記エッジデバイス毎に異なる形式の無線通信にて、前記エッジデバイスにて取得された情報をそれぞれ受信するIoTゲートウェイ部、及び、外部通信ネットワークと情報通信可能に接続され、前記IoTゲートウェイ部にて受信された情報を前記外部通信ネットワークに送信するアクセスポイント部、をそれぞれ一体的に備えた通信装置と、
前記外部通信ネットワークと情報通信可能に接続され、前記外部通信ネットワークを介して前記通信装置にて送信された情報を受信し、前記受信した情報として、前記エッジデバイスにて取得された情報を処理して表示する端末装置と、
を備えた
情報通信システム。
続きを表示(約 850 文字)
【請求項2】
請求項1に記載の情報通信システムにおいて、
前記端末装置は、
モニタを備え、
前記エッジデバイスにて取得された情報を、前記モニタに表示されるダッシュボードにて可視化する
情報通信システム。
【請求項3】
請求項1又は請求項2に記載の情報通信システムにおいて、
前記エッジデバイスと、前記IoTゲートウェイ部との前記無線通信の形式は、
Wi-Fi(登録商標)、Bluetooth Low Energy(登録商標)、及び、Ultra Wide Bandのうちから2つ以上が用いられる
情報通信システム。
【請求項4】
請求項3に記載の情報通信システムにおいて、
前記エッジデバイスと、前記IoTゲートウェイ部との前記無線通信の形式は、
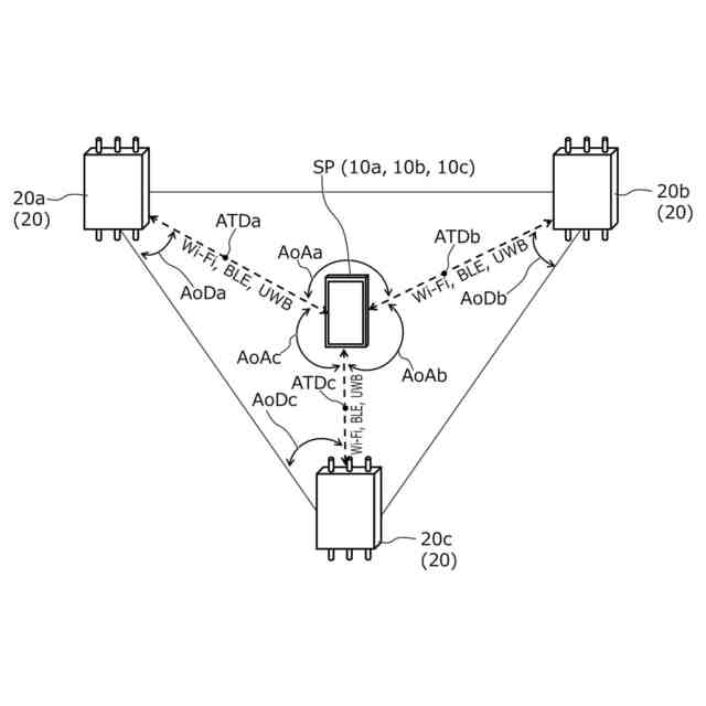
Wi-Fi(登録商標)、Bluetooth Low Energy(登録商標)、及び、Ultra Wide Bandの3つが用いられ、
1つの測位対象に、3つの前記通信装置を用いて前記測位対象を測位する場合に、
前記エッジデバイスにより取得される前記測位対象の3点測位情報、及び、前記測位対象と前記通信装置との間における放射角情報が、前記Wi-Fi(登録商標)の形式で無線通信され、
前記エッジデバイスにより取得される前記測位対象と前記通信装置との間における受信角情報が、前記Bluetooth Low Energy(登録商標)の形式で無線通信され、
前記エッジデバイスにより取得される前記測位対象と前記通信装置との間における電波到達時差情報が、前記Ultra Wide Bandの形式で無線通信され、
それぞれの前記無線通信により得られる前記3点測位情報、前記放射角情報、前記受信角情報、及び、前記電波到達時差情報に基づいて、前記測位対象を測位する
情報通信システム。
発明の詳細な説明
【技術分野】
【0001】
本発明は、エッジデバイスにて取得された情報を通信するための情報通信システムに関する。
続きを表示(約 1,500 文字)
【背景技術】
【0002】
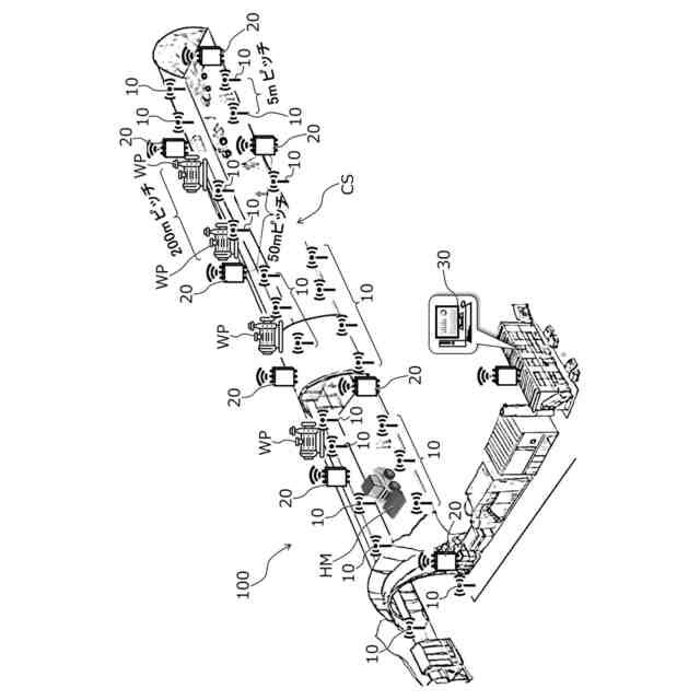
従来、山岳トンネルの施工等で、計測器にて計測されたデータを回収する手法が、知られている。特許文献1では、地山計測システムが開示されている。このシステムには、ゲートウェイと、アクセスポイントと、が備えられている。
【0003】
当該システムにおいては、ゲートウェイ、及び、アクセスポイントが、それぞれ別体として配置され、通信用のLAN(Local Area Network)にて接続されている。ゲートウェイは、計測器からの計測データを無線通信により受信する。アクセスポイントは、無線通信を実行するようになっており、サーバ装置等にデータを送信する。
【先行技術文献】
【特許文献】
【0004】
特開2022-014396号公報
【発明の概要】
【0005】
上述した特許文献1の技術によれば、計測データの回収タイミングや、計測場所の制限が緩和され、データを施工等にすみやかにフィードバックできる。この技術に関連し、IoTセンサを利用する場合を考える。この場合、複数のセンサで取得された各データは、IoTゲートウェイへ送信される。
【0006】
一般に、センサとIoTゲートウェイとの間では、無線通信が実行される。この無線通信の状況に応じて、IoTゲートウェイを追加設置する必要が生じる。例えば、見通しが悪く、センサからのデータがIoTゲートウェイへ届きにくい状況等においては、IoTゲートウェイを複数設置する必要が生じる。また、別種類の複数のセンサに対応するように、IoTゲートウェイも複数設置する必要が生じる。このため、1つの設置場所に、複数のセンサの種類に応じた各IoTゲートウェイが、重複するように設置されることになる。
【0007】
従って、IoTセンサを導入していくほど、設置する機器が増大していき、現場での運用コストも膨らんでしまうおそれがある。更に、センサのデータを可視化する場合に、Webプラットフォームが別々となり、ユーザビリティが低下する。以上の問題を解決するための技術が、要望されている。
【0008】
上記を鑑み、本発明の目的は、センサ等のエッジデバイスにて取得された情報を通信するための情報通信システムにおいて、エッジデバイスを複数導入する場合であっても、設置する機器が増大することを抑制でき、現場での運用コストの増大も抑制できるものを提供することにある。
【課題を解決するための手段】
【0009】
この技術的課題を解決するための本発明の技術的手段は、以下に示す点を特徴とする。本発明の情報通信システムは、複数のエッジデバイスと、前記エッジデバイスと情報通信可能に接続され、前記エッジデバイス毎に異なる形式の無線通信にて、前記エッジデバイスにて取得された情報をそれぞれ受信するIoTゲートウェイ部、及び、外部通信ネットワークと情報通信可能に接続され、前記IoTゲートウェイ部にて受信された情報を前記外部通信ネットワークに送信するアクセスポイント部、をそれぞれ一体的に備えた通信装置と、前記外部通信ネットワークと情報通信可能に接続され、前記外部通信ネットワークを介して前記通信装置にて送信された情報を受信し、前記受信した情報として、前記エッジデバイスにて取得された情報を処理して表示する端末装置と、を備える。
【0010】
本発明の情報通信システムにおいて、前記端末装置は、モニタを備え、前記エッジデバイスにて取得された情報を、前記モニタに表示されるダッシュボードにて可視化する。
(【0011】以降は省略されています)
この特許をJ-PlatPat(特許庁公式サイト)で参照する
関連特許
西松建設株式会社
耐震補強方法
10日前
西松建設株式会社
情報通信システム
1か月前
戸田建設株式会社
距離計測器を備えた吹付けノズル装置
18日前
個人
イヤーピース
1か月前
個人
イヤーマフ
1か月前
個人
監視カメラシステム
1か月前
キーコム株式会社
光伝送線路
1か月前
個人
スイッチシステム
1か月前
サクサ株式会社
中継装置
2か月前
WHISMR合同会社
収音装置
2か月前
個人
スキャン式車載用撮像装置
1か月前
サクサ株式会社
中継装置
2か月前
キヤノン株式会社
撮像装置
10日前
キヤノン株式会社
撮像装置
3日前
キヤノン株式会社
撮像装置
3日前
キヤノン株式会社
撮像装置
3日前
アイホン株式会社
電気機器
2か月前
キヤノン電子株式会社
画像読取装置
1か月前
個人
ワイヤレスイヤホン対応耳掛け
2か月前
サクサ株式会社
無線通信装置
2か月前
サクサ株式会社
無線通信装置
2か月前
ヤマハ株式会社
放音制御装置
1か月前
キヤノン電子株式会社
画像読取装置
1か月前
キヤノン電子株式会社
画像読取装置
1か月前
キヤノン電子株式会社
画像読取装置
2か月前
サクサ株式会社
無線システム
1か月前
個人
映像表示装置、及びARグラス
1か月前
株式会社リコー
画像形成装置
1か月前
キヤノン株式会社
画像処理装置
1か月前
キヤノン株式会社
情報処理装置
18日前
キヤノン電子株式会社
シート搬送装置
1か月前
キヤノン株式会社
撮像システム
2か月前
日本電気株式会社
海底分岐装置
1か月前
個人
発信機及び発信方法
1か月前
大日本印刷株式会社
写真撮影装置
2か月前
シャープ株式会社
端末装置
1か月前
続きを見る
他の特許を見る