TOP
|
特許
|
意匠
|
商標
意匠ウォッチ
Twitter
他の意匠を見る
発行日
2025-11-25
公報種別
意匠公報(S)
登録番号
1813422
登録日
2025-11-14
意匠に係る物品
キーボード付き携帯用電子機器用ケース
意匠分類
H7
-131(電子情報入出力機器)
出願番号
2024026264,63/662,389,29/948,745,18/766,523
出願日
2024-12-19
意匠権者
パイオニア スクエア ブランズ,インコーポレイテッド
代理人
個人
,
個人
,
個人
,
個人
意匠に係る物品の説明
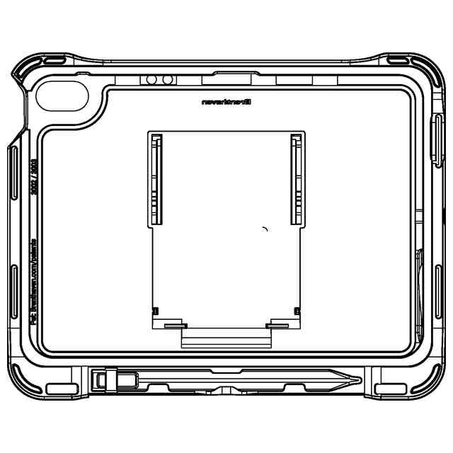
本物品は、ケース部とキーボードから構成される、キーボード付きの携帯用電子機器用のケースである。斜視図1のケース部背面中央において、スタンド機構をスライドさせた結果、上部にあらわれた略横長長方形部分は窪みである。
意匠の説明
図面に表された文字は、意匠登録を受けようとする部分を構成しない。
この意匠をJ-PlatPat(特許庁公式サイト)で参照する
関連意匠
パイオニア スクエア ブランズ,インコーポレイテッド
キーボード付き携帯用電子機器用ケース
2日前
メタ プラットフォームズ テクノロジーズ, リミテッド ライアビリティ カンパニー
眼鏡
5か月前
デシブルズ エルエルシー
耳栓
4か月前
ボーズ・コーポレーション
取手
8か月前
メタ プラットフォームズ テクノロジーズ, リミテッド ライアビリティ カンパニー
眼鏡
5か月前
深せん市しん尼達科技有限公司
マウス
1か月前
株式会社キングジム
拡声器
6か月前
日本航空電子工業株式会社
教示器
7か月前
日本電気株式会社
認証機
1か月前
深せん市新嶺南電子科技有限公司
ラジオ
1か月前
マシモ・コーポレイション
ケース
10か月前
パナソニックIPマネジメント株式会社
警報器
6か月前
有限会社シーガル
取付具
14日前
深セン市前海手絵科技文化有限公司
翻訳機
3か月前
貝美股分有限公司
支持台
9か月前
株式会社熊平製作所
認証機
2か月前
日本航空電子工業株式会社
教示器
22日前
NECプラットフォームズ株式会社
電話機
2か月前
NECプラットフォームズ株式会社
電話機
2か月前
有限会社シーガル
取付具
14日前
日本電気株式会社
認証機
1か月前
深せん市しん尼達科技有限公司
マウス
4か月前
日本電気株式会社
認証機
4か月前
日本電気株式会社
認証機
4か月前
広州芯辰科技有限公司
翻訳機
1か月前
株式会社ナカヨ
電話機
5か月前
ラディウス株式会社
イヤホン
1か月前
東芝テック株式会社
プリンタ
9か月前
三星電子株式会社
モニター
9か月前
三星電子株式会社
モニター
9か月前
三星電子株式会社
モニター
9か月前
サラヤ株式会社
イヤホン
1か月前
キヤノン電子株式会社
スキャナ
9か月前
キヤノン電子株式会社
スキャナ
9か月前
東芝テック株式会社
プリンタ
9か月前
東芝テック株式会社
プリンタ
9か月前
続きを見る
他の意匠を見る