TOP
|
特許
|
意匠
|
商標
意匠ウォッチ
Twitter
他の意匠を見る
発行日
2025-10-21
公報種別
意匠公報(S)
登録番号
1810917
登録日
2025-10-10
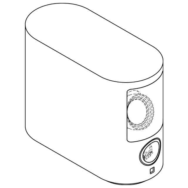
意匠に係る物品
認証機
意匠分類
H7
-130(電子情報入出力機器)
出願番号
2025005147
出願日
2025-03-14
意匠権者
日本電気株式会社
,
NEC CORPORATION
代理人
個人
意匠に係る物品の説明
本物品は、人の入退出を管理するゲート等に設置される「認証機」であって、カメラで撮影した画像を用いて通行者本人の顔認証を行うものである。
意匠の説明
実線で表した部分は部分意匠として意匠登録を受けようとする部分である。「透明部を示す参考斜視図」中、斜線を施したカメラ部及び赤外線照射部の前面パネルは透明である。「使用状態を示す参考図1」及び「使用状態を示す参考図2」は、本物品がゲートに設置された状態の一例を示すものである。
意匠ウォッチbot のツイートを見る
この意匠をJ-PlatPat(特許庁公式サイト)で参照する
関連意匠
日本電気株式会社
情報端末機
4か月前
日本電気株式会社
情報端末機
4か月前
日本電気株式会社
情報端末機
4か月前
日本電気株式会社
情報端末機
4か月前
日本電気株式会社
情報端末機
4か月前
日本電気株式会社
情報端末機
4か月前
日本電気株式会社
情報端末機
4か月前
日本電気株式会社
情報端末機
4か月前
日本電気株式会社
カメラ
3か月前
日本電気株式会社
半導体素子
2か月前
日本電気株式会社
認証機
4か月前
日本電気株式会社
認証機
1か月前
日本電気株式会社
認証機
1か月前
日本電気株式会社
認証機
4か月前
日本電気株式会社
半導体素子
2か月前
日本電気株式会社
認証用ゲート
3か月前
日本電気株式会社
認証ゲート
2か月前
日本電気株式会社
認証ゲート
2か月前
日本電気株式会社
認証ゲート
2か月前
日本電気株式会社
販売時点情報管理用金銭登録機
1か月前
日本電気株式会社
オフィスエントランスの内装
2か月前
ボーズ・コーポレーション
取手
8か月前
メタ プラットフォームズ テクノロジーズ, リミテッド ライアビリティ カンパニー
眼鏡
5か月前
デシブルズ エルエルシー
耳栓
4か月前
メタ プラットフォームズ テクノロジーズ, リミテッド ライアビリティ カンパニー
眼鏡
5か月前
日本電気株式会社
認証機
4か月前
貝美股分有限公司
支持台
9か月前
日本電気株式会社
認証機
1か月前
深せん市新嶺南電子科技有限公司
ラジオ
1か月前
深せん市しん尼達科技有限公司
マウス
1か月前
パナソニックIPマネジメント株式会社
警報器
6か月前
株式会社熊平製作所
認証機
2か月前
日本電気株式会社
認証機
1か月前
株式会社キングジム
拡声器
6か月前
NECプラットフォームズ株式会社
電話機
2か月前
深セン市前海手絵科技文化有限公司
翻訳機
3か月前
続きを見る
他の意匠を見る