TOP
|
特許
|
意匠
|
商標
意匠ウォッチ
Twitter
他の意匠を見る
発行日
2025-10-10
公報種別
意匠公報(S)
登録番号
1810418
登録日
2025-10-02
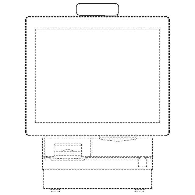
意匠に係る物品
販売時点情報管理用金銭登録機
意匠分類
J4
-610(事務用機械器具)
出願番号
2025005149
出願日
2025-03-14
意匠権者
日本電気株式会社
,
NEC CORPORATION
,
ステアリテール株式会社
代理人
個人
意匠に係る物品の説明
意匠の説明
実線で示した部分は部分意匠として登録を受けようとする部分である。「参考斜視図」中、斜線を施した部分は透光性を有する。
意匠ウォッチbot のツイートを見る
この意匠をJ-PlatPat(特許庁公式サイト)で参照する
関連意匠
日本電気株式会社
情報端末機
4か月前
日本電気株式会社
情報端末機
4か月前
日本電気株式会社
情報端末機
4か月前
日本電気株式会社
情報端末機
4か月前
日本電気株式会社
情報端末機
4か月前
日本電気株式会社
情報端末機
4か月前
日本電気株式会社
情報端末機
4か月前
日本電気株式会社
情報端末機
4か月前
日本電気株式会社
カメラ
3か月前
日本電気株式会社
半導体素子
2か月前
日本電気株式会社
認証機
4か月前
日本電気株式会社
認証機
1か月前
日本電気株式会社
認証機
1か月前
日本電気株式会社
認証機
4か月前
日本電気株式会社
半導体素子
2か月前
日本電気株式会社
認証用ゲート
3か月前
日本電気株式会社
認証ゲート
2か月前
日本電気株式会社
認証ゲート
2か月前
日本電気株式会社
認証ゲート
2か月前
日本電気株式会社
販売時点情報管理用金銭登録機
1か月前
日本電気株式会社
オフィスエントランスの内装
2か月前
東芝テック株式会社
金銭登録機
3か月前
東芝テック株式会社
金銭登録機
2か月前
日本金銭機械株式会社
硬貨処理装置
9か月前
日本金銭機械株式会社
紙幣処理装置
5か月前
ローレルバンクマシン株式会社
商品券読取装置
3か月前
東芝テック株式会社
金銭登録機用什器
9か月前
東芝テック株式会社
販売時点情報管理用金銭登録機
8か月前
東芝テック株式会社
販売時点情報管理用金銭登録機
9か月前
東芝テック株式会社
販売時点情報管理用金銭登録機
9か月前
東芝テック株式会社
販売時点情報管理用金銭登録機
9か月前
東芝テック株式会社
販売時点情報管理用金銭登録機
9か月前
東芝テック株式会社
販売時点情報管理用金銭登録機
9か月前
東芝テック株式会社
販売時点情報管理用金銭登録機
9か月前
東芝テック株式会社
販売時点情報管理用金銭登録機
8か月前
東芝テック株式会社
販売時点情報管理用金銭登録機
1か月前
続きを見る
他の意匠を見る