TOP
|
特許
|
意匠
|
商標
意匠ウォッチ
Twitter
他の意匠を見る
発行日
2025-02-17
公報種別
意匠公報(S)
登録番号
1791290
登録日
2025-02-06
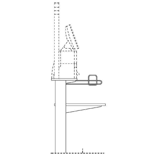
意匠に係る物品
販売時点情報管理用金銭登録機
意匠分類
J4
-610(事務用機械器具)
出願番号
2024017490
出願日
2024-08-26
意匠権者
東芝テック株式会社
,
Toshiba Tec Kabushiki Kaisha
代理人
個人
,
個人
意匠に係る物品の説明
意匠の説明
実線で表した部分が、部分意匠として意匠登録を受けようとする部分である。
この意匠をJ-PlatPat(特許庁公式サイト)で参照する
関連意匠
東芝テック株式会社
選択用画像
5か月前
東芝テック株式会社
選択用画像
5か月前
東芝テック株式会社
情報入力用画像
5か月前
東芝テック株式会社
情報入力用画像
5か月前
東芝テック株式会社
情報入力用画像
5か月前
東芝テック株式会社
商品登録用画像
5か月前
東芝テック株式会社
商品登録用画像
5か月前
東芝テック株式会社
情報入力用画像
5か月前
東芝テック株式会社
情報入力用画像
5か月前
東芝テック株式会社
アイコン用画像
5か月前
東芝テック株式会社
アイコン用画像
5か月前
東芝テック株式会社
アイコン用画像
5か月前
東芝テック株式会社
アイコン用画像
6か月前
東芝テック株式会社
アイコン用画像
6か月前
東芝テック株式会社
アイコン用画像
6か月前
東芝テック株式会社
アイコン用画像
6か月前
東芝テック株式会社
通知表示用画像
7か月前
東芝テック株式会社
アイコン用画像
6か月前
東芝テック株式会社
アイコン用画像
6か月前
東芝テック株式会社
アイコン用画像
6か月前
東芝テック株式会社
アイコン用画像
6か月前
東芝テック株式会社
アイコン用画像
6か月前
東芝テック株式会社
異常対応用画像
7か月前
東芝テック株式会社
商品登録用画像
7か月前
東芝テック株式会社
音量調節用画像
7か月前
東芝テック株式会社
状況確認用画像
5か月前
東芝テック株式会社
アイコン用画像
6か月前
東芝テック株式会社
アイコン用画像
5か月前
東芝テック株式会社
アイコン用画像
5か月前
東芝テック株式会社
商品登録用画像
7か月前
東芝テック株式会社
アイコン用画像
5か月前
東芝テック株式会社
アイコン用画像
5か月前
東芝テック株式会社
アイコン用画像
2か月前
東芝テック株式会社
アイコン用画像
5か月前
東芝テック株式会社
アイコン用画像
5か月前
東芝テック株式会社
アイコン用画像
5か月前
続きを見る
他の意匠を見る