TOP
|
特許
|
意匠
|
商標
意匠ウォッチ
Twitter
他の意匠を見る
発行日
2025-11-19
公報種別
意匠公報(S)
登録番号
1813157
登録日
2025-11-11
意匠に係る物品
バッグ等持ち手用チェーンの保護機能付き調節具
意匠分類
B9
-1400(衣服及び身の回り品汎用部品及び付属品)
出願番号
2025002903
出願日
2025-02-17
意匠権者
株式会社インパクト
代理人
弁理士法人OMNI国際特許事務所
,
個人
意匠に係る物品の説明
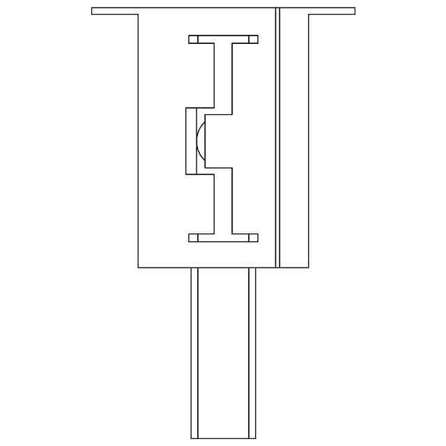
本願意匠に係る物品は、バッグ等持ち手用チェーンの保護機能付き調節具である。使用状態を表す参考図1に示すように、本物品は、バッグ等のフラップの内側に取り付けることができる。またその際、使用状態を表す参考図2に示すように、持ち手用チェーンの一部を収容するように着脱可能に備え付け、持ち手用チェーンの長さを調節することができる。さらに、使用状態を表す参考図3に示すように、本物品が持ち手用チェーンとフラップの端部との間に介挿することで、持ち手用チェーンがフラップの端部に直接接触して擦り切れ、損傷するのを防止することもできる。
意匠の説明
左側面図は、右側面図と同一に表れるため省略する。
この意匠をJ-PlatPat(特許庁公式サイト)で参照する
関連意匠
株式会社インパクト
写真立て
11日前
株式会社インパクト
インナーバッグ
9か月前
株式会社インパクト
バッグ用中敷き機能付き底板具
10か月前
株式会社インパクト
バッグ等持ち手用チェーンの保護機能付き調節具
5日前
C&C株式会社
ビーズ
4日前
個人
服飾品
10か月前
株式会社カミオジャパン
留め具
9か月前
株式会社久永製作所
ゲンコ
6か月前
チューンズ デザイン エルエルシー
ビーズ
9か月前
個人
ボタン
1か月前
個人
安全ピン
1か月前
株式会社アイリス
バックル
12か月前
YKK株式会社
バックル
6か月前
コチネレ エス.ピー.エー
バックル
7か月前
コチネレ エス.ピー.エー
バックル
7か月前
株式会社アイリス
紐留め具
7か月前
株式会社TASAKI
靴用装飾具
9か月前
株式会社MAENI
接続リング
19日前
モリト株式会社
紐の連結具
8か月前
沃倫勒夫(香港)有限公司
ベルトの金具
7か月前
沃倫勒夫(香港)有限公司
ベルトの金具
7か月前
HERMES SELLIER (Societe par actions simplifiee)
Buckle
7か月前
沃倫勒夫(香港)有限公司
ベルトの金具
7か月前
モリト株式会社
衣服用調節具
6か月前
伊貝斯国際控股有限公司
保護スリーブ
7か月前
モリト株式会社
衣服用ボタン
7か月前
HERMES SELLIER (Societe par actions simplifiee)
Buckle
7か月前
HERMES SELLIER (Societe par actions simplifiee)
Buckle
7か月前
モリト株式会社
グラブホルダ
7か月前
ジョシュア マシュー ワーナー
留め金ビーズ
6か月前
個人
ボタン掛け具
8か月前
CARTIER INTERNATIONAL AG
Buckle
9か月前
株式会社アイリス
テープ留め具
9か月前
GIANVITO ROSSI S.R.L.
Buckle
11か月前
ジョシュア マシュー ワーナー
留め金ビーズ
6か月前
JANI INTERNATIONAL PTE. LTD.
Buckle
7か月前
続きを見る
他の意匠を見る