TOP
|
特許
|
意匠
|
商標
意匠ウォッチ
Twitter
他の意匠を見る
発行日
2025-11-10
公報種別
意匠公報(S)
登録番号
1812445
登録日
2025-10-30
意匠に係る物品
配線保護筒用可動ガイドアタッチメント
意匠分類
M2
-39(配線・配管用管、管継ぎ手、バルブ等)
出願番号
2025007024
出願日
2025-03-12
意匠権者
個人
代理人
意匠に係る物品の説明
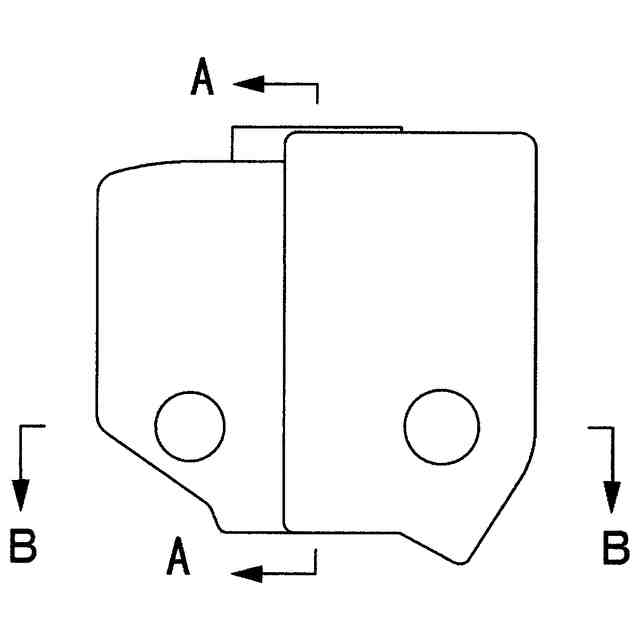
本意匠に係る物品は、機械本体上を往復移動自在な可動部を設けた主に工作機械において、機械本体と可動部の間で電力、信号、エアーや油等の液体を供給したり伝達する配線や配菅を挿通して保護する、複数のブロックを連結して形成した配線保護筒の各ブロックの側面に配線筒部の往復運動を、より円滑にガイドにするためのアタッチメントであり、使用状態を示す参考図に示す様に、各ブロックの両側部下部にある突出部が、本意匠に係る物品の下部に表した溝内に、各ブロックの両側上部にあるT字状凹部内に、本意匠に係る物品の上部に表したT字部が夫々嵌まり込む様にして取り付けられその背面に配線保護筒の可動をより円滑にガイドすることを可能にしたものである。
意匠の説明
この意匠をJ-PlatPat(特許庁公式サイト)で参照する
関連意匠
株式会社タブチ
水栓
8か月前
SANEI株式会社
水栓
7か月前
株式会社タブチ
水栓
8か月前
株式会社KVK
水栓
2か月前
株式会社KVK
水栓
2か月前
株式会社KVK
給水栓
5か月前
株式会社水道技術開発機構
管継手
4か月前
株式会社KVK
給水栓
2か月前
株式会社藤井合金製作所
ガス栓
11か月前
株式会社ホーシン
養生蓋
11か月前
株式会社タブチ
止水栓
11か月前
株式会社タブチ
止水栓
11か月前
株式会社鷺宮製作所
電動弁
11か月前
株式会社KVK
吐水口
2か月前
株式会社KVK
給水栓
5か月前
株式会社KVK
給水栓
5か月前
株式会社水道技術開発機構
管継手
4か月前
株式会社竹村製作所
給水栓
1か月前
株式会社KVK
給水栓
2か月前
株式会社オンダ製作所
管継手
7か月前
ノーラエンジニアリング株式会社
管継手
10か月前
株式会社KVK
給水栓
10か月前
株式会社不二工機
電動弁
9か月前
株式会社不二工機
電動弁
9か月前
未来工業株式会社
管継手
2か月前
株式会社KVK
給水栓
10か月前
株式会社KVK
給水栓
10か月前
株式会社KVK
給水栓
10か月前
ニプロ株式会社
結束具
2か月前
株式会社竹村製作所
給水栓
1か月前
大阪瓦斯株式会社
管継手
4か月前
SMC株式会社
管継手
6か月前
株式会社タブチ
管継手
4か月前
TOTO株式会社
給水栓
2か月前
株式会社KVK
給水栓
5か月前
株式会社KVK
給水栓
10か月前
続きを見る
他の意匠を見る