TOP
|
特許
|
意匠
|
商標
意匠ウォッチ
Twitter
他の意匠を見る
発行日
2025-10-31
公報種別
意匠公報(S)
登録番号
1811974
登録日
2025-10-23
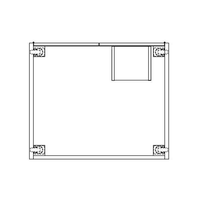
意匠に係る物品
油煙捕集機能付き調理台
意匠分類
D5
-1220(厨房設備用品及び衛生設備用品)
出願番号
2025008846
出願日
2025-05-02
意匠権者
富士工業株式会社
代理人
意匠に係る物品の説明
本物品は、載置台の上に加熱調理器を設置し、調理時に加熱調理器から排出される油煙を吸気口から吸込み、フィルタで浄化した後に機外に排出する油煙捕集機能付き調理台である。
意匠の説明
実線で表された部分が、部分意匠として意匠登録を受けようとする部分である。「内部構造を省略したA-A線断面図」を含めて意匠登録を受けようとする部分を特定している。左側面図は右側面図と対称に表れるので省略する。
意匠ウォッチbot のツイートを見る
この意匠をJ-PlatPat(特許庁公式サイト)で参照する
関連意匠
富士工業株式会社
建築用装飾板
6か月前
富士工業株式会社
冷蔵庫
3か月前
富士工業株式会社
レンジフード
4か月前
富士工業株式会社
レンジフード
4か月前
富士工業株式会社
空気浄化装置用油受け
9か月前
富士工業株式会社
空気浄化装置用フィルタ
9日前
富士工業株式会社
空気浄化装置用フィルタ
9日前
富士工業株式会社
空気浄化装置用フィルタ
14日前
富士工業株式会社
空気浄化装置用フィルタ
14日前
富士工業株式会社
空気浄化装置用フィルタ
14日前
富士工業株式会社
空気浄化装置用フィルタ
14日前
富士工業株式会社
空気浄化装置用フィルタ
14日前
富士工業株式会社
空気浄化装置用フィルタ
4か月前
富士工業株式会社
油煙捕集機能付き調理台
1か月前
TOTO株式会社
浴槽
10か月前
株式会社LIXIL
浴槽
6か月前
クリナップ株式会社
浴槽
3か月前
クリナップ株式会社
浴槽
3か月前
株式会社S.P.M
浴槽
3か月前
積水ホームテクノ株式会社
浴槽
3か月前
株式会社S.P.M
浴槽
3か月前
株式会社S.P.M
浴槽
7か月前
株式会社S.P.M
浴槽
10か月前
株式会社S.P.M
浴槽
1か月前
オージー技研株式会社
浴槽
10か月前
クリナップ株式会社
浴槽
3か月前
クリナップ株式会社
浴槽
9か月前
TOTO株式会社
浴槽
24日前
クリナップ株式会社
浴槽
9か月前
クリナップ株式会社
浴槽
9か月前
クリナップ株式会社
浴槽
9か月前
クリナップ株式会社
浴槽
9か月前
クリナップ株式会社
浴槽
9か月前
アイカ工業株式会社
洗面台
1か月前
日本興業株式会社
立水栓
2か月前
日本興業株式会社
立水栓
2か月前
続きを見る
他の意匠を見る