TOP
|
特許
|
意匠
|
商標
意匠ウォッチ
Twitter
他の意匠を見る
発行日
2025-10-29
公報種別
意匠公報(S)
登録番号
1811794
登録日
2025-10-21
意匠に係る物品
トランス
意匠分類
H2
-220(回転電気機械、配電機械器具)
出願番号
2024023674
出願日
2024-11-15
意匠権者
新電元工業株式会社
,
SHINDENGEN ELECTRIC MANUFACTURING CO.,LTD.
代理人
個人
,
個人
,
個人
,
個人
意匠に係る物品の説明
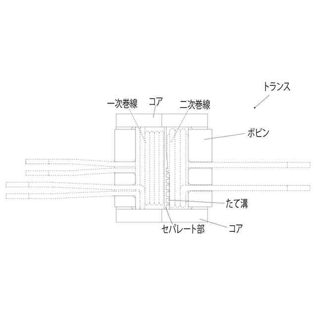
本物品は、ボビンと、ボビンに巻き付けられた巻線と、ボビンの両側に設けられたコアとを備えるトランスである。ボビンは、セパレート部を介して一次側と二次側に区画され、一次側には一次巻線が巻き付けられ、二次側には二次巻線が巻き付けられる。セパレート部の一次側には縦溝が設けられ、縦溝には、放熱樹脂が浸透可能となっている。
意匠の説明
意匠登録を受けようとする部分を実線で、それ以外の部分を破線で表している。
この意匠をJ-PlatPat(特許庁公式サイト)で参照する
関連意匠
新電元工業株式会社
6か月前
新電元工業株式会社
6か月前
新電元工業株式会社
6か月前
新電元工業株式会社
6か月前
新電元工業株式会社
6か月前
新電元工業株式会社
6か月前
新電元工業株式会社
6か月前
新電元工業株式会社
6か月前
新電元工業株式会社
6か月前
新電元工業株式会社
6か月前
新電元工業株式会社
6か月前
新電元工業株式会社
6か月前
新電元工業株式会社
6か月前
新電元工業株式会社
6か月前
新電元工業株式会社
6か月前
新電元工業株式会社
ボビン
6か月前
新電元工業株式会社
ボビン
6か月前
新電元工業株式会社
ボビン
7か月前
新電元工業株式会社
コイル
7か月前
新電元工業株式会社
コイル
7か月前
新電元工業株式会社
ボビン
1か月前
新電元工業株式会社
半導体モジュール
8か月前
新電元工業株式会社
半導体モジュール
8か月前
新電元工業株式会社
半導体モジュール
12か月前
新電元工業株式会社
半導体モジュール
12か月前
新電元工業株式会社
半導体モジュール
12か月前
新電元工業株式会社
チョークコイル
2か月前
新電元工業株式会社
トランス
26日前
新電元工業株式会社
電力変換器
4か月前
新電元工業株式会社
電力変換器
4か月前
新電元工業株式会社
トランス
26日前
新電元工業株式会社
電気自動車用充放電器
4か月前
新電元工業株式会社
電気自動車用充放電器
4か月前
新電元工業株式会社
電気自動車用充放電器
4か月前
株式会社CIO
充電器
8か月前
深せん市藍禾技術有限公司
充電器
10か月前
続きを見る
他の意匠を見る