TOP
|
特許
|
意匠
|
商標
意匠ウォッチ
Twitter
他の意匠を見る
発行日
2025-10-27
公報種別
意匠公報(S)
登録番号
1811504
登録日
2025-10-17
意匠に係る物品
工具収納用腰袋
意匠分類
K1
-51(利器及び工具)
出願番号
2025005048
出願日
2025-03-13
意匠権者
株式会社長谷川工業所
代理人
個人
意匠に係る物品の説明
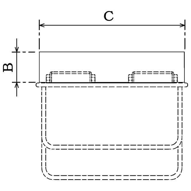
本物品は、「使用状態を示す参考図」に図示したように、作業者の腰ベルトに連結して使用する工具収納用腰袋であって、本体背面には、腰袋の背側や底縁が臀部や腿に当たる衝撃を緩和するため、弾性変形するクッション体が設けられている。また、クッション体は、「B-C-D部分参考拡大斜視図1」,「B-C-D部分参考拡大斜視図2」及び「B-C-D部分参考拡大分解図」に示すように、カバー体とベース板で構成された可撓性を有する蒲鉾形状体であり、内部に弾性変形する樹脂板が設けられている。尚、凹状樹脂板は両端の樹脂板を支持し、3つの樹脂板はカバー体を支持する部材である。本物品のクッション体は、幅約19cm,上下長さ約10cm,高さ約4cmである。
意匠の説明
左側面図は右側面図と対称に表われるため省略する。実線で表わされた部分が、部分意匠として意匠登録を受けようとする部分である。
この意匠をJ-PlatPat(特許庁公式サイト)で参照する
関連意匠
株式会社長谷川工業所
雪止め具
1か月前
株式会社長谷川工業所
雪止め具
1か月前
株式会社長谷川工業所
屋根材
11か月前
株式会社長谷川工業所
ベルト連結具
5か月前
株式会社長谷川工業所
工具ホルダー
7か月前
株式会社長谷川工業所
工具収納用腰袋
1か月前
株式会社長谷川工業所
腰袋用クッション体
1か月前
株式会社 セキノワークス
けらば包み用下地金具
8か月前
個人
鏝
4か月前
株式会社ヒカリ
鋏
1か月前
株式会社ローレル・ジャパン
鋏
6か月前
株式会社ワークス松下
定規
5か月前
キング砥石株式会社
砥石
7か月前
株式会社アマダ
金型
7か月前
株式会社アマダ
金型
7か月前
株式会社インダストリーコーワ
ブラシ
6か月前
住友電工ハードメタル株式会社
ドリル
6か月前
明欣國際有限公司
工具箱
1か月前
明欣國際有限公司
工具箱
1か月前
鵜飼洋鋏 株式会社
爪切り
1か月前
住友電工ハードメタル株式会社
ドリル
6か月前
個人
レンチ
1か月前
プラス株式会社
はさみ
9か月前
株式会社カインズ
剪定鋏
9か月前
小林保温工業株式会社
ナイフ
6か月前
株式会社エンジニア
ペンチ
9か月前
株式会社小林工具製作所
ナイフ
6か月前
株式会社近正
はさみ
6か月前
住友電工ハードメタル株式会社
ドリル
2か月前
明欣國際有限公司
工具箱
11か月前
明欣國際有限公司
工具箱
11か月前
伯きん工具股ふん有限公司
レンチ
1か月前
立晏企業有限公司
ノズル
1か月前
ベンチメイド ナイフ カンパニー インコーポレイテッド
ナイフ
6か月前
株式会社大岡製作所
タップ
7か月前
深せん市鹿布戸外用品有限公司
収納箱
11か月前
続きを見る
他の意匠を見る