TOP
|
特許
|
意匠
|
商標
意匠ウォッチ
Twitter
他の意匠を見る
発行日
2025-10-10
公報種別
意匠公報(S)
登録番号
1810477
登録日
2025-10-02
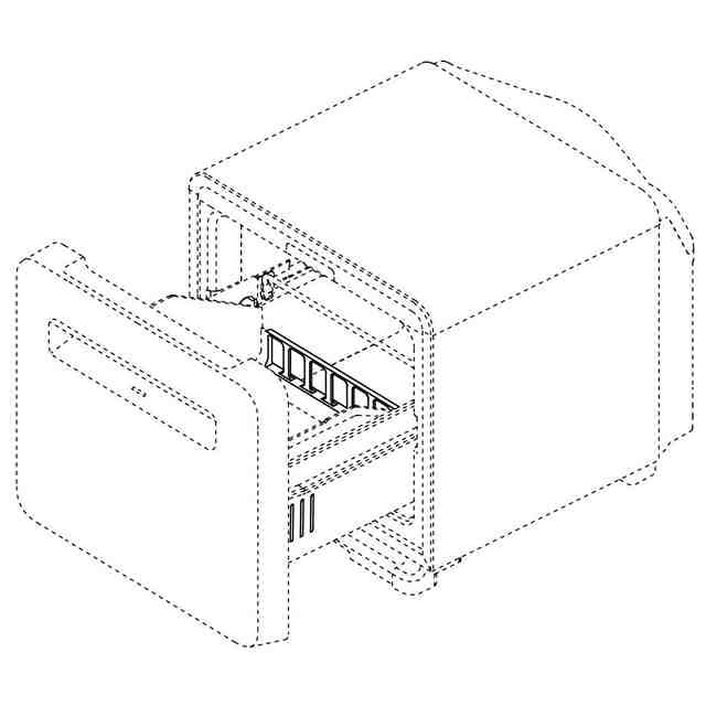
意匠に係る物品
冷蔵庫用収納ケース
意匠分類
C6
-590(飲食用具及び調理用器具)
出願番号
2025008556
出願日
2025-04-30
意匠権者
三菱電機エンジニアリング株式会社
代理人
弁理士法人山王内外特許事務所
意匠に係る物品の説明
本物品は、病室等で使用する小型冷蔵庫の内部に収容する冷蔵庫用収納ケースである。
意匠の説明
(1)実線で表した部分が部分意匠として意匠登録を受けようとする部分である。(2)本部分意匠は、収納ケースの背面に設けた開孔部およびリブ形状と両側面前方側に設けた開口部により、冷却板から下降する冷気の庫内循環対流を促進させて冷却性能の向上を図った冷蔵庫用収納ケースである。
この意匠をJ-PlatPat(特許庁公式サイト)で参照する
関連意匠
三菱電機エンジニアリング株式会社
冷蔵庫
14日前
三菱電機エンジニアリング株式会社
冷蔵庫
14日前
三菱電機エンジニアリング株式会社
ケーブル中継ユニット
10か月前
三菱電機エンジニアリング株式会社
ケーブル中継ユニット
10か月前
三菱電機エンジニアリング株式会社
冷蔵庫用収納ケース
3日前
三菱電機エンジニアリング株式会社
冷蔵庫用収納ケース
3日前
三菱電機エンジニアリング株式会社
プログラマブルコントローラ用変換アダプタ
8か月前
株式会社グラポート
箸
2か月前
個人
箸
7か月前
株式会社雪花
箸
7か月前
個人
箸
8か月前
ユ,ヘ ヨン
箸
26日前
株式会社大野ナイフ製作所
包丁
6か月前
株式会社 ヤクセル
包丁
5か月前
穂岐山刃物株式会社
包丁
3か月前
株式会社CHILL&CRAFT
包丁
6か月前
個人
はし
4か月前
株式会社トヨトミ
五徳
4か月前
株式会社佐竹産業
包丁
6か月前
株式会社貝印刃物開発センター
包丁
11か月前
株式会社佐竹産業
包丁
6か月前
株式会社大野ナイフ製作所
包丁
4か月前
株式会社龍泉刃物
包丁
4か月前
株式会社龍泉刃物
包丁
5か月前
株式会社大野ナイフ製作所
包丁
6か月前
株式会社トヨトミ
五徳
11か月前
さくら製作所株式会社
冷蔵庫
7か月前
日立グローバルライフソリューションズ株式会社
冷蔵庫
4か月前
邵武酷馬貿易有限公司
焚火台
11か月前
日立グローバルライフソリューションズ株式会社
冷蔵庫
4か月前
日立グローバルライフソリューションズ株式会社
冷蔵庫
4か月前
株式会社ビズーコーポレーション
ボトル
11か月前
フクシマガリレイ株式会社
冷蔵庫
10か月前
株式会社ビズーコーポレーション
ボトル
11か月前
シャープ株式会社
冷蔵庫
4か月前
シャープ株式会社
冷蔵庫
4か月前
続きを見る
他の意匠を見る