TOP
|
特許
|
意匠
|
商標
意匠ウォッチ
Twitter
他の意匠を見る
発行日
2025-09-29
公報種別
意匠公報(S)
登録番号
1809430
登録日
2025-09-18
意匠に係る物品
冷蔵庫
意匠分類
C6
-5132(飲食用具及び調理用器具)
出願番号
2025008554
出願日
2025-04-30
意匠権者
三菱電機エンジニアリング株式会社
代理人
弁理士法人山王内外特許事務所
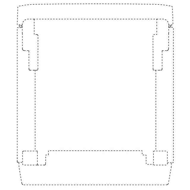
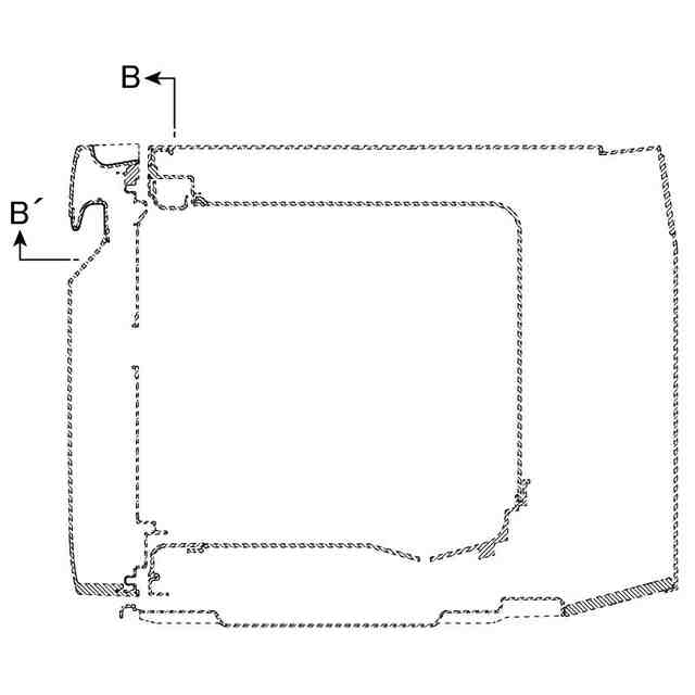
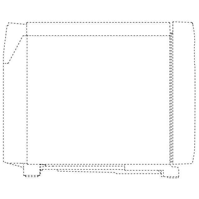
意匠に係る物品の説明
本物品は、病室等で使用する冷蔵庫であり、扉部の正面上部に配置したハンドル部を指で掴んで操作することで扉部を開閉できる小型冷蔵庫である。
意匠の説明
(1)実線で表した部分が部分意匠として意匠登録を受けようとする部分である。(2)本部分意匠は、正面図、平面図、A-A´線切断部端面図、B-B´部分拡大図、参考斜視図に示されるように、扉部の正面上部に配置したハンドル部の指が当たる箇所を丸みを帯びた形状としたものである。
この意匠をJ-PlatPat(特許庁公式サイト)で参照する
関連意匠
三菱電機エンジニアリング株式会社
冷蔵庫
1か月前
三菱電機エンジニアリング株式会社
冷蔵庫
1か月前
三菱電機エンジニアリング株式会社
ケーブル中継ユニット
11か月前
三菱電機エンジニアリング株式会社
ケーブル中継ユニット
11か月前
三菱電機エンジニアリング株式会社
冷蔵庫用収納ケース
1か月前
三菱電機エンジニアリング株式会社
冷蔵庫用収納ケース
1か月前
三菱電機エンジニアリング株式会社
プログラマブルコントローラ用変換アダプタ
10か月前
個人
箸
9か月前
株式会社グラポート
箸
3か月前
ユ,ヘ ヨン
箸
2か月前
株式会社雪花
箸
8か月前
個人
箸
8か月前
株式会社大野ナイフ製作所
包丁
6か月前
株式会社佐竹産業
包丁
8か月前
株式会社コメリ
五徳
22日前
株式会社 ヤクセル
包丁
7か月前
株式会社龍泉刃物
包丁
7か月前
株式会社大野ナイフ製作所
包丁
8か月前
株式会社龍泉刃物
包丁
6か月前
株式会社佐竹産業
包丁
8か月前
株式会社大野ナイフ製作所
包丁
8か月前
個人
はし
5か月前
株式会社CHILL&CRAFT
包丁
8か月前
株式会社トヨトミ
五徳
5か月前
穂岐山刃物株式会社
包丁
5か月前
ホシザキ株式会社
冷蔵庫
2か月前
株式会社コロケット
台什能
6か月前
株式会社ニシムラ
トング
2か月前
富士工業株式会社
冷蔵庫
2か月前
フクシマガリレイ株式会社
製氷機
2か月前
株式会社バシーン・インターナショナル
はさみ
2か月前
さくら製作所株式会社
冷蔵庫
8か月前
三菱電機エンジニアリング株式会社
冷蔵庫
1か月前
アクア株式会社
冷蔵庫
7か月前
アクア株式会社
冷蔵庫
7か月前
ホシザキ株式会社
冷蔵庫
2か月前
続きを見る
他の意匠を見る