TOP
|
特許
|
意匠
|
商標
意匠ウォッチ
Twitter
他の意匠を見る
発行日
2025-10-06
公報種別
意匠公報(S)
登録番号
1810065
登録日
2025-09-26
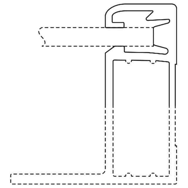
意匠に係る物品
ソーラーパネル
意匠分類
H1
-83(基本的電気素子)
出願番号
2025004450
出願日
2024-07-25
意匠権者
アールイーシー・ソーラー・プライベイト・リミテッド
,
REC Solar Pte. Ltd.
代理人
個人
,
個人
意匠に係る物品の説明
意匠の説明
実線で表された部分が、部分意匠として登録を受けようとする部分である。
この意匠をJ-PlatPat(特許庁公式サイト)で参照する
関連意匠
アールイーシー・ソーラー・プライベイト・リミテッド
縁部材
3か月前
アールイーシー・ソーラー・プライベイト・リミテッド
縁部材
3か月前
アールイーシー・ソーラー・プライベイト・リミテッド
縁部材
3か月前
アールイーシー・ソーラー・プライベイト・リミテッド
縁部材
3か月前
アールイーシー・ソーラー・プライベイト・リミテッド
ソーラーパネル
1か月前
アールイーシー・ソーラー・プライベイト・リミテッド
ソーラーパネル
1か月前
アールイーシー・ソーラー・プライベイト・リミテッド
ソーラーパネル
1か月前
アールイーシー・ソーラー・プライベイト・リミテッド
ソーラーパネル
1か月前
アールイーシー・ソーラー・プライベイト・リミテッド
ソーラーパネル
1か月前
東莞市諾星電子有限公司
電池
7か月前
タイコ エレクトロニクス (シャンハイ) カンパニー リミテッド
端子
8か月前
東莞市楽点照明科技有限公司
電球
23日前
深せん市緑巨能科技発展有限公司
電池
5か月前
タイコ エレクトロニクス (シャンハイ) カンパニー リミテッド
端子
11か月前
タイコ エレクトロニクス (シャンハイ) カンパニー リミテッド
端子
8か月前
リーダーソン ライティング カンパニー リミテッド
電球
9か月前
タイコ エレクトロニクス (シャンハイ) カンパニー リミテッド
端子
8か月前
タイコ エレクトロニクス (シャンハイ) カンパニー リミテッド
端子
8か月前
新電元工業株式会社
ボビン
1か月前
ベンアン エナジー テクノロジー ジャンスー シーオー.,エルティーディー
蓄電池
11か月前
ムーブオン株式会社
充電器
7か月前
日東工業株式会社
端子台
3か月前
日東工業株式会社
端子台
3か月前
株式会社マキタ
蓄電池
5か月前
安克創新科技股ふん有限公司
充電器
11か月前
洪祿有限公司
ボビン
1か月前
ベンアン エナジー テクノロジー ジャンスー シーオー.,エルティーディー
組電池
11か月前
深セン安培時代数字能源科技有限公司
蓄電池
7か月前
日本航空電子工業株式会社
端子台
7か月前
ハーヴェー ハイドローリック エスイー
電磁石
1か月前
ハーヴェー ハイドローリック エスイー
電磁石
1か月前
株式会社CIO
充電器
8か月前
日東工業株式会社
端子台
3か月前
新電元工業株式会社
ボビン
6か月前
株式会社マキタ
蓄電池
1か月前
新電元工業株式会社
ボビン
6か月前
続きを見る
他の意匠を見る