TOP
|
特許
|
意匠
|
商標
意匠ウォッチ
Twitter
他の意匠を見る
発行日
2025-10-06
公報種別
意匠公報(S)
登録番号
1809980
登録日
2025-09-26
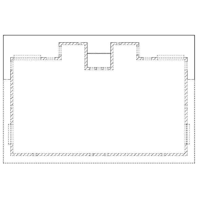
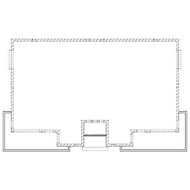
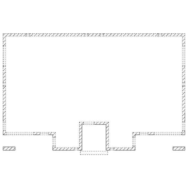
意匠に係る物品
集合住宅
意匠分類
L3
-21(組立て家屋、屋外装備品等)
出願番号
2024021611
出願日
2024-10-17
意匠権者
トヨタホーム株式会社
代理人
個人
,
個人
意匠に係る物品の説明
意匠の説明
実線で表した部分が意匠登録を受けようとする部分である。一点鎖線は、部分意匠として意匠登録を受けようとする部分とその他の部分の境界のみを示す線である。断面図を含めて部分意匠として意匠登録を受けようとする部分を特定している。重量物につき底面図は省略する。透光性を有する部分を示す各参考図において、網掛けを付した部分は透光性を有する。
意匠ウォッチbot のツイートを見る
この意匠をJ-PlatPat(特許庁公式サイト)で参照する
関連意匠
トヨタホーム株式会社
住宅
8か月前
トヨタホーム株式会社
集合住宅
2か月前
トヨタホーム株式会社
集合住宅
2か月前
トヨタホーム株式会社
集合住宅
2か月前
トヨタホーム株式会社
集合住宅
2か月前
株式会社LIXIL
門
2か月前
株式会社LIXIL
門
2か月前
株式会社LIXIL
門
2か月前
株式会社LIXIL
門
2か月前
積水樹脂株式会社
柵
1か月前
株式会社大林組
柵
3か月前
株式会社長谷工コーポレーション
門柱
8か月前
積水ハウス株式会社
住宅
8か月前
積水ハウス株式会社
住宅
8か月前
積水ハウス株式会社
住宅
8か月前
パナソニックIPマネジメント株式会社
門柱
1か月前
住友林業緑化株式会社
門柱
9か月前
株式会社長谷工コーポレーション
門柱
8か月前
旭化成ホームズ株式会社
住宅
11か月前
積水ハウス株式会社
住宅
8か月前
ミサワホーム株式会社
住宅
11か月前
ミサワホーム株式会社
住宅
11か月前
積水ハウス株式会社
住宅
6か月前
戸田建設株式会社
工場
3か月前
積水ハウス株式会社
住宅
9か月前
株式会社大林組
病院
5か月前
積水ハウス株式会社
住宅
6か月前
個人
住宅
1か月前
三協立山株式会社
門扉
8か月前
積水ハウス株式会社
住宅
5か月前
トヨタホーム株式会社
住宅
8か月前
積水ハウス株式会社
住宅
5か月前
積水ハウス株式会社
住宅
5か月前
株式会社LIXIL
門扉
8か月前
石友ホーム株式会社
住宅
11か月前
個人
住宅
11か月前
続きを見る
他の意匠を見る