TOP
|
特許
|
意匠
|
商標
意匠ウォッチ
Twitter
他の意匠を見る
発行日
2025-09-29
公報種別
意匠公報(S)
登録番号
1809446
登録日
2025-09-18
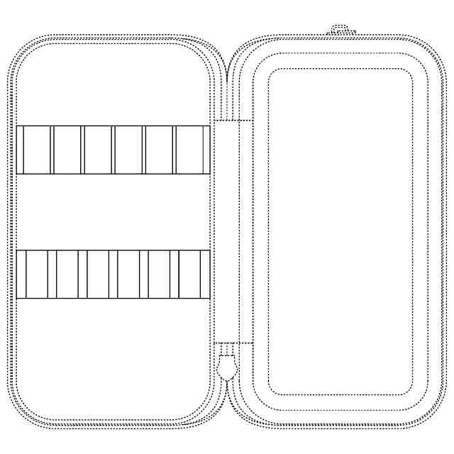
意匠に係る物品
ペンケース
意匠分類
F2
-74210(筆記具、事務用具等)
出願番号
2024023221
出願日
2024-11-08
意匠権者
株式会社リヒトラブ
代理人
弁理士法人桐朋
意匠に係る物品の説明
意匠の説明
実線で表した部分が、部分意匠として意匠登録を受けようとする部分である。
この意匠をJ-PlatPat(特許庁公式サイト)で参照する
関連意匠
株式会社リヒトラブ
載置台用仕切板
1か月前
株式会社リヒトラブ
ペンケース
2か月前
株式会社リヒトラブ
ペンケース
2か月前
株式会社リヒトラブ
小物収納ケース
8か月前
株式会社リヒトラブ
クリアポケットリーフ
5か月前
株式会社リヒトラブ
クリアファイルカバー
5か月前
株式会社リヒトラブ
ファイル用収納フォルダ
5か月前
個人
画鋲
11か月前
ステッドラー ソシエタス ヨーロピア
鉛筆
1か月前
株式会社あかしや
毛筆
5か月前
シヤチハタ株式会社
印判
10か月前
個人
印面
8か月前
株式会社ステップ・ケイ・スリー
定規
4か月前
株式会社BLOW
印判
5か月前
ステッドラー ソシエタス ヨーロピア
鉛筆
1か月前
シヤチハタ株式会社
印判
4か月前
ステッドラー ソシエタス ヨーロピア
鉛筆
1か月前
個人
画鋲
11か月前
一般社団法人未来ものづくり振興会
印判
5か月前
シヤチハタ株式会社
印判
9か月前
シヤチハタ株式会社
印判
9か月前
シヤチハタ株式会社
印判
4か月前
株式会社パイロットコーポレーション
筆記具
5か月前
三菱鉛筆株式会社
ペン皿
9か月前
三菱鉛筆株式会社
ペン皿
9か月前
株式会社ステップ・ケイ・スリー
分度器
10か月前
三菱鉛筆株式会社
ペン皿
9か月前
山田化学株式会社
整理箱
6か月前
ミヤザワ株式会社
メモ台
11か月前
株式会社パイロットコーポレーション
筆記具
5か月前
三菱鉛筆株式会社
筆記具
6か月前
三菱鉛筆株式会社
ペン皿
9か月前
三菱鉛筆株式会社
筆記具
6か月前
コクヨ株式会社
綴じ具
4か月前
個人
点字版
10か月前
セキセイ株式会社
状差し
2か月前
続きを見る
他の意匠を見る