TOP
|
特許
|
意匠
|
商標
意匠ウォッチ
Twitter
他の意匠を見る
発行日
2025-09-24
公報種別
意匠公報(S)
登録番号
1808967
登録日
2025-09-12
意匠に係る物品
コイル部品
意匠分類
H1
-4300(基本的電気素子)
出願番号
2025006217
出願日
2025-03-28
意匠権者
株式会社村田製作所
,
MURATA MANUFACTURING CO.,LTD.
代理人
個人
,
個人
意匠に係る物品の説明
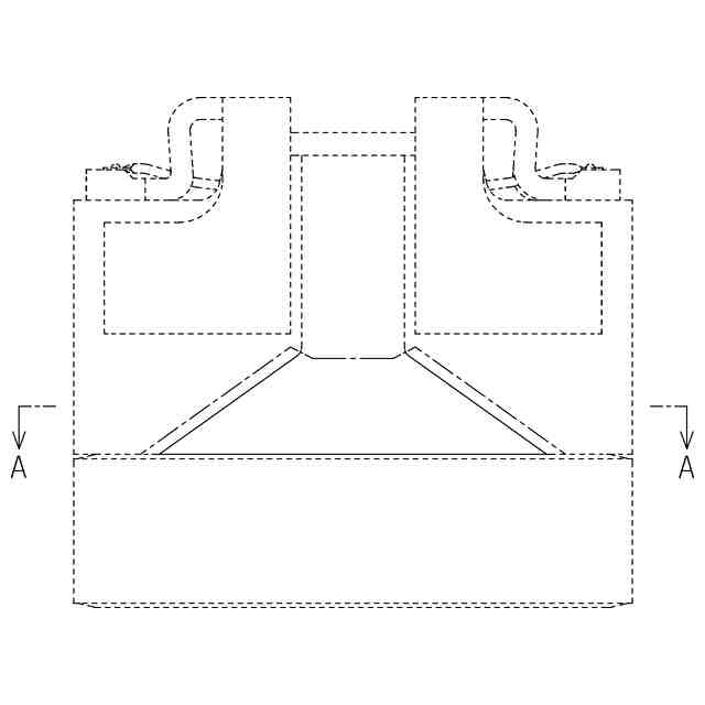
この意匠に係る物品はドラムコアと磁性体板とからなるコイル部品であって、ドラムコアは突出部、電極部、及び巻芯部を有する。突出部のうち登録を受けようとする部分の全幅が、巻芯部よりも幅広に形成されていることで、磁界効率を向上させるものである。
意匠の説明
意匠登録を受けようとする部分を実線で、それ以外の部分を破線で表している。各図において表れる一点鎖線は、登録を受けようとする部分とそれ以外の部分の境界のみを表している。各図に表れる途切れた線は、立体表面の形状を表すためのものである。
この意匠をJ-PlatPat(特許庁公式サイト)で参照する
関連意匠
株式会社村田製作所
コイル部品
2か月前
株式会社村田製作所
コイル部品
2か月前
株式会社村田製作所
コイル部品
2か月前
株式会社村田製作所
生体情報測定器
6か月前
株式会社村田製作所
経路案内機
10か月前
株式会社村田製作所
経路案内機
10か月前
株式会社村田製作所
固体電解コンデンサ
2か月前
タイコ エレクトロニクス (シャンハイ) カンパニー リミテッド
端子
8か月前
タイコ エレクトロニクス (シャンハイ) カンパニー リミテッド
端子
8か月前
タイコ エレクトロニクス (シャンハイ) カンパニー リミテッド
端子
8か月前
東莞市楽点照明科技有限公司
電球
1か月前
リーダーソン ライティング カンパニー リミテッド
電球
9か月前
タイコ エレクトロニクス (シャンハイ) カンパニー リミテッド
端子
12か月前
深せん市緑巨能科技発展有限公司
電池
5か月前
東莞市諾星電子有限公司
電池
7か月前
タイコ エレクトロニクス (シャンハイ) カンパニー リミテッド
端子
8か月前
新電元工業株式会社
ボビン
2か月前
ハーヴェー ハイドローリック エスイー
電磁石
1か月前
ハーヴェー ハイドローリック エスイー
電磁石
1か月前
ムーブオン株式会社
充電器
7か月前
新電元工業株式会社
コイル
7か月前
新電元工業株式会社
ボビン
7か月前
新電元工業株式会社
コイル
7か月前
新電元工業株式会社
ボビン
6か月前
日本航空電子工業株式会社
端子台
7か月前
株式会社マキタ
蓄電池
2か月前
洪祿有限公司
ボビン
2か月前
新電元工業株式会社
ボビン
6か月前
株式会社マキタ
蓄電池
5か月前
テンパール工業株式会社
開閉器
5か月前
テンパール工業株式会社
開閉器
5か月前
テンパール工業株式会社
開閉器
5か月前
日東工業株式会社
端子台
4か月前
日東工業株式会社
端子台
4か月前
日東工業株式会社
端子台
4か月前
安克創新科技股ふん有限公司
充電器
11か月前
続きを見る
他の意匠を見る