TOP
|
特許
|
意匠
|
商標
意匠ウォッチ
Twitter
他の意匠を見る
発行日
2025-09-11
公報種別
意匠公報(S)
登録番号
1808288
登録日
2025-09-03
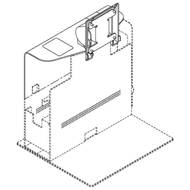
意匠に係る物品
販売時点情報管理用金銭登録機用スタンド
意匠分類
J4
-69(事務用機械器具)
出願番号
2025003804
出願日
2025-02-27
意匠権者
ステアリテール株式会社
代理人
個人
意匠に係る物品の説明
意匠の説明
実線で示した部分は部分意匠として登録を受けようとする部分であり、一点鎖線は意匠登録を受けようとする部分とそれ以外との境界のみを示す線である。
この意匠をJ-PlatPat(特許庁公式サイト)で参照する
関連意匠
ステアリテール株式会社
販売時点情報管理用金銭登録機用スタンド
1か月前
ステアリテール株式会社
販売時点情報管理用金銭登録機用スタンド
1か月前
日本電気株式会社
販売時点情報管理用金銭登録機
9日前
東芝テック株式会社
金銭登録機
11か月前
東芝テック株式会社
金銭登録機
1か月前
東芝テック株式会社
金銭登録機
16日前
日本金銭機械株式会社
紙幣処理装置
4か月前
日本金銭機械株式会社
硬貨処理装置
8か月前
ローレルバンクマシン株式会社
商品券読取装置
2か月前
東芝テック株式会社
金銭登録機用什器
8か月前
東芝テック株式会社
金銭登録機用プリンタ
11か月前
東芝テック株式会社
金銭登録機用プリンタ
11か月前
東芝テック株式会社
販売時点情報管理用金銭登録機
8か月前
東芝テック株式会社
販売時点情報管理用金銭登録機
11か月前
東芝テック株式会社
販売時点情報管理用金銭登録機
11か月前
東芝テック株式会社
販売時点情報管理用金銭登録機
8か月前
東芝テック株式会社
販売時点情報管理用金銭登録機
8か月前
日本電気株式会社
販売時点情報管理用金銭登録機
9日前
東芝テック株式会社
販売時点情報管理用金銭登録機
8か月前
東芝テック株式会社
販売時点情報管理用金銭登録機
8か月前
東芝テック株式会社
販売時点情報管理用金銭登録機
6か月前
東芝テック株式会社
販売時点情報管理用金銭登録機
6か月前
東芝テック株式会社
販売時点情報管理用金銭登録機
6か月前
東芝テック株式会社
販売時点情報管理用金銭登録機
6か月前
東芝テック株式会社
販売時点情報管理用金銭登録機
5か月前
東芝テック株式会社
販売時点情報管理用金銭登録機
1か月前
東芝テック株式会社
販売時点情報管理用金銭登録機
8か月前
ステアリテール株式会社
販売時点情報管理用金銭登録機用スタンド
1か月前
ステアリテール株式会社
販売時点情報管理用金銭登録機用スタンド
1か月前
他の意匠を見る