TOP
|
特許
|
意匠
|
商標
意匠ウォッチ
Twitter
他の意匠を見る
発行日
2025-08-29
公報種別
意匠公報(S)
登録番号
1807433
登録日
2025-08-21
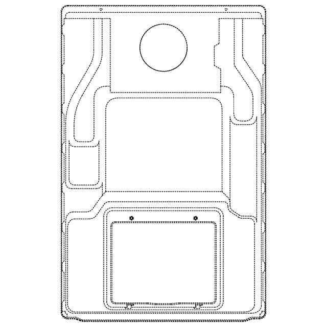
意匠に係る物品
給湯器用カバー
意匠分類
K8
-390(動力機械器具、ポンプ、圧縮機、送風機等)
出願番号
2024026553
出願日
2024-12-23
意匠権者
株式会社ノーリツ
,
NORITZ CORPORATION
代理人
意匠に係る物品の説明
意匠の説明
実線で表した部分が、部分意匠として意匠登録を受けようとする部分である。部分意匠として意匠登録を受けようとする部分はメンテナンスハッチ部下方にある2カ所の突起部を給湯器本体側に差し込んで係合するための穴部である。
この意匠をJ-PlatPat(特許庁公式サイト)で参照する
関連意匠
株式会社ノーリツ
グリル容器
7か月前
株式会社ノーリツ
グリル容器の蓋
7か月前
株式会社ノーリツ
グリル用容器保持具
7か月前
株式会社ノーリツ
ガスこんろ用五徳
7か月前
株式会社ノーリツ
ガスこんろ用五徳
7か月前
株式会社ノーリツ
ガスこんろ用五徳
7か月前
株式会社ノーリツ
ガスこんろ用五徳
7か月前
株式会社ノーリツ
ガスこんろ用五徳
7か月前
株式会社ノーリツ
ガスこんろ用五徳
7か月前
株式会社ノーリツ
ガスこんろ用五徳
7か月前
株式会社ノーリツ
ガスこんろ用五徳
7か月前
株式会社ノーリツ
ガスこんろ用五徳
7か月前
株式会社ノーリツ
ガスこんろ用五徳
5か月前
株式会社ノーリツ
ガスこんろ用五徳
5か月前
株式会社ノーリツ
ガスこんろ用五徳
7か月前
株式会社ノーリツ
ガスこんろ用五徳
7か月前
株式会社ノーリツ
給湯器
2か月前
株式会社ノーリツ
流量調整弁体
10か月前
株式会社ノーリツ
給湯器用カバー
2か月前
株式会社ノーリツ
給湯器用カバー
2か月前
株式会社ノーリツ
給湯器用カバー
2か月前
株式会社ノーリツ
給湯器用カバー
2か月前
株式会社ノーリツ
浴槽洗浄装置用洗浄ユニット
5日前
株式会社ノーリツ
浴槽洗浄装置用洗浄ユニット
5日前
株式会社ノーリツ
浴槽洗浄装置用洗浄ユニット
5日前
株式会社ノーリツ
給湯器用内蔵部品支持板
1か月前
株式会社ノーリツ
ヒートポンプ式給湯器用室外機
1か月前
株式会社ノーリツ
ヒートポンプ式給湯器用貯湯タンク
1か月前
株式会社日本イトミック
湯沸器
26日前
パーパス株式会社
給湯器
11か月前
三菱重工業株式会社
バーナ
17日前
三菱重工サーマルシステムズ株式会社
圧縮機
17日前
株式会社ノーリツ
給湯器
2か月前
三菱重工業株式会社
バーナ
17日前
株式会社日本イトミック
湯沸器
26日前
パーパス株式会社
給湯器
5か月前
続きを見る
他の意匠を見る