TOP
|
特許
|
意匠
|
商標
意匠ウォッチ
Twitter
他の意匠を見る
発行日
2025-04-16
公報種別
意匠公報(S)
登録番号
1796397
登録日
2025-04-08
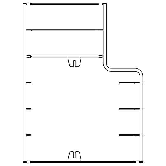
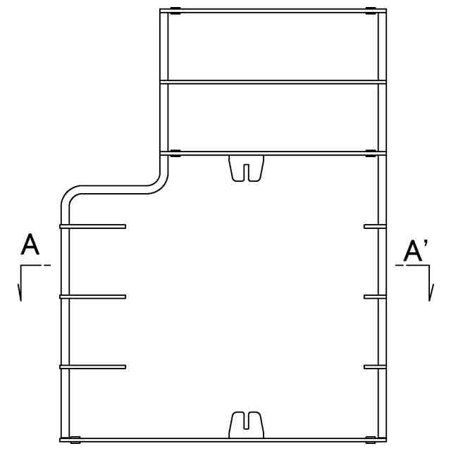
意匠に係る物品
ガスこんろ用五徳
意匠分類
C6
-44911(飲食用具及び調理用器具)
出願番号
2024011922
出願日
2024-06-12
意匠権者
株式会社ノーリツ
,
NORITZ CORPORATION
,
株式会社ハーマン
代理人
意匠に係る物品の説明
意匠の説明
この意匠をJ-PlatPat(特許庁公式サイト)で参照する
関連意匠
株式会社ノーリツ
グリル容器
7か月前
株式会社ノーリツ
グリル容器の蓋
7か月前
株式会社ノーリツ
グリル用容器保持具
7か月前
株式会社ノーリツ
ガスこんろ用五徳
7か月前
株式会社ノーリツ
ガスこんろ用五徳
7か月前
株式会社ノーリツ
ガスこんろ用五徳
7か月前
株式会社ノーリツ
ガスこんろ用五徳
7か月前
株式会社ノーリツ
ガスこんろ用五徳
7か月前
株式会社ノーリツ
ガスこんろ用五徳
7か月前
株式会社ノーリツ
ガスこんろ用五徳
7か月前
株式会社ノーリツ
ガスこんろ用五徳
7か月前
株式会社ノーリツ
ガスこんろ用五徳
7か月前
株式会社ノーリツ
ガスこんろ用五徳
5か月前
株式会社ノーリツ
ガスこんろ用五徳
5か月前
株式会社ノーリツ
ガスこんろ用五徳
7か月前
株式会社ノーリツ
ガスこんろ用五徳
7か月前
株式会社ノーリツ
給湯器
2か月前
株式会社ノーリツ
流量調整弁体
10か月前
株式会社ノーリツ
給湯器用カバー
2か月前
株式会社ノーリツ
給湯器用カバー
2か月前
株式会社ノーリツ
給湯器用カバー
2か月前
株式会社ノーリツ
給湯器用カバー
2か月前
株式会社ノーリツ
浴槽洗浄装置用洗浄ユニット
5日前
株式会社ノーリツ
浴槽洗浄装置用洗浄ユニット
5日前
株式会社ノーリツ
浴槽洗浄装置用洗浄ユニット
5日前
株式会社ノーリツ
給湯器用内蔵部品支持板
1か月前
株式会社ノーリツ
ヒートポンプ式給湯器用室外機
1か月前
株式会社ノーリツ
ヒートポンプ式給湯器用貯湯タンク
1か月前
個人
箸
9か月前
株式会社グラポート
箸
3か月前
ユ,ヘ ヨン
箸
2か月前
個人
箸
8か月前
株式会社雪花
箸
8か月前
株式会社CHILL&CRAFT
包丁
8か月前
株式会社龍泉刃物
包丁
6か月前
株式会社大野ナイフ製作所
包丁
6か月前
続きを見る
他の意匠を見る