TOP
|
特許
|
意匠
|
商標
意匠ウォッチ
Twitter
他の意匠を見る
発行日
2025-08-07
公報種別
意匠公報(S)
登録番号
1805597
登録日
2025-07-30
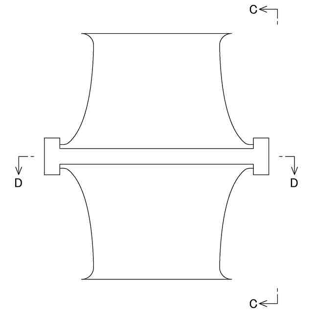
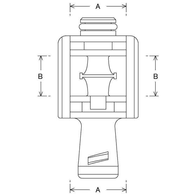
意匠に係る物品
プラスチック栓部材
意匠分類
J7
-46(医療機械器具)
出願番号
2025005709
出願日
2025-03-24
意匠権者
株式会社カネカ
代理人
弁理士法人アスフィ国際特許事務所
意匠に係る物品の説明
本物品は、血液浄化療法に用いられる容器の開口部に取り付けられるプラスチック栓部材である。
意匠の説明
この意匠をJ-PlatPat(特許庁公式サイト)で参照する
関連意匠
株式会社カネカ
アイコン用画像
10か月前
株式会社カネカ
太陽電池
4か月前
株式会社カネカ
断熱材支持具
4か月前
株式会社カネカ
プラスチック容器
12日前
株式会社カネカ
通気制御システム管理用画像
10か月前
株式会社カネカ
通気制御システム管理用画像
10か月前
株式会社カネカ
プラスチック容器
12日前
株式会社カネカ
プラスチック容器
12日前
株式会社カネカ
プラスチック容器
12日前
株式会社カネカ
プラスチック栓部材
2か月前
株式会社カネカ
プラスチック栓部材
2か月前
株式会社カネカ
プラスチック栓部材
2か月前
株式会社カネカ
プラスチック栓部材
2か月前
株式会社カネカ
飲料用ストロー
2か月前
株式会社カネカ
飲料用ストロー
2か月前
株式会社カネカ
飲料用ストロー
2か月前
株式会社カネカ
飲料用ストロー
2か月前
株式会社カネカ
飲料用ストロー
2か月前
株式会社カネカ
飲料用ストロー
2か月前
株式会社カネカ
飲料用ストロー
2か月前
株式会社カネカ
飲食用スプーン
2か月前
株式会社カネカ
飲食用スプーン
2か月前
株式会社カネカ
飲食用フォーク
8か月前
株式会社カネカ
飲食用スプーン
8か月前
株式会社カネカ
飲食用フォーク
8か月前
株式会社カネカ
飲食用スプーン
8か月前
株式会社カネカ
飲食用フォーク
6か月前
株式会社カネカ
太陽電池モジュール付ガラス材
9か月前
株式会社カネカ
太陽電池モジュール付ガラス材
9か月前
株式会社カネカ
通気制御システム用リモートコントローラー
10か月前
株式会社カネカ
通気制御システム用リモートコントローラー
10か月前
雪印ビーンスターク株式会社
錠剤
2か月前
シーク・ウィメンズ・ヘルス・インコーポレイテッド
検鏡
8か月前
シーク・ウィメンズ・ヘルス・インコーポレイテッド
検鏡
8か月前
シーク・ウィメンズ・ヘルス・インコーポレイテッド
検鏡
8か月前
興和株式会社
装具
11か月前
続きを見る
他の意匠を見る