TOP
|
特許
|
意匠
|
商標
意匠ウォッチ
Twitter
他の意匠を見る
発行日
2025-08-07
公報種別
意匠公報(S)
登録番号
1805566
登録日
2025-07-30
意匠に係る物品
油面計付き鉄道車両用歯車箱
意匠分類
K9
-18(産業用機械器具汎用部品及び付属品)
出願番号
2024023389
出願日
2024-11-11
意匠権者
日本製鉄株式会社
代理人
アセンド弁理士法人
意匠に係る物品の説明
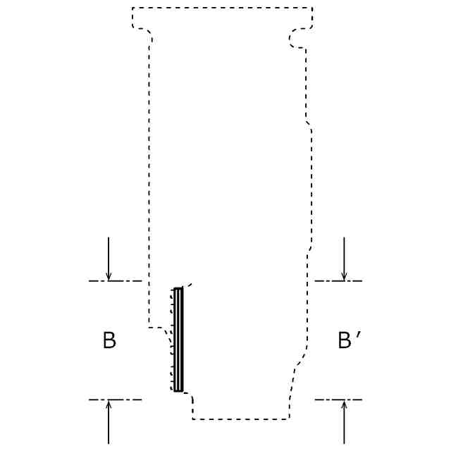
本物品は、鉄道車両に搭載され、主電動機から動力が伝達される小歯車と、車軸が圧入され小歯車と噛み合う大歯車と、を収容する歯車箱であり、内部に貯留される潤滑油を適正な油量で管理するために油面の高さを観察できる油面計を備える。「使用状態を示す参考正面部分拡大図」を参照して、油面計は、歯車箱の正面に形成された開口を塞ぐ透明板と、その透明板を覆う蓋とから構成され、蓋は、ボルトで歯車箱に固定される。蓋は、水平線に対して垂直な方向(鉛直方向)に延在する細長い形状の観察窓を有する。観察窓の両側縁の一部に切り欠きが設けられ、各切り欠きの上端と下端が、油面(図中の二点鎖線)の高さの管理指標となる目盛に相当する。
意匠の説明
実線で表した部分が、意匠登録を受けようとする部分である。
この意匠をJ-PlatPat(特許庁公式サイト)で参照する
関連意匠
日本製鉄株式会社
鋼矢板用連結具
4か月前
日本製鉄株式会社
鋼矢板用連結具
4か月前
日本製鉄株式会社
鋼矢板用連結具
10か月前
日本製鉄株式会社
鋼矢板用連結具
10か月前
日本製鉄株式会社
鉄道車両用連結器の下錠揚げ
1か月前
日本製鉄株式会社
ディンプル鋼管
6か月前
日本製鉄株式会社
ディンプル鋼管
6か月前
日本製鉄株式会社
ディンプル鋼管
6か月前
日本製鉄株式会社
ディンプル鋼管
5か月前
日本製鉄株式会社
ディンプル鋼管
5か月前
日本製鉄株式会社
ディンプル鋼管
6か月前
日本製鉄株式会社
ディンプル鋼管
7か月前
日本製鉄株式会社
高炉用羽口
1か月前
日本製鉄株式会社
高炉用羽口
1か月前
日本製鉄株式会社
高炉用羽口
1か月前
日本製鉄株式会社
高炉用羽口
1か月前
日本製鉄株式会社
高炉用羽口
1か月前
日本製鉄株式会社
高炉用羽口
1か月前
日本製鉄株式会社
高炉用羽口
1か月前
日本製鉄株式会社
高炉用羽口
1か月前
日本製鉄株式会社
高炉用送風管
1か月前
日本製鉄株式会社
高炉用送風管
1か月前
日本製鉄株式会社
高炉用送風管
1か月前
日本製鉄株式会社
高炉用送風管
1か月前
日本製鉄株式会社
高炉用送風管
1か月前
日本製鉄株式会社
高炉用送風管
1か月前
日本製鉄株式会社
油面計付き鉄道車両用歯車箱
3か月前
日本製鉄株式会社
油面計付き鉄道車両用歯車箱
4か月前
日本製鉄株式会社
油面計付き鉄道車両用歯車箱
3か月前
日本製鉄株式会社
油面計付き鉄道車両用歯車箱
3か月前
日本製鉄株式会社
油面計付き鉄道車両用歯車箱
3か月前
日本製鉄株式会社
油面計付き鉄道車両用歯車箱
11か月前
ナブテスコ株式会社
減速機
11か月前
星朋商工株式会社
防振具
8か月前
ナブテスコ株式会社
減速機
3か月前
ナブテスコ株式会社
減速機
11か月前
続きを見る
他の意匠を見る